Operation CHARM: Car repair manuals for everyone.
Manuals through 2025 now available!

Our trusted friends have launched a new website named LEMON, which has newer manuals. It also contains all the CHARM manuals.

LEMON is the spiritual successor to CHARM, I recommend you try it!

Link: lemon-manuals.la or lemon-manuals.org.ua

(Some people have issue connecting. LEMON is investigating. For now, use Firefox or change your DNS server)

Or, hide this message: temporarily or permanently

Information Bus: Service and Repair



Connector H102-1, Pin/Sleeve Replacement

WARNING: Airbag system cables must not be repaired. They are to be replaced in their entirety.

To remove

1. Remove Baffle, driver.
2. Remove the front scuff plates and the lower side panels of the A-pillars.





3. Use a screwdriver to press in the rear catches and remove the bonnet opening lever.





4. Undo the lock clamp.





5. Unplug the upper (female) part of the connector.





6. Remove the connector retaining nuts.





Pin replacement
1. Cut off the cable tie.





2. Remove the secondary catch.
3. Undo the pin catch by pressing in the extraction tool (part no. 85 80 151).





4. Pull out the cable with the pin.
5. Cut of the lead at the pin.





NOTE: For further information on how pins/sleeves are fitted, see Wiring harness repair.

6. If the lead is not long enough, splice it as follows:
6.1. trip the insulation off of the leads.
6.2. Fit a shrink tube with adhesive on the line.
6.3. Fit sleeve (0.5-1.0 sq.mm), using the blue pliers from 86 12 939 Tool box, wiring harness.

NOTE: Leads with 0.35 sq.mm are doubled over and crimped together at both ends.

6.4. Place the shrink tube over the sleeve.
6.5. Heat the shrink tube until it is secured.

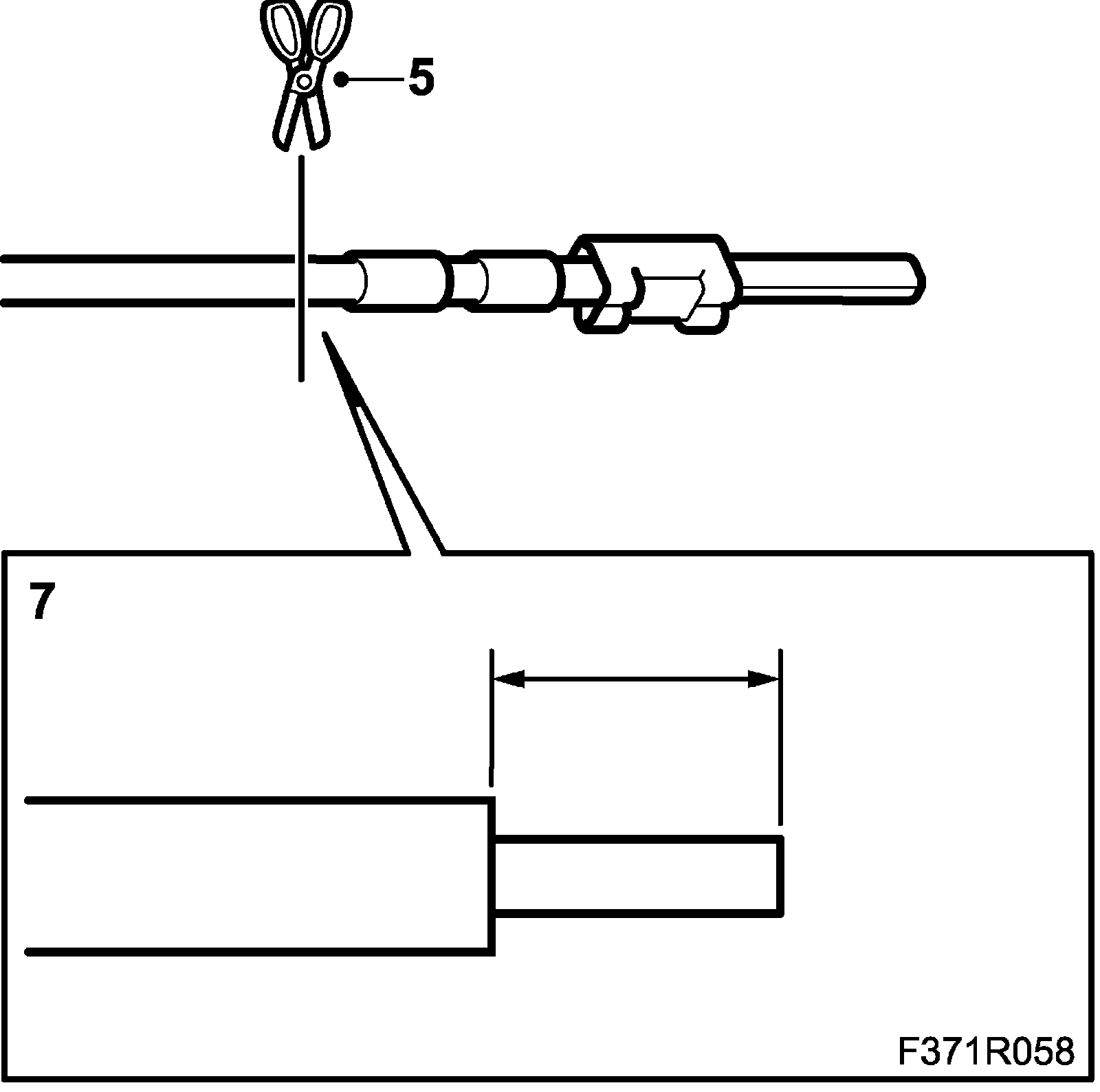
7. Strip 4 mm of the lead's insulation.
8. Search for the connector in the spare parts catalogue/EPC to find the part number of the pin to be used.
9. Fit the pin on the lead using olive green pliers (0.35-0.75 sq.mm) from 86 12 939 Tool box, wiring harness.
10. Check that the stripped lead goes through the entire clamped portion of the pin and that the insulation is properly clamped.





11. Press the pin into the connector.
12. Check that the pin is properly secured.
13. Check that the connector pins are straight.





14. Fit the secondary catch.





15. Secure the leads with a cable tie.

Sleeve replacement.

1. Cut off the cable tie.





2. Remove the secondary catch.
3. Undo the sleeve catch by pressing in the extraction tool (part no. 85 80 151).





4. Pull out the cable with the sleeve.
5. Cut off the lead at the sleeve.





NOTE: For further information on how pins/sleeves are fitted, see Wiring harness repair.

6. If the lead is not long enough, splice it as follows:
6.1. Strip the insulation off of the leads.
6.2. Fit a shrink tube with adhesive on the line.
6.3. Fit sleeve (0.5-1.0 sq.mm), using the blue pliers from 86 12 939 Tool box, wiring harness.

NOTE: Leads with 0.35 sq.mm are doubled over and crimped together at both ends.

6.4. Place the shrink tube over the sleeve.
6.5. Heat the shrink tube until it is secured.

7. Strip 4 mm of the lead's insulation.
8. Search for the connector in the spare parts catalogue/EPC to find the part number of the sleeve to be used.
9. Fit the sleeve on the lead using olive green pliers (0.35-0.75 sq.mm) from 86 12 939 Tool box, wiring harness.
10. Check that the stripped lead goes through the entire clamped portion of the sleeve and that the insulation is properly clamped.





11. Press the sleeve into the connector.
12. Check that the sleeve is properly secured.
13. Check that the sleeve's depth of engagement is the same as the other sleeves in the connector.
14. Fit the secondary catch.





15. Secure the leads with a cable tie.

To fit

1. Fit the connector.





2. Plug in the upper part of the connector and lower the lock clamp.





3. Fit the bonnet opening lever by positioning it and pressing upward.





4. Fit the front scuff plates and the lower side panels of the A-pillars.





5. Fit Baffle, driver.