Operation CHARM: Car repair manuals for everyone.
Manuals through 2025 now available!

Our trusted friends have launched a new website named LEMON, which has newer manuals. It also contains all the CHARM manuals.

LEMON is the spiritual successor to CHARM, I recommend you try it!

Link: lemon-manuals.la or lemon-manuals.org.ua

(Some people have issue connecting. LEMON is investigating. For now, use Firefox or change your DNS server)

Or, hide this message: temporarily or permanently

Compressor Clutch: Service and Repair



Electromagnetic Clutch, Compressor (4-cyl)

To remove

1. Place the car on a lift.







2. Relieve the tension on the multigroove V-belt by compressing and locking the belt tensioner with a 3 mm Allen key.
3. Unplug the connector to the A/C compressor behind the RH headlamp.
4. Unscrew the compressor's ground cable and securing plate from the compressor housing.







5. Raise the car.
6. Remove the front engine cover below the radiator core.







7. Remove the engine's side cover.
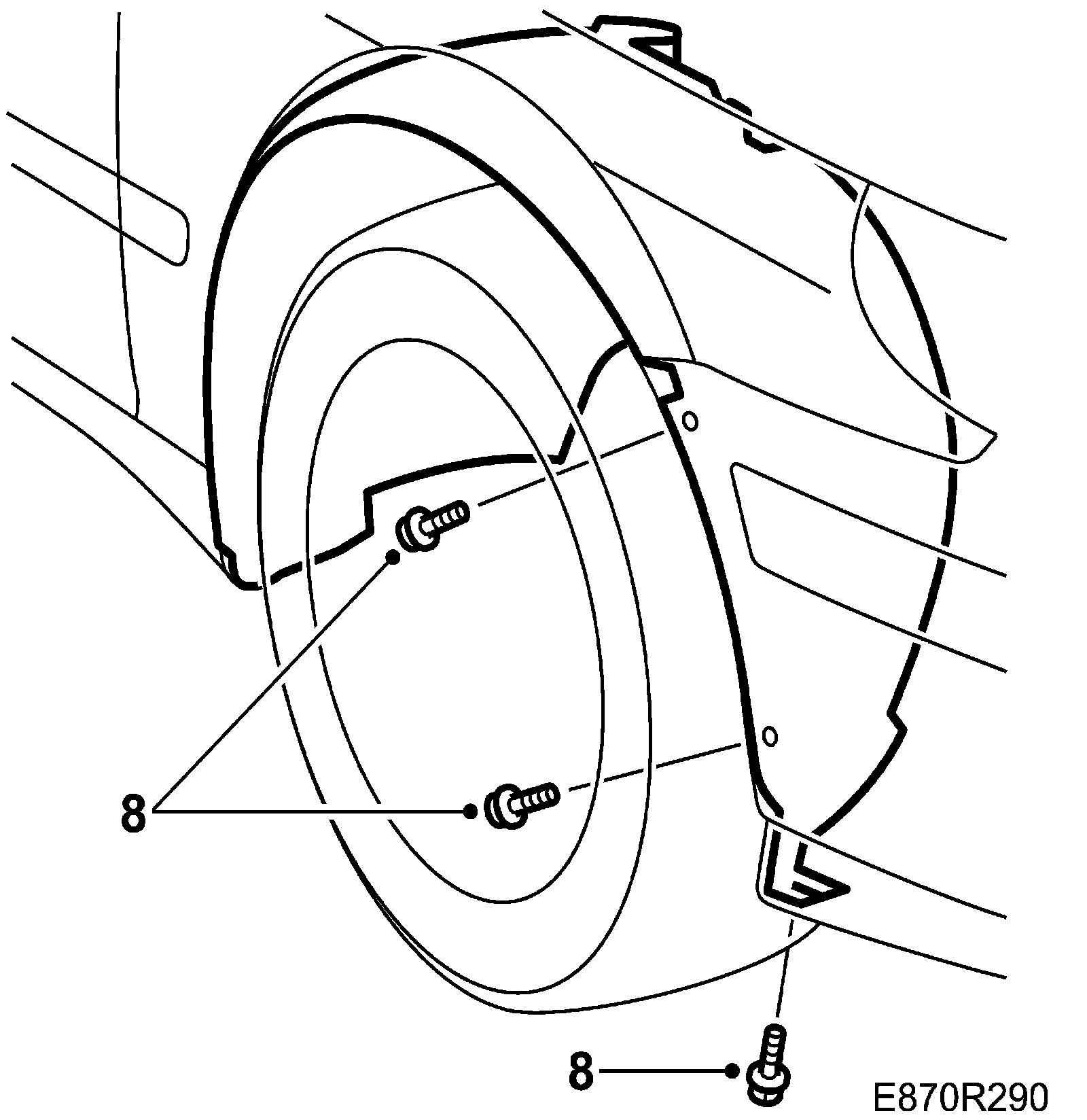
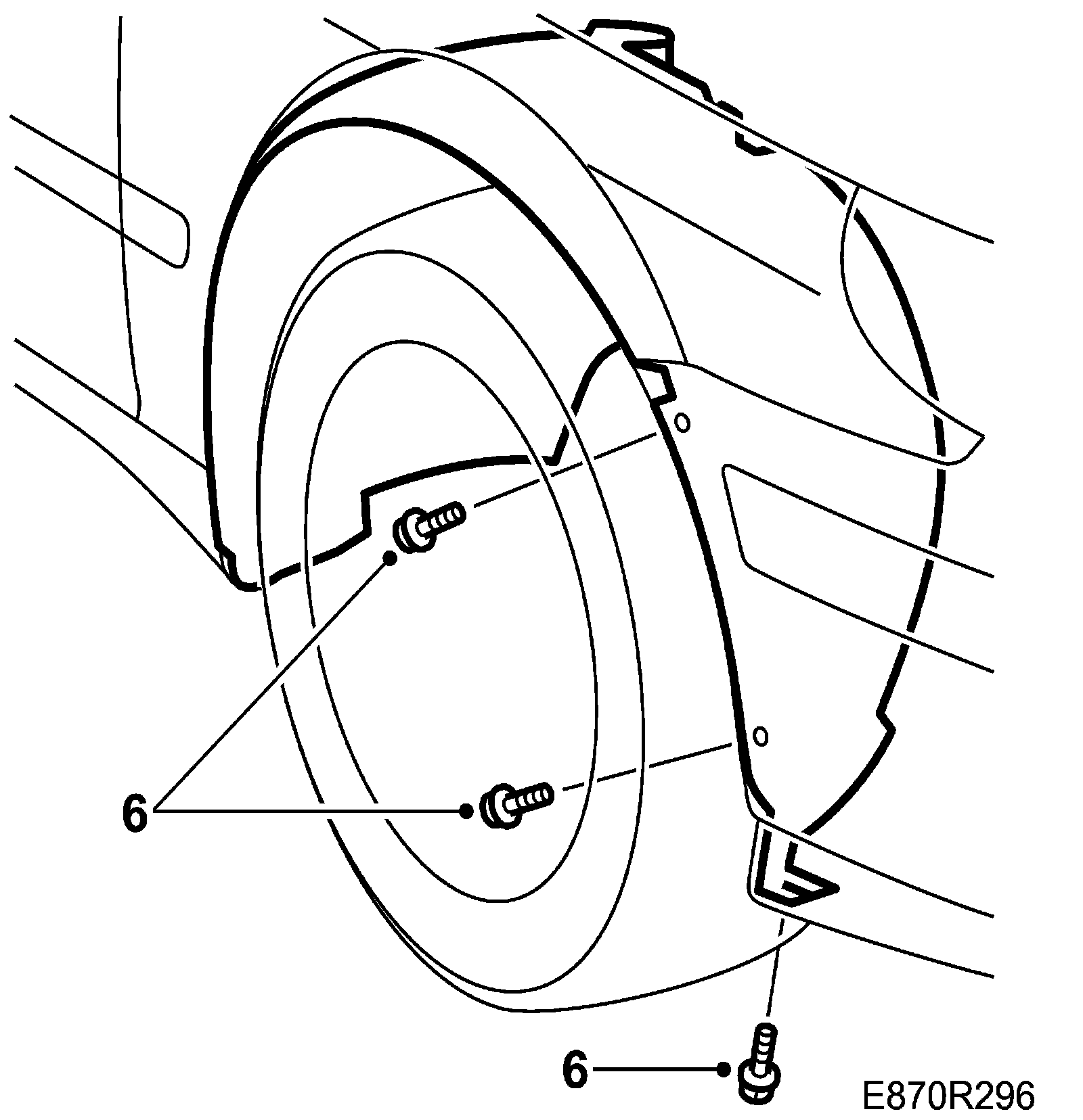
8. Loosen and move the front of the wing liner aside.







9. Remove the multigroove V-belt from the compressor.







10. Remove the driver using a 10 mm spanner and a suitable support. Pull it out from the shaft.
11. Remove the circlip holding the belt pulley and lift it off.







NOTE: If the electromagnetic clutch sticks, tap it with a plastic hammer until it becomes loose.

12. Remove the circlip holding the solenoid winding and lift it off.

NOTE: If the solenoid winding sticks, carefully bend with a screwdriver so that the guide pin releases from the groove.

To fit

1. Set the solenoid winding in place with the guide pin in the groove on the compressor housing. Check that the windings run correctly. Attach the circlip.







2. Fit the belt pulley and attach the circlip.
3. Insert the shims in the driver and fit it on the shaft. Tighten the bolt.
Tightening torque: 13 Nm (9 lbf ft)

4. Check the clearance between the driver and the belt pulley with a feeler gauge.







NOTE: The feeler gauge must be angled to measure the clearance.

The clearance should be 0.5 ± 0.15 mm.

If necessary, adjust the clearance by changing the shims on the compressor shaft.

5. Place the multigroove V-belt on the belt pulley.
Check that the multigroove V-belt is located correctly.







6. Fit the front of the wing liner.







7. Fit the engine's side cover.







8. Fit the front engine cover below the radiator core.
9. Lower the car to the floor.







10. Connect the compressor ground cable and securing plate to the compressor housing.
11. Plug in the connector for the compressor and press it into the holder on the structure/console behind the right-hand headlamp.
12. Release the belt tensioner.