Operation CHARM: Car repair manuals for everyone.
Manuals through 2025 now available!

Our trusted friends have launched a new website named LEMON, which has newer manuals. It also contains all the CHARM manuals.

LEMON is the spiritual successor to CHARM, I recommend you try it!

Link: lemon-manuals.la or lemon-manuals.org.ua

(Some people have issue connecting. LEMON is investigating. For now, use Firefox or change your DNS server)

Or, hide this message: temporarily or permanently

Body Harnesses



Harness Routing Views

Steering Wheel Harness Routing




1 - Steering Wheel Control Switch Assembly - Upper Left
2 - C277
3 - Steering Wheel Control Switch Assembly - Upper Right

Electronic Adjustable Pedals Harness Routing (JF4)




1 - Electronic Adjustable Pedals (EAP) Relay
2 - C225
3 - Electronic Adjustable Pedals (EAP) Assembly

Body Harness Routing




1 - Splice Pack SP306
2 - Center High Mounted Stop Lamp (CHMSL)
3 - C900
4 - S401
5 - G401
6 - C906
7 - C304
8 - Inflatable Restraint Roof Rail Module - Left
9 - Fuse Block - Rear C2
10 - C700
11 - Air Temperature Sensor Assembly - Inside
12 - G302
13 - S302
14 - C317
15 - C500
16 - C311
17 - C306
18 - C314
19 - C318
20 - C203
21 - C202
22 - C220 (U42)
23 - C600
24 - S310
25 - S303
26 - G303
27 - C800
28 - Vehicle Communication Interface Module (VCIM) C1
29 - Vehicle Communication Interface Module (VCIM) C2
30 - Inflatable Restraint Roof Rail Module - Right
31 - S402
32 - Audio Amplifier (UQA) C2
33 - Audio Amplifier (UQA) C1
34 - C907
35 - G402

Seat Belt Pretensioner Harness Routing - Left




1 - Seat Belt Pretensioner - Left
2 - C317

Seat Belt Pretensioner Harness Routing - Right




1 - Seat Belt Pretensioner - Right
2 - C318

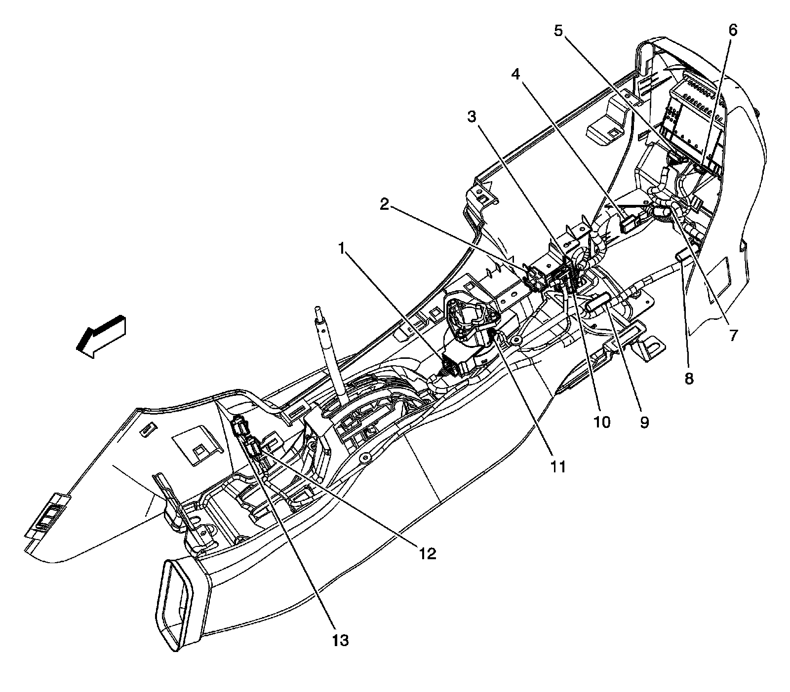
Floor Console Harness Routing




1 - Ignition Switch
2 - Theft Deterrent Control Module
3 - C323
4 - Console Mode Actuator - Auxiliary
5 - HVAC Control Module - Auxiliary
6 - Auxiliary Power Outlet - Rear
7 - S307
8 - S392
9 - S393
10 - C307
11 - Theft Deterrent Exciter Module
12 - Auxiliary Power Outlet - Front
13 - Auxiliary Power Outlet - Front

Rear Defogger Harness Routing (C49)




1 - Rear Window Defogger Grid C1
2 - C905
3 - C904
4 - Rear Window Defogger Grid C2