Operation CHARM: Car repair manuals for everyone.
Manuals through 2025 now available!

Our trusted friends have launched a new website named LEMON, which has newer manuals. It also contains all the CHARM manuals.

LEMON is the spiritual successor to CHARM, I recommend you try it!

Link: lemon-manuals.la or lemon-manuals.org.ua

(Some people have issue connecting. LEMON is investigating. For now, use Firefox or change your DNS server)

Or, hide this message: temporarily or permanently

Suction Screen Replacement



Suction Screen Replacement

Tools Required

J 44551 Suction Screen Kit

Removal Procedure

Important: Suction screens are intended to be installed in the suction hose after a major compressor failure.


1. Remove the A/C compressor hose assembly from the A/C compressor. Refer to Compressor Hose Assembly Replacement (LL8) (Compressor Hose Assembly Replacement (LL8))Compressor Hose Assembly Replacement (LH6) ().




2. Using the J-44551-9 Universal Removal Tool, place the tip of the tool under the inside edge of the compression band of the suction screen and the cushioning fulcrum pad against the open end of the hose or manifold fitting.

Important: Do not damage the end of the hose or manifold.


3. Pry upward on the band and move the tool around the diameter of the screen as necessary to remove the screen.

Installation Procedure

1. Using a caliper that reads to 3 decimal places, measure the ID of the suction hose or manifold suction fitting. To determine the correct size screen for the application, refer to Compressor Suction Screen and Tool Selection Specifications (Compressor Suction Screen and Tool Selection Specifications).




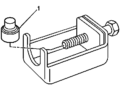
2. Select and install the correct mandrel (1) on the threaded portion of the installation tool bolt:

* The brass Universal Mandrel is for use on hose fittings with a smooth bore where the screen installs flush with the end of the fitting.
* The 11.96 mm (0.471 in) Mandrel is only for the 11.96 mm (0.471 in) screen in hose fittings with an internal hourglass shape where the screen installs at the recessed, reduced diameter point.




3. Install the 11.96 mm (0.471 in) screen in the middle of the reduced diameter point of the fitting.




4. Place the suction hose fitting or suction hose side of the manifold into the installation tool fixture J-44551-5 (3) so it is supported by the tools legs.

Important: Correct placement of the J-44551-5 is critical.


5. Lubricate the A/C suction screen with the applicable refrigerant oil.
6. Align the screen (2), basket first, into the suction hose bore then hand tighten the bolt until contact is made between the hose, screen and tool.
7. Turn the bolt of the installation tool clockwise pressing the screen into the bore until the mandrel shoulder contacts the end of the hose fitting.
8. Unscrew the bolt and remove the installation tool from the hose or manifold.

Important: Clean the surface to be used for attaching the label.


9. Install the J-44551-1 Suction Screen Notification Label.
10. Install the A/C compressor hose assembly to the A/C compressor. Refer to Compressor Hose Assembly Replacement (LL8) (Compressor Hose Assembly Replacement (LL8))Compressor Hose Assembly Replacement (LH6) ().