Operation CHARM: Car repair manuals for everyone.
Manuals through 2025 now available!

Our trusted friends have launched a new website named LEMON, which has newer manuals. It also contains all the CHARM manuals.

LEMON is the spiritual successor to CHARM, I recommend you try it!

Link: lemon-manuals.la or lemon-manuals.org.ua

(Some people have issue connecting. LEMON is investigating. For now, use Firefox or change your DNS server)

Or, hide this message: temporarily or permanently

Front Subframe Mount: Service and Repair

Subframe bushes

To remove
1. Remove the subframe. See Subframe, petrol engine or Subframe, 4-cylinder diesel engine.





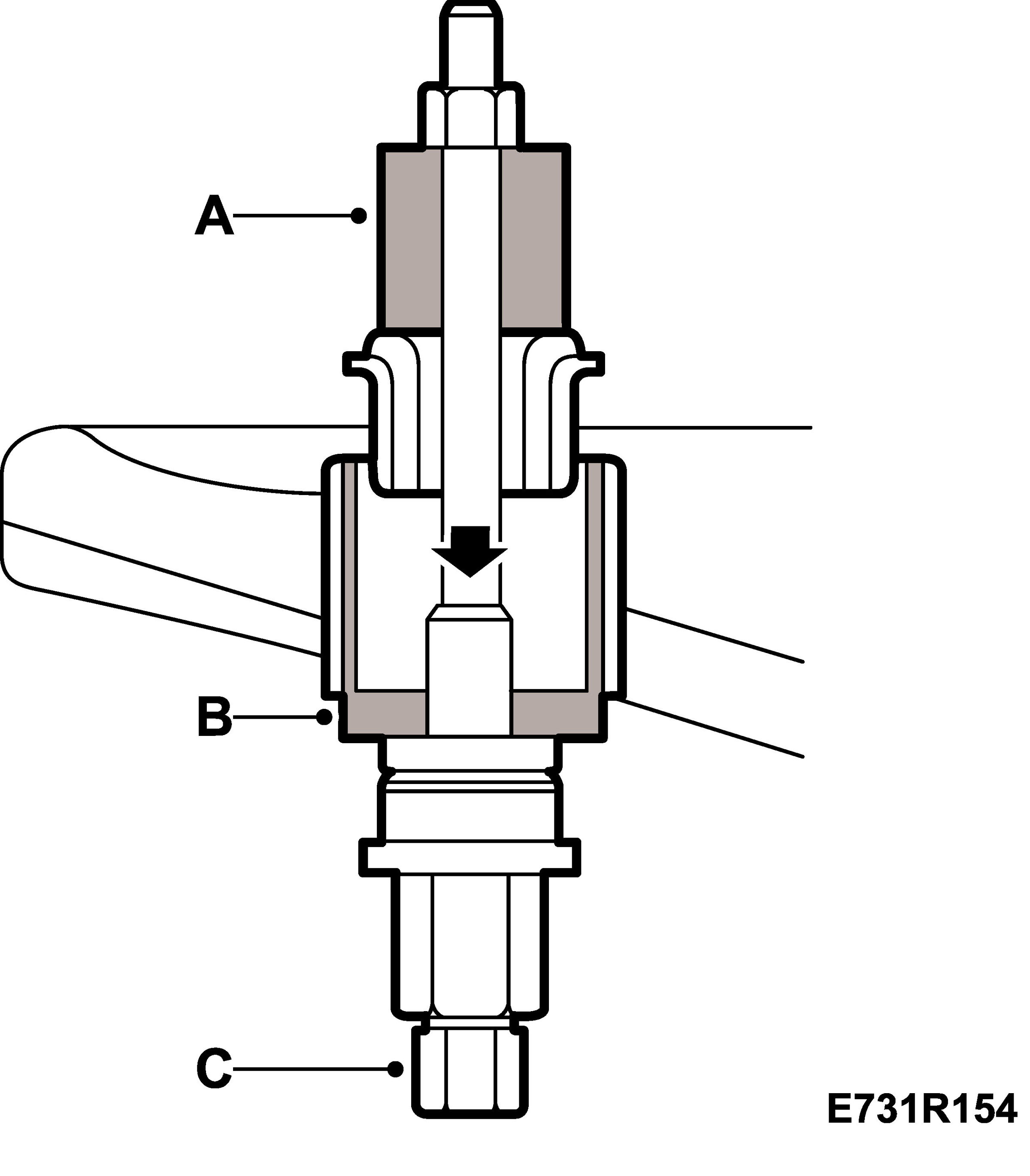
2. Remove the bush using 89 96 779 Press sleeve kit, front assembly.

A: KM-907-11

B: KM-907-12

C: KM-907-30

Important
The four front bushes must be fitted with one opening forwards and one opening backwards. Mark the bush with a felt-tip pen in order to be able to check that the bush is not rotated during assembly.






1. Lubricate the bush with soap solution and fit it using 89 96 779 Press sleeve kit, front assembly.

A: KM-907-14

B for front and rear bush: KM-907-13

B for middle bush: 89 96 878

C: KM-907-30

2. Fit the subframe. See Subframe, petrol engine or Subframe, 4-cylinder diesel engine.