Operation CHARM: Car repair manuals for everyone.
Manuals through 2025 now available!

Our trusted friends have launched a new website named LEMON, which has newer manuals. It also contains all the CHARM manuals.

LEMON is the spiritual successor to CHARM, I recommend you try it!

Link: lemon-manuals.la or lemon-manuals.org.ua

(Some people have issue connecting. LEMON is investigating. For now, use Firefox or change your DNS server)

Or, hide this message: temporarily or permanently

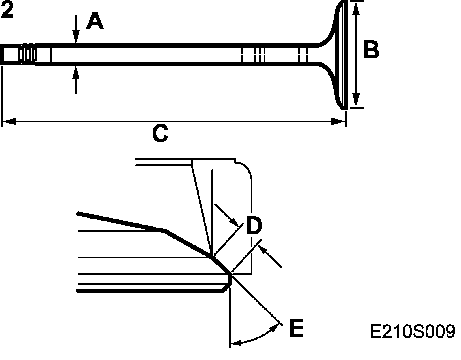
Design Specifications


Valve gear





1. Exhaust valve
2. Inlet valve





Valve guides





Maximum lateral clearance between valve stem and valve guide





Clearance is measured at the disc with the valve pulled out 3 mm from the seat.





Valve springs (double springs)





Tappets