Operation CHARM: Car repair manuals for everyone.
Manuals through 2025 now available!

Our trusted friends have launched a new website named LEMON, which has newer manuals. It also contains all the CHARM manuals.

LEMON is the spiritual successor to CHARM, I recommend you try it!

Link: lemon-manuals.la or lemon-manuals.org.ua

(Some people have issue connecting. LEMON is investigating. For now, use Firefox or change your DNS server)

Or, hide this message: temporarily or permanently

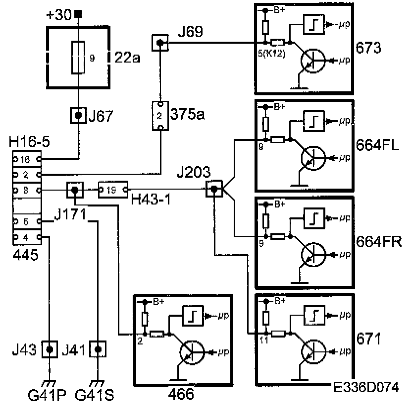
Diagnostics Communication



Diagnostics Communication

Systems With Communication Cable To The Data Link Connector









The systems that are not connected to the bus - automatic headlamp levelling (AHL), diesel auxiliary heater (DAH), and the VCIM and OIM OnStar control modules - are each connected via a communication lead to the data link connector.

The ESP control module is connected to a bus, but diagnostic communication goes via a communication lead.

The diagnostic tool communicates digitally and serially with the selected system. Digitally means that the voltage difference between the lead and ground only has two values. In this case, approx. 0 V and B+. The information is coded so that different combinations of 0 V and B+ pulses mean different things, such as whether the DAH or AHL should be called.

Serial means that the information is sent in "packets" which are transmitted one after the other in rapid succession.

Diagnosis

If none of the systems can be contacted, the fault may be either in the car or the diagnostic tool. If the diagnostic tool can contact one of the systems concerned in another car, then the fault is in the car.

Check first that the control module is awake. The ESP and AHL warning lamps are tested by the control module directly after the ignition is switched on. If the control module is awake, the fault is probably localised to the lead between the data link connector and the control module.

If Trionic receives no communication from the ESP for 3 seconds during operation, DTC P1625 is set.