Operation CHARM: Car repair manuals for everyone.
Manuals through 2025 now available!

Our trusted friends have launched a new website named LEMON, which has newer manuals. It also contains all the CHARM manuals.

LEMON is the spiritual successor to CHARM, I recommend you try it!

Link: lemon-manuals.la or lemon-manuals.org.ua

(Some people have issue connecting. LEMON is investigating. For now, use Firefox or change your DNS server)

Or, hide this message: temporarily or permanently

Drive/Propeller Shaft




Driveline Disassembled Views

Front Drive Propeller Shaft




1 - Universal Joint Spider Assembly
2 - Propeller Shaft Tube Assembly

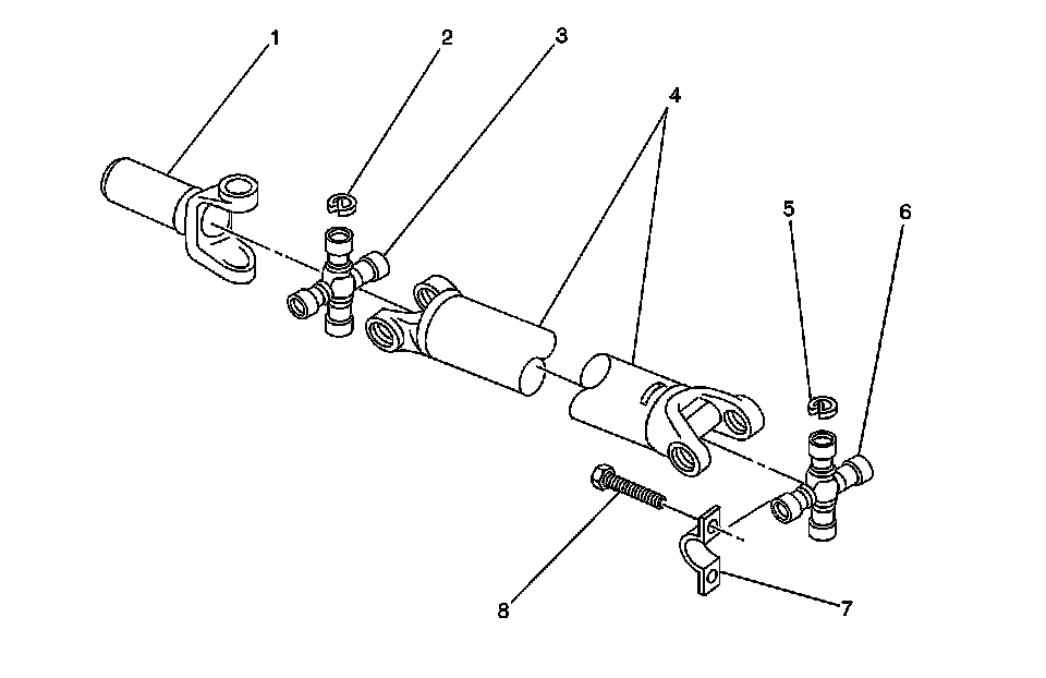
One-Piece Propeller Shaft




1 - Propeller Shaft Slip Yoke
2 - Propeller Shaft Universal Joint Spider Bearing Retainer Ring
3 - Propeller Shaft Universal Joint
4 - Propeller Shaft Tube
5 - Propeller Shaft Universal Joint Spider Bearing Retainer Ring
6 - Propeller Shaft Universal Joint
7 - Propeller Shaft Bearing Retainer
8 - Propeller Shaft Bearing Retainer Bolt