Housing Assembly HVAC: Service and Repair
HVAC Module Assembly Replacement
Special Tools
* J 43181 Heater Line Quick Connect Release Tool
* J 39400-A Halogen Leak Detector
Removal Procedure
1. Drain the engine coolant. Refer to Cooling System Draining and Filling (LH6) (Cooling System Draining and Filling)Cooling System Draining and Filling (LL8) (Cooling System Draining and Filling).
2. Recover the refrigerant. Refer to Refrigerant Recovery and Recharging (Refrigerant Recovery and Recharging).
3. Remove the instrument panel (I/P) carrier. Refer to Instrument Panel Carrier Replacement (Instrument Panel Carrier Replacement).
4. Reposition the heater hose clamps using J 43181 .
5. Disconnect the heater hoses from the heater core.
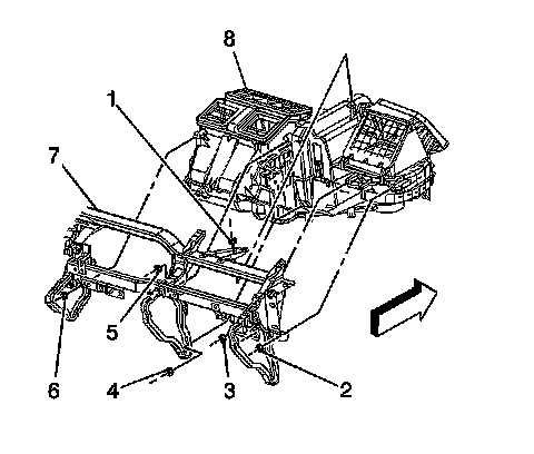
6. Remove the retaining nut (3) from the accumulator (6) at the evaporator (1).
7. Disconnect the accumulator (6) from the evaporator (1).
8. Disconnect the evaporator tube (4) from the evaporator (1).
9. Disconnect all of the electrical connectors to the HVAC module assembly.
10. Remove the HVAC module assembly.
Installation Procedure
1. If replacing the HVAC module assembly (8), transfer the components from the old HVAC module assembly as necessary.
2. Install the HVAC module assembly (8).
3. Connect all of the electrical connectors to the HVAC module assembly.
4. Connect the heater hoses to the heater core.
5. Connect the evaporator tube (4) to the evaporator (1).
6. Install the accumulator (6) to the evaporator (1).
Caution: Refer to Fastener Caution (Fastener Caution).
7. Tighten the accumulator retaining nut to 4.5 Nm (40 in. lbs.).
8. Install the I/P carrier. Refer to Instrument Panel Carrier Replacement (Instrument Panel Carrier Replacement).
9. Evacuate and recharge the A/C system. Refer to Refrigerant Recovery and Recharging (Refrigerant Recovery and Recharging).
10. Leak test the fittings of the components using the J 39400-A .
11. Refill the engine coolant. Refer to Cooling System Draining and Filling (LH6) (Cooling System Draining and Filling)Cooling System Draining and Filling (LL8) (Cooling System Draining and Filling).