Operation CHARM: Car repair manuals for everyone.
Manuals through 2025 now available!

Our trusted friends have launched a new website named LEMON, which has newer manuals. It also contains all the CHARM manuals.

LEMON is the spiritual successor to CHARM, I recommend you try it!

Link: lemon-manuals.la or lemon-manuals.org.ua

(Some people have issue connecting. LEMON is investigating. For now, use Firefox or change your DNS server)

Or, hide this message: temporarily or permanently

Passenger Compartment/Roof Component Views




Passenger Compartment/Roof Component Views

Front of Roof Components (U01)




1 - Roof Marker Lamp - Right
2 - Roof Marker Lamp - Middle
3 - Roof Marker Lamp - Left
4 - Windshield

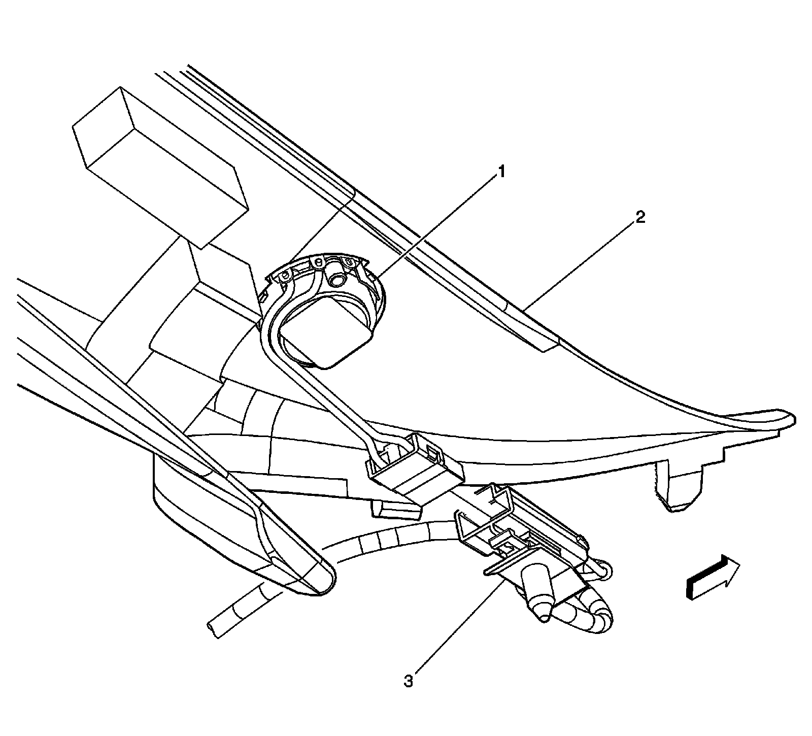
Front of Roof Components (UE1)




1 - Windshield
2 - Cellular, Navigation, and Digital Radio Antenna

Top of Roof Components (CF5)




1 - Sunroof Control Module
2 - Left Outer Frame Panel

Overhead Console Components




1 - X304 (except MEX)
2 - Inflatable Restraint Passenger Air Bag On/Off Indicator (AL0/C99 except MEX)
3 - Cellular Telephone Microphone (UE1/U3U/UVB)
4 - Roof Beacon Switch (5X7/5Y0/TRW)
5 - Sliding Rear Window Switch (A48)
6 - Dome/Reading Lamps - Front
7 - J322 (TRW/UG1/A48)
8 - J323
9 - X313 (CF5/TRW/5X7/5Y0)
10 - Blunt Cut - Roof Mounted Beacon Provision (TRW)
11 - Roof Beacon Relay (TRW)

Overhead Console and Headliner Components (U42/5Y0)




1 - Roof Beacon Switch (5Y0)
2 - Video Display (U42)
3 - Infrared Transmitter (U42)
4 - Blunt Cut - Emergency Vehicle Provision (5Y0)
5 - Emergency Vehicle Roof Lamp Relay (5Y0)

Front Headliner Components - 1 of 2




1 - Sunroof
2 - Sunshade - Right
3 - Windshield Outside Moisture Sensor (CE1)
4 - Inside Rearview Mirror (ISRVM) Window Anchor

Front Headliner Components - 2 of 2




1 - Inside Air Temperature Sensor (CJ2)
2 - Cellular Telephone Microphone (UE1/U3U/UVB)
3 - Dome/Reading Lamps - Rear (Extended Cab/Crew Cab)
4 - Sunroof Switch (CF5)
5 - Sunshade - Right (DH6)
6 - Garage Door Opener (UG1)
7 - Onstar Button Assembly (UE1)
8 - Inside Rearview Mirror (ISRVM)
9 - Dome/Reading Lamps - Front
10 - Windshield
11 - Sunshade - Left (DH6)

Left A-Pillar Components (UQ3/UQA)




1 - Left A-Pillar Trim Panel
2 - Speaker - Left Front Tweeter (except MEX)
3 - Speaker - Left Front Tweeter Connector (except MEX)

Right A-Pillar Components (UQ3/UQA)




1 - Speaker - Right Front Tweeter (except MEX)
2 - Right A-Pillar Trim
3 - Speaker - Left Front Tweeter Connector (except MEX)

Below the Left of the I/P Components - 1 of 2




1 - Park Brake Release
2 - Park Brake Switch
3 - Dash Panel
4 - Park Brake Lever

Below the Left of the I/P Components - 2 of 2




1 - Electronic Adjustable Pedal (EAP) Assembly (JF4)
2 - Stop Lamp Switch
3 - Accelerator Pedal Position (APP) Sensor

Passenger Compartment Components - 1 of 2 (Regular Cab)




1 - Rear Window
2 - Speaker - Left Rear
3 - Driver Door Trim
4 - Speaker - Left Front
5 - Speaker - Center I/P (UQA with Y91)
6 - Speaker - Subwoofer (UQA)
7 - Speaker - Right Front
8 - Speaker - Right Rear

Passenger Compartment Components - 2 of 2 (Regular Cab)




1 - Inflatable Restraint Roof Rail Module - Driver (ASF)
2 - Inflatable Restraint Roof Rail Module - Passenger (ASF)
3 - Floor Panel

Passenger Compartment Components - 1 of 2 (Extended Cab/Crew Cab)




1 - Rear Window Defogger Grid
2 - Inflatable Restraint Roof Rail Module - Driver (ASF)
3 - Floor Panel
4 - Inflatable Restraint Roof Rail Module - Passenger (ASF)

Passenger Compartment Components - 2 of 2 (Extended Cab/Crew Cab)




1 - Seat Belt Pretensioner - Driver
2 - Seat Belt Pretensioner - Passenger

Driver Seat Components - 1 of 2




1 - Seat Recline Motor - Driver (AN3)
2 - Seat Lumbar Vertical Motor Position Sensor - Driver (AN3)
3 - Seat Lumbar Vertical Motor - Driver (AN3)
4 - X324 (AN3)
5 - Seat Lumbar Horizontal Motor - Driver (AN3)
6 - Seat Lumbar Horizontal Motor Position Sensor - Driver (AN3)
7 - Seat Recline Position Sensor - Driver (AN3)
8 - Seat Lumbar Switch - Driver (AN3)
9 - Seat Adjuster Switch - Driver (AG1)
10 - Memory Seat Module (MSM) (AN3)
11 - Inflatable Restraint Seat Position Sensor (SPS) - Driver (10 Series)
12 - Seat Adjuster Motor Assembly - Driver (AG1)
13 - Seat Belt Buckle - Driver

Driver Seat Components - 2 of 2




1 - Heated Seat Element - Driver Back (AN3)
2 - Heated Seat Element - Driver Cushion (AN3)

Center Seat Components (AZ3)




1 - Accessory Power Outlet - Center Seat

Passenger Seat Components - 1 of 2




1 - Seat Frame
2 - X325 (AN3)
3 - Seat Lumbar Vertical Motor - Passenger (AN3)
4 - Seat Adjuster Switch - Passenger (AG2)
5 - Seat Lumbar Switch - Passenger (AN3)
6 - Seat Belt Buckle - Passenger (10 Series)
7 - Inflatable Restraint Passenger Presence System (PPS) Module (AL0)
8 - Seat Adjuster Motor Assembly - Passenger (AG2)
9 - Inflatable Restraint Passenger Presence System (PPS) Sensor (AL0)
10 - Seat Recline Motor - Passenger (AN3)
11 - Seat Lumbar Horizontal Motor - Passenger (AN3)

Passenger Seat Components - 2 of 2




1 - Heated Seat Element - Passenger Back (AN3)
2 - Heated Seat Element - Passenger Cushion (AN3)

Under the Front Seats Components




1 - Yaw and Lateral Accelerometer Sensor (JL4)
2 - Inflatable Restraint Sensing and Diagnostic Module (SDM)
3 - Inflatable Restraint Vehicle Rollover Sensor (ASF)
4 - Shifter Housing
5 - Rear HVAC Outlet Duct
6 - Rear Object Sensor Control Module (UD7)

Left Rear of the Passenger Compartment Components




1 - Rear Window
2 - Remote Control Door Lock Receiver (RCDLR) (AP3/AP8)

Right Rear of the Passenger Compartment Components




1 - Driver Information Center (DIC) Display (UD7)
2 - Rear Window Defogger Grid (C49)
3 - Sliding Rear Window Open Relay (A48)
4 - Sliding Rear Window Close Relay (A48)
5 - Sliding Rear Window Motor (A48)

Above the Rear Window Components




1 - Rear Window
2 - Center High Mounted Stop Lamp (CHMSL)