Operation CHARM: Car repair manuals for everyone.
Manuals through 2025 now available!

Our trusted friends have launched a new website named LEMON, which has newer manuals. It also contains all the CHARM manuals.

LEMON is the spiritual successor to CHARM, I recommend you try it!

Link: lemon-manuals.la or lemon-manuals.org.ua

(Some people have issue connecting. LEMON is investigating. For now, use Firefox or change your DNS server)

Or, hide this message: temporarily or permanently

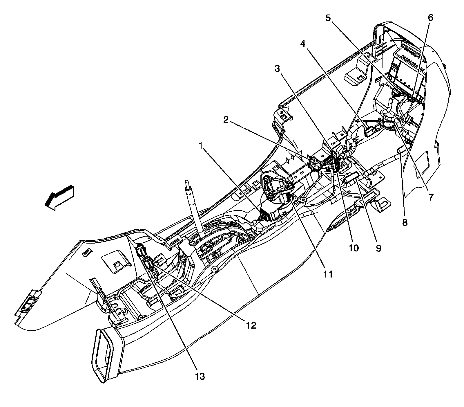
Console Views




Harness Routing Views

Floor Console Harness Routing




1 - Ignition Switch
2 - Theft Deterrent Control Module
3 - C323
4 - Console Mode Actuator - Auxiliary
5 - HVAC Control Module - Auxiliary
6 - Auxiliary Power Outlet - Rear
7 - S307
8 - S392
9 - S393
10 - C307
11 - Theft Deterrent Exciter Module
12 - Auxiliary Power Outlet - Front
13 - Auxiliary Power Outlet - Front