Operation CHARM: Car repair manuals for everyone.
Manuals through 2025 now available!

Our trusted friends have launched a new website named LEMON, which has newer manuals. It also contains all the CHARM manuals.

LEMON is the spiritual successor to CHARM, I recommend you try it!

Link: lemon-manuals.la or lemon-manuals.org.ua

(Some people have issue connecting. LEMON is investigating. For now, use Firefox or change your DNS server)

Or, hide this message: temporarily or permanently

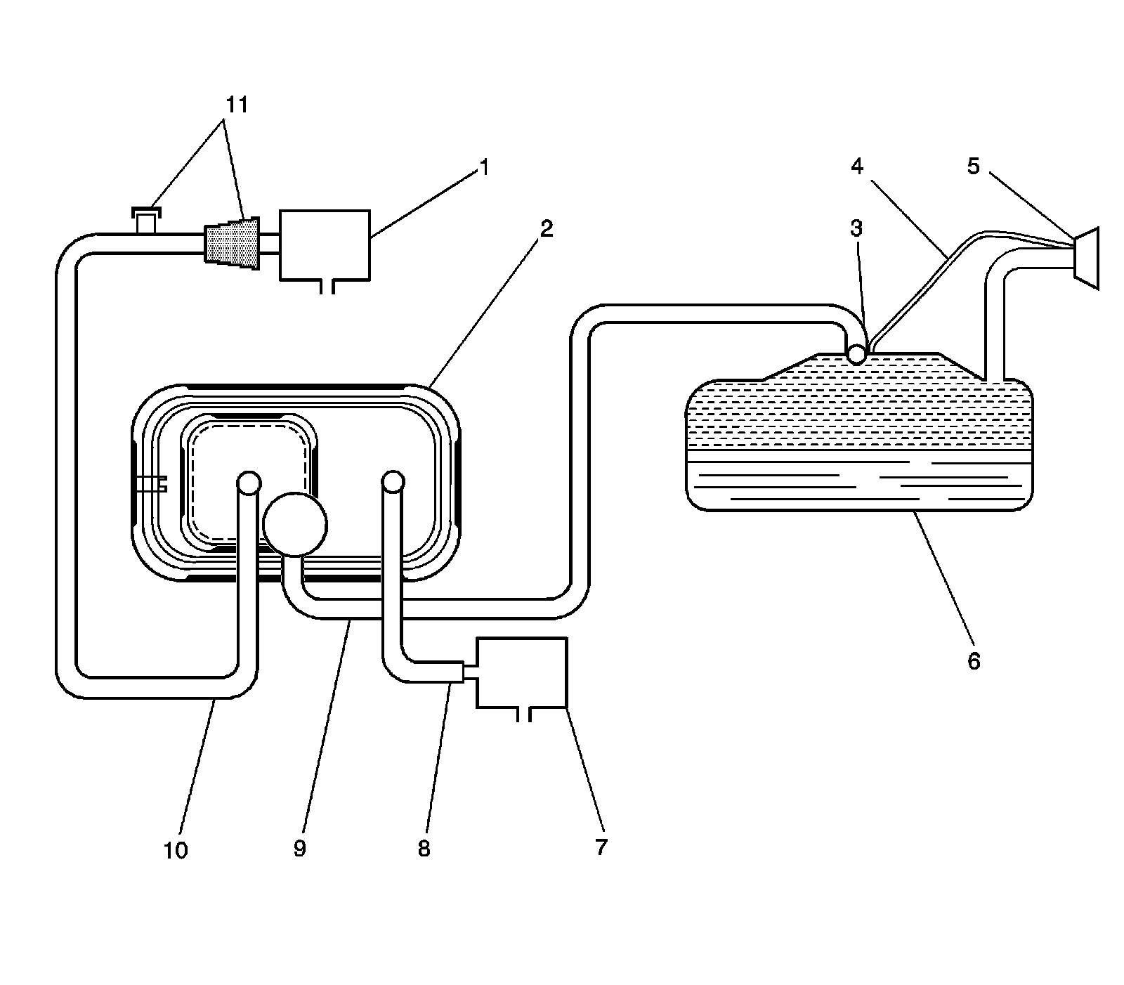
Emission Control Systems: Diagrams




Evaporative Emissions Hose Routing Diagram




1 - EVAP Canister Purge Solenoid Valve
2 - EVAP Canister
3 - Fluid Level Vent Valve
4 - Vapor Recirculation tube
5 - Fuel Fill Neck and Fill Cap
6 - Fuel Tank
7 - EVAP Canister Vent Valve
8 - Vent Hose/Pipe
9 - EVAP Vapor tube
10 - EVAP Purge tube
11 - EVAP Service Port or Service Access Connector