Operation CHARM: Car repair manuals for everyone.
Manuals through 2025 now available!

Our trusted friends have launched a new website named LEMON, which has newer manuals. It also contains all the CHARM manuals.

LEMON is the spiritual successor to CHARM, I recommend you try it!

Link: lemon-manuals.la or lemon-manuals.org.ua

(Some people have issue connecting. LEMON is investigating. For now, use Firefox or change your DNS server)

Or, hide this message: temporarily or permanently

Harness Routing Views




Harness Routing Views

Forward Lamp Harness Routing




1 - Horn Assembly
2 - C118
3 - Ambient Air Temperature Sensor
4 - Headlamp Washer Fluid Pump (CE4)
5 - A/C Low Pressure Switch
6 - G103
7 - Park/Turn Signal Lamp - RF
8 - Marker Lamp - RF
9 - C103
10 - S103
11 - Rear Window Washer Fluid Pump
12 - Fog Lamp - RF
13 - Windshield Washer Fluid Pump
14 - S113
15 - Windshield Washer Fluid Level Switch
16 - Fog Lamp - LF
17 - S107
18 - Park/Turn Signal Lamp - LF
19 - C102
20 - Marker Lamp - LF
21 - Fuse Block - Underhood C4
22 - C105

Chassis Harness Routing




1 - Electronic Frontal Sensor (EFS) - Right
2 - Wheel Speed Sensor - RF
3 - Electronic Brake Control Module (EBCM)
4 - C310
5 - Vehicle Speed Sensor (VSS)
6 - S306
7 - Fuel Pump and Sender Assembly
8 - Evaporative Emission (EVAP) Canister Vent Solenoid
9 - Air Suspension Sensor - RR
10 - Air Suspension Compressor Assembly C1
11 - G403
12 - Air Suspension Sensor - LR
13 - Fuel Tank Pressure (FTP) Sensor
14 - S359 (5.3L)
15 - G305
16 - Propshaft Speed Sensor - Rear
17 - Transfer Case Encoder Motor
18 - Propshaft Speed Sensor - Front
19 - G304
20 - Wheel Speed Sensor - LF
21 - C101
22 - Fuse Block - Underhood C3
23 - Fuse Block - Underhood C7
24 - Electronic Frontal Sensor (EFS) - Left

I/P Harness Routing - Engine Compartment




1 - Fuse Block - Underhood C6
2 - Fuse Block - Underhood C5
3 - G104
4 - G105
5 - S114 (CE4)
6 - G102
7 - C107 (5.3L)
8 - C105
9 - S117 (5.3L)
10 - Fuse Block - Underhood C2
11 - C101
12 - S117 (4.2L)
13 - C100 (4.2L)
14 - Powertrain Control Module (PCM) C1 (4.2L)

I/P Harness Routing - Front of the I/P




1 - I/P Dimmer Switch
2 - Radio C1
3 - Air Temperature Sensor - Upper Left
4 - Driver Information Center (DIC) Switch
5 - Air Temperature Sensor - Upper Right
6 - Radio C2
7 - HVAC Control Module C1
8 - C300
9 - C307
10 - C323
11 - Inflatable Restraint Sensing and Diagnostic Module (SDM)
12 - Rollover Sensor
13 - C304
14 - Fuse Block - Rear C1
15 - Body Control Module (BCM) C1
16 - Body Control Module (BCM) C2
17 - S203
18 - S220
19 - S273 (4.2L)
20 - S320
21 - S232
22 - S272
23 - HVAC Control Module C2
24 - C201
25 - C275
26 - Rear Window Wiper/Washer Switch

Body Harness Routing




1 - Splice Pack SP306
2 - Center High Mounted Stop Lamp (CHMSL)
3 - C900
4 - S401
5 - G401
6 - C906
7 - C304
8 - Inflatable Restraint Roof Rail Module - Left
9 - Fuse Block - Rear C2
10 - C700
11 - Air Temperature Sensor Assembly - Inside
12 - G302
13 - S302
14 - C317
15 - C500
16 - C311
17 - C306
18 - C314
19 - C318
20 - C203
21 - C202
22 - C220 (U42)
23 - C600
24 - S310
25 - S303
26 - G303
27 - C800
28 - Vehicle Communication Interface Module (VCIM) C1
29 - Vehicle Communication Interface Module (VCIM) C2
30 - Inflatable Restraint Roof Rail Module - Right
31 - S402
32 - Audio Amplifier (UQA) C2
33 - Audio Amplifier (UQA) C1
34 - C907
35 - G402

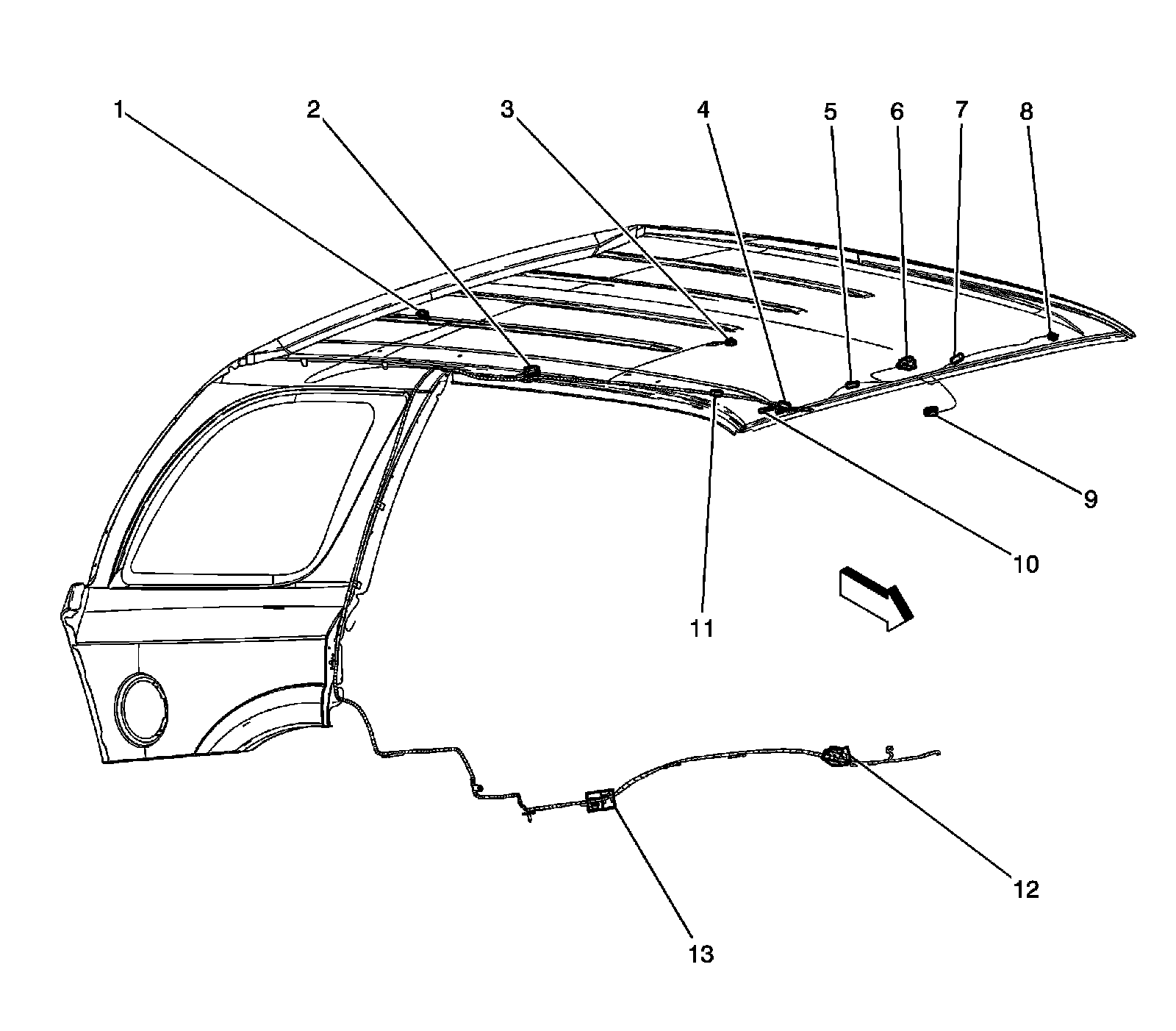
Headliner Harness Routing




1 - Cargo Lamp
2 - C308 (CF5)
3 - Courtesy/Reading Lamp - Center
4 - S390
5 - S331
6 - C305
7 - S322
8 - Vanity Mirror Lamp - Right
9 - Inside Rearview Mirror
10 - Vanity Mirror Lamp - Left
11 - S312
12 - C306
13 - Fuse Block - Underhood C3