Operation CHARM: Car repair manuals for everyone.
Manuals through 2025 now available!

Our trusted friends have launched a new website named LEMON, which has newer manuals. It also contains all the CHARM manuals.

LEMON is the spiritual successor to CHARM, I recommend you try it!

Link: lemon-manuals.la or lemon-manuals.org.ua

(Some people have issue connecting. LEMON is investigating. For now, use Firefox or change your DNS server)

Or, hide this message: temporarily or permanently

Liftgate Window Glass: Service and Repair




Liftgate Window Replacement

Removal Procedure

Note: Ensure that the liftgate is closed before starting the removal procedure on the liftgate window.

1. Remove the liftgate upper molding. Refer to Liftgate Upper Molding Replacement ().




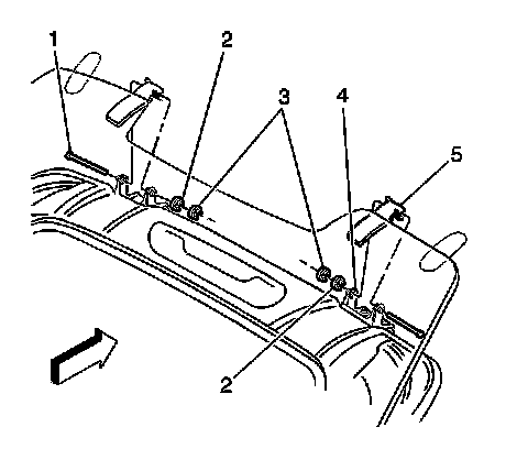
2. Open the liftgate window (1).




Warning: Refer to Glass and Sheet Metal Handling Warning (Glass and Sheet Metal Handling Warning).

3. Remove the liftgate window handle bolts (3).
4. Remove the outside handle (4) and striker from the liftgate window.
5. Remove the liftgate window defogger electrical connectors (2) from the right and left sides.





Warning

When a lift gate hold open device is being removed or installed, provide alternate support to avoid the possibility of damage to the vehicle or personal injury.

6. With the aid of an assistant remove the struts (3) from the liftgate window. Refer to Liftgate Strut Replacement (Liftgate Strut Replacement).
7. Lower the liftgate window (1).





Note: Do not open liftgate once the hinge pins have been removed from the liftgate window.

8. With the liftgate closed, remove the hinge pin C-clips (2, 3) from the liftgate window hinges.
9. Remove the hinge pins (1).




10. Remove the liftgate window from the vehicle with the aid of an assistant.

Installation Procedure




1. Install the liftgate window to the vehicle with the aid of an assistant.

Note: Do not open the liftgate once the hinge pins have been removed from the liftgate window.

2. With the liftgate closed align the liftgate windows hinge pin holes, install the hinge pins (1).
3. Install the hinge pin C-clips (2, 3) to the liftgate window hinge pins.




4. Open the liftgate window.
5. With the aid of an assistant install the struts (3) to the liftgate window. Refer to Liftgate Strut Replacement (Liftgate Strut Replacement).




6. Install the outside handle (4) and striker to the liftgate window.

Caution: Refer to Fastener Caution (Fastener Caution).

7. Install the liftgate window handle bolts (3) and tighten to the striker plate to5 Nm (44 in. lbs.).
8. Install the liftgate window defogger electrical connectors (2) to the right and left sides.
9. Install the liftgate upper molding. Refer to Liftgate Upper Molding Replacement ().




10. Inspect the operations of the liftgate window and center high mounted stop lamp (CHMSL).
11. Close the liftgate window.