Operation CHARM: Car repair manuals for everyone.
Manuals through 2025 now available!

Our trusted friends have launched a new website named LEMON, which has newer manuals. It also contains all the CHARM manuals.

LEMON is the spiritual successor to CHARM, I recommend you try it!

Link: lemon-manuals.la or lemon-manuals.org.ua

(Some people have issue connecting. LEMON is investigating. For now, use Firefox or change your DNS server)

Or, hide this message: temporarily or permanently

67. Thread Repair










INSTALLATION

CAUTION: USE PROTECTIVE EYE GLASSES AT ALL TIMES.





The following assembly information is used to assemble the Heli-Coil (R) inserts into aluminum components. Steel components can also have Heli-Coil (R) inserts if there is enough material thickness.

DRILLING HOLE

NOTICE: The drilling depths are maximum and should not be increased. Spark plug thread repairs do not require drilling. The piloted reamer part #5515-14 removes the damaged thread and cuts a new thread simultaneously.

Drill out the damaged threads using the drill specified in the table to a sufficient depth specified in the table.

TAPPING HOLE M6 - M12





Select proper tap specified in table and tap the hole to a sufficient depth that will accommodate the insert required.

SPARK PLUG
Clean counterbore, walls, and scat. Engage pilot threads and rotate tap until depth collar bottoms out. Remove tap and clear chips from hole.
After tap has been removed use compressed air to blow chips out of hole. Take care not to blow chips into engine.

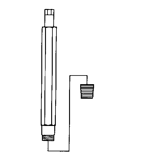
INSERTING HELI-COIL (R)
M6





Remove mandrel from prewinder, and place insert onto threaded end of mandrel. Place mandrel in prewinder threaded end down and turn into prewinder two turns. Position squarely over hole and rotate mandrel clockwise until upper coil is 1/4 - 1/2 turn below top surface.

M8 - M12





Select the proper size Heli-Coil (R) insert from table. Use the installation tool listed in table and turn the insert clockwise into the hole until the upper coil is 1/4 - 1/2 turn below top surface.

SPARK PLUG

NOTICE: Always make sure the piston is at bottom dead center (BDC) to prevent piston damage.





Lube mandrel threads and thread taperset onto mandrel with larger end towards 11/16 hex body until one thread extends beyond the taperset. Install taperset into hole and torque to 68 Nm (50 ft. lbs.). Hold 7/16 hex and loosen 11/16 body 1/2 turn. Remove installation tool.

HELI-COIL (R) TANG REMOVAL





To remove the tang used for installation, place the square end of a punch on the tang and strike the punch sharply.
Use compressed air to blow chips out of hole. Take care not to blow chips into engine.