Operation CHARM: Car repair manuals for everyone.
Manuals through 2025 now available!

Our trusted friends have launched a new website named LEMON, which has newer manuals. It also contains all the CHARM manuals.

LEMON is the spiritual successor to CHARM, I recommend you try it!

Link: lemon-manuals.la or lemon-manuals.org.ua

(Some people have issue connecting. LEMON is investigating. For now, use Firefox or change your DNS server)

Or, hide this message: temporarily or permanently

Brake Caliper: Service and Repair

REMOVAL

CAUTION: MAKE SURE VEHICLE IS PROPERLY SUPPORTED AND SQUARELY POSITIONED ON HOIST. TO HELP AVOID PERSONAL INJURY, PROVIDE ADDITIONAL SUPPORT TO THE OPPOSITE END OF THE VEHICLE THAT COMPONENTS WILL BE REMOVED FROM.





1. Raise vehicle on hoist.
2. Remove wheel corresponding to caliper being removed.
3. Remove brake hose from caliper. Plug openings in caliper and brake hose to avoid fluid loss and contamination.





4. Remove lock pin and guide pin.
5. Remove caliper from caliper support, being careful not to damage pin boots.
6. Remove lock pin and guide pin boots from caliper support.
7. Inspect:
a. Lock pin and guide pin boots for deterioration. If damaged, replace.
b. Piston boot for deterioration. If damaged, overhaul the caliper.
c. Lock pin and guide pin for damage or corrosion. Replace if damaged or corroded (do not attempt to clean away corrosion).

DISASSEMBLY





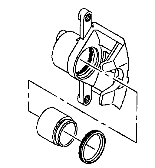
1. Using a small screw driver, remove piston boot ring (slowly pry up one end of boot ring) and piston boot from caliper.

CAUTION: TO PREVENT BODILY INJURY, MAKE SURE TO KEEP FINGERS OR OTHER BODY PARTS AWAY FROM PISTON DURING REMOVAL.

NOTICE: Pad interior of caliper body to provide a protective cushion for piston when it exits the caliper. This will protect piston from surface damage caused from piston/caliper body contact.





2. Remove piston from caliper body by applying low pressure, non-lubricated, compressed air into caliper inlet hole.

NOTICE: To prevent damage to caliper body bore, use a small wooden or plastic (not metal) device to extract seal.





3. Remove piston seal from groove in caliper body.





4. Remove bleeder valve and bleeder valve cap from caliper body.
5. Clean all parts in clean denatured alcohol. Dry with non-lubricated, low pressure, compressed air. Make sure to blow out all passages in caliper body and bleeder valve.
6. Inspect piston for scoring, nicks, cracks, wear or corrosion. Replace piston if any damage is found.





7. Inspect caliper body piston bore for scoring, nicks, wear, or corrosion. Crocus cloth can be used to remove light corrosion. If more extensive damage is present, replace the caliper.

IMPORTANT: Do not hone caliper bore.

8. Inspect seal groove in caliper bore for nicks or burrs. If present, replace caliper.

ASSEMBLY





1. Install bleeder valve into caliper body assembly.
Torque: 11 Nm (8 lb ft)
2. Install bleeder valve cap.





3. Lubricate new piston seal with clean brake fluid and install seal into caliper seal groove.

NOTICE: Make sure seal is not twisted.





4. Install lubricated piston boot onto piston.
5. Lubricate outside diameter of piston with clean brake fluid.
6. Install piston into caliper body. Push piston all the way to the bottom of the caliper bore.

IMPORTANT: Considerable force may be required to install piston.





7. Install boot ring.

IMPORTANT:
a. Make sure outside edge of piston boot is smoothly seated in counterbore of caliper body.
b. Work boot ring into groove near open end of caliper bore. Take care not to pinch piston boot between boot ring and caliper body.
c. After installing boot ring, lift inner edge of piston boot to release any trapped air. The boot must lie flat, below the level of the piston face.

INSTALLATION





1. Make sure caliper piston is bottomed fully in caliper bore.
2. Make sure brake pads and pad clips are correctly installed in caliper support.

IMPORTANT: Remove rust and corrosion from caliper brackets and spring clips. If installing used brake pads, remove rust and corrosion from ends of the brake pads. Make sure brake pads move freely in the caliper brackets when brakes are assembled.

3. Lubricate pin boots with silicone grease.
4. Install lock pin boot into caliper support.

IMPORTANT: Make sure lock pin boot passes all the way through caliper support.

IMPORTANT: Use lock pin as a tool to assist installation.





5. Install guide pin boot onto caliper body.
6. Install caliper body onto caliper support.

NOTICE: Be careful not to damage piston, guide pin, or lock pin boots.

IMPORTANT: Compress pin boots by hand as caliper moves into position.

7. Lubricate straight section (not threads) of lock pin and guide pin with silicone grease.

NOTICE: Make sure guide and lock pin boots are properly aligned prior to pin installation, or boot damage may occur.





8. Install lock and guide pins.
Torque: 36 Nm (27 lb ft)

NOTICE: Make sure front brake hose is routed as shown with loop to the rear. Be careful not to install front brake hose with a twist. Incorrect front brake hose installation could bring hose into contact with wheel. Brake failure could result.





9. Rotate brake hose so that it loops to the rear and connect brake hose to caliper with new washers.
Torque: 49 Nm (36 lb ft)
10. Bleed brakes.

NOTICE: Before installing wheels, remove rust or corrosion from wheel mounting surfaces and brake rotors/drums. Failure to do so can cause wheel nuts to loosen in service.

11. Position wheel onto hub.
12. Install wheel nuts and tighten in a crisscross pattern. Repeat tightening pattern to be sure torque is correct.
Torque: 140 Nm (103 lb ft)
13. Lower vehicle from hoist.