Operation CHARM: Car repair manuals for everyone.
Manuals through 2025 now available!

Our trusted friends have launched a new website named LEMON, which has newer manuals. It also contains all the CHARM manuals.

LEMON is the spiritual successor to CHARM, I recommend you try it!

Link: lemon-manuals.la or lemon-manuals.org.ua

(Some people have issue connecting. LEMON is investigating. For now, use Firefox or change your DNS server)

Or, hide this message: temporarily or permanently

Case: Service and Repair

TRANSAXLE CASE SIDE COVER

TOOLS REQUIRED
- J41102 Axle Seal Protector
- J41545 Transaxle Range Switch Alignment Tool
- J43405 Engine Support Fixture Adapter
- SA9105E Engine Support Bar Assembly

REMOVAL

CAUTION: MAKE SURE VEHICLE IS PROPERLY SUPPORTED AND SQUARELY POSITIONED ON THE HOIST. TO HELP AVOID PERSONAL INJURY WHEN A VEHICLE IS ON A HOIST, PROVIDE ADDITIONAL SUPPORT FOR THE VEHICLE ON THE OPPOSITE END FROM WHICH COMPONENTS ARE BEING REMOVED.

1. Position vehicle on hoist.





2. Remove battery.
2.1 Disconnect battery cables (negative first, positive second).
2.2 Move fan control module. Leave wiring connected, lift module up and away from bracket, and position out of the way.
2.3 Remove battery hold-down bracket.
2.4 Remove battery.
3. Disconnect battery feed to underhood fuse block.
4. Disconnect coolant hose from underhood fuse block.
5. Release retaining tabs on underhood fuse block cover and remove.





6. Release retaining labs (2) on underhood fuse block and roll fuse block back (1) to access electrical connectors.





7. Remove following connectors from underhood fuse block:
1) Engine 68 way
2) Forward Lamp 68 way
3) I/P 68 way
4) Forward Lamp 2 way (White)
5) I/P 2 way (Black)
6) I/P 2 way (Green)
7) I/P 2 way (Brown)

8. Lift fuse block off case.

IMPORTANT: There are two tabs that hold the hard shell grommets in place at the bottom of the grommet. Disengage tabs to remove grommet from case.





9. Remove harnesses from underhood fuse block case by releasing retaining tabs on the bottom of the hard shell grommets.
A. Engine
B. Forward Lamp
C. Instrument Panel (I/P)
10. Remove underhood fuse block case fastener, and remove case from battery tray.





11. Remove battery tray fasteners and battery tray.
12. Remove wire harness from transaxle case side cover.

For 4-Cylinder vehicles only, perform steps 13 through 15:

IMPORTANT: Note the original position of the A.I.R. components.





13. Remove clamp from A.I.R. hose behind the cooling fan.
14. Separate the A.I.R. tube from the hose and push the tube back towards the transaxle.





15. Remove the hose clip, holding the two power steering lines together.





16. Apply parking brake and place control assembly in NEUTRAL. (The transaxle manual shaft must be in NEUTRAL position prior to re-installing the range switch.)
17. Remove shift control cable from transaxle range switch lever.
18. Disconnect electrical connectors from transaxle range switch.





19. Remove transaxle range switch lever nut and lever.





20. Remove transaxle range switch bolts and remove switch.





21. Remove upper transaxle case side cover fasteners.





22. Install Engine Support Bar Assembly SA9IO5E with Engine Support Fixture Adapter J43405 as shown. (L61 [L41 shown)





23. Install engine support fixture assembly SA9105E with engine support fixture adapter J-43405 as shown. (L81 [V61 shown)





24. Mark position of and remove left transaxle mount bolts.





25. Remove left transaxle mount from engine compartment rail.
26. Remove frame assembly.

NOTICE: To prevent damage to the CV joint boots, be careful not to allow them to contact other parts during the removal/installation process. Also, never pull on the shaft assembly.





27. Remove left drive axle from transaxle using a pry bar. Remove axle retaining ring from output shaft of transaxle and discard. The axle can be left in the steering knuckle. Tie the axle up and out of the way.





28. Remove power steering lines from left transaxle mount bracket. Remove transaxle mount bracket fasteners and remove bracket.

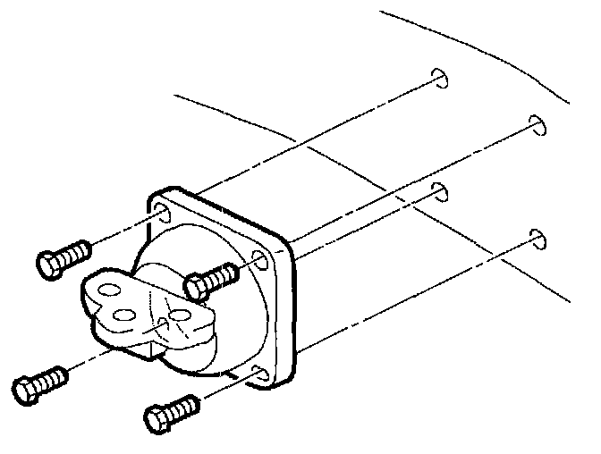
NOTICE: Pry on side cover near locating dowel pins to prevent damage to sealing surfaces.





29. Remove remaining transaxle case side cover bolts and remove case side cover.





30. Remove two case side cover gaskets and side cover to driven support thrust washer, if they did not remain with the side cover assembly when it was removed.

INSTALLATION





1. Inspect case side cover for cracks or damage to seal grooves and mounting bosses.
2. Inspect side cover seals for damage. Side cover seals are reusable if not damaged.
3. Thoroughly clean side cover and side cover seals. Clean and dry seal grooves and axle seal bore.
4. Install case side cover gaskets into grooves on side cover. Retain seals with petroleum jelly.
5. Install side cover to driven sprocket thrust washer onto side cover. Retain with petroleum jelly.

NOTICE: Axle Seal Protector J41102 must be used on the output shaft of the transaxle to protect the axle seal from damage when installing the case side cover. If J41102 is not used, damage to seal may result.





6. Install axle seal protector J41102 on output shaft of transaxle, and install side cover assembly onto transaxle case.
7. Install and hand start lower side cover-to-transaxle case bolts and tighten.
Torque:
Side Cover-to-Transaxle Case Bolt: 20 Nm (15 ft. lbs.)





8. Install left transaxle mount bracket to transaxle.
Torque:
Lift Transaxle Mount Bracket-to-Transaxle Bolts: 90 Nm (66 ft. lbs.)
9. Install power steering lines to left transaxle mount bracket.
Torque:
Power Steering Lines-to-Left Transaxle Mount Bracket: 10 Nm (89 inch lbs.)

NOTICE: In order to prevent damage to axle shaft splines during vehicle operation, add grease (P/N 7847638) to axle shaft splines prior to axle shaft installation.

10. Install a new axle retaining clip on output shaft of transaxle. Untie left axle shaft and install axle shaft into transaxle.
11. Install frame assembly.
12. Lower vehicle.





13. Install left transaxle mount to engine compartment rail.
Torque:
Transaxle Mount (Left)-to-Engine Compartment Rail Bolts: 20 Nm (15 ft. lbs.)

NOTICE: If the powertrain mount is not reinstalled in its original position, it could lead to premature mount wear.





14. Reference alignment marks made during disassembly and install left transaxle mount bolts.
Torque:
Transaxle Mount (Left)-to-Transaxle Mount Bracket Bolts: 55 Nm (41 ft. lbs.)
15. Remove engine support bar assembly.





16. Install upper transaxle side cover fasteners.
Torque:
Side Cover-to-Transaxle Case Bolts: 20 Nm (15 ft. lbs.)
17. Install wire harness to transaxle case side cover.
Torque:
Wiring Harness Attachment Fasteners: 20 Nm (15 ft. lbs.)





18. Make sure transaxle manual shaft is in NEUTRAL (N) position.
19. Align flats on transaxle shift shaft with flats on transaxle range switch and install switch.
20. Loosely install transaxle range switch bolts.





21. Insert Transaxle Range Switch Alignment Tool J41545 as shown and rotate switch until tool drops into position.
22. Tighten transaxle range switch bolts.
Torque:
Transaxle Range Switch Bolts: 20 Nm (15 ft. lbs.)
23. Remove alignment tool.





24. Install transaxle range switch lever and nut.
Torque:
Transaxle Range Switch Lever Nut: 35 Nm (26 ft. lbs.)

IMPORTANT: After adjusting switch, verify engine only starts in PARK or NEUTRAL. If engine starts in any other position, readjust switch.





25. Connect transaxle range switch electrical connectors.
26. Install shift control cable to transaxle range switch lever and verify proper operation.





For Cylinder vehicles only, perform steps 27 through 30:
27. Install the hose clip to the two power steering lines.
28. Pull the A.I.R. tube back to the original position.

IMPORTANT: The clamp must be installed with the locking portion facing down.

29. Insert the lube into hose and install clamp.

NOTICE: There is a stand-off clip between the A.I.R. tube and the wiring harness at the front of the transaxle. This must be in place to eliminate the possibility of chafing between the tube and the harness.

30. Ensure the stand-off clip is between the A.I.R. tube and the wiring harness is installed correctly.





31. Install battery tray and battery tray fasteners.
Torque:
Battery Tray Bolts: 15 Nm (11 ft. lbs.)
32. Install underhood fuse block case to battery tray and install bolt.
Torque:
Underhood Fuse Block Case Bolt: 9 Nm (8O inch lbs.)





33. Install wire harnesses to fuse block case. The wire harness grommets have retaining tabs that lock into the case (3) when the harnesses are fully installed.
A. Engine
B. Forward Lamp
C. Instrument Panel (I/P)
34. Snap fuse block onto fuse block case hinges.





35. Install following connectors to underhood fuse block:
1) Engine 68 way
2) Forward Lamp 68 way
3) VP 68 way
4) Forward Lamp 2 way (White)
S) VP 2 way (Black)
6) I/P 2 way (Green)
7) I/P 2 way (Brown)





36. Secure underhood fuse block to fuse block case by rotating down and snapping into place.
37. Install underhood fuse block cover.
38. Secure coolant hose into place on fuse block cover.
39. Install battery feed cable to underhood fuse block.
Torque:
Battery Feed Cable-to-Underhood Fuse Block Bolt: 16 Nm (12 ft. lbs.)





40. Install battery.
40.1 Install battery into battery tray.
40.2 Install battery hold-down bracket.
Torque:
Battery Hold Down Bracket Bolt: 20 Nm (15 ft. lbs.)
40.3 Install tan control module by sliding down onto battery hold-down bracket.

CAUTION: POSITIVE BATTERY TERMINAL MUST BE CONNECTED FIRST TO PREVENT ARCING.

40.4 Install battery cables (positive first, negative second).
Torque:
Battery Cables-to-Battery: 17 Nm (13 ft. lbs.)
41. Start engine. warm up transaxle and check for fluid leaks.
42. Check for proper fluid level using the "Transaxle Fluid Level Checking Procedure".