Operation CHARM: Car repair manuals for everyone.
Manuals through 2025 now available!

Our trusted friends have launched a new website named LEMON, which has newer manuals. It also contains all the CHARM manuals.

LEMON is the spiritual successor to CHARM, I recommend you try it!

Link: lemon-manuals.la or lemon-manuals.org.ua

(Some people have issue connecting. LEMON is investigating. For now, use Firefox or change your DNS server)

Or, hide this message: temporarily or permanently

Heater Core: Service and Repair

HEATER CORE - IN CAR

REMOVAL




1. Drain Engine Coolant. (Refer to "Draining the Cooling System" procedure in cooling system.)




2. Remove heater core outlet hose at heater core.




3. Remove heater core inlet hose at heater core




4. Remove I/P retainer.




5. Remove control assembly housing and bracket assembly.




6. Remove heater duct.




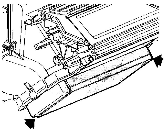
7. Remove heater core cover.




8. Remove heater core pipe cover.
9. Remove heater core pipe foam seal.




10. Grasp heater core at end tanks and remove heater core (spraying perimeter of heater core seal and heater core pipes at front of dash with a soap and water mixture will ease removal).

INSTALLATION




1. Spray front of dash seal at heater core pipe openings to aid in heater core installation.
2. Install heater core (spraying perimeter of heater core seal with a soap and water mixture will ease installation.




3. Install heater core pipe seal.
4. Install heater core pipe cover.

Torque:
Heater Core Pipe Cover Screw: 1.0 N.m (9 in-lbs)




5. Spray front of dash seal at drain tube opening to aid in heater core cover installation.




6. Install heater core cover.

Torque:
Heater Core Cover: 1.0 N.m (9 in-lbs)




7. Install heater duct.

Torque:
Heater Duct Screw: 1.0 N.m (9 in-lbs)




8. Install I/P retainer.




9. Install control assembly housing and bracket assembly.




10. Install heater core outlet hose at heater core.
11. Position lamp at 9 o'clock position.




12. Install heater core inlet hose at heater core.
13. Position clamp at 9 o'clock position.
14. Replace engine coolant.