Operation CHARM: Car repair manuals for everyone.
Manuals through 2025 now available!

Our trusted friends have launched a new website named LEMON, which has newer manuals. It also contains all the CHARM manuals.

LEMON is the spiritual successor to CHARM, I recommend you try it!

Link: lemon-manuals.la or lemon-manuals.org.ua

(Some people have issue connecting. LEMON is investigating. For now, use Firefox or change your DNS server)

Or, hide this message: temporarily or permanently

Brake Caliper Overhaul

Brake Caliper Overhaul

Caution: Refer to Brake Dust Caution in Service Precautions.

Caution: Refer to Brake Fluid Irritant in Service Precautions.

Notice: Refer to Brake Fluid Effects on Paint and Electrical Components in Service Precautions.

Disassembly Procedure





1. Remove the brake caliper from the vehicle.

Caution: Do not place fingers in front of the caliper piston(s) in an attempt to catch or protect it when applying compressed air. The piston(s) can fly out with force and could result in serious bodily injury.

Notice: Use clean cloths to pad interior of caliper housing during piston removal. Use just enough air to ease the pistons out of the bores. If the pistons are blown out, even with the padding provided, it may be damaged.

2. Remove the brake caliper piston from the caliper bore by directing low pressure compressed air into the caliper bore through the fluid inlet hole.





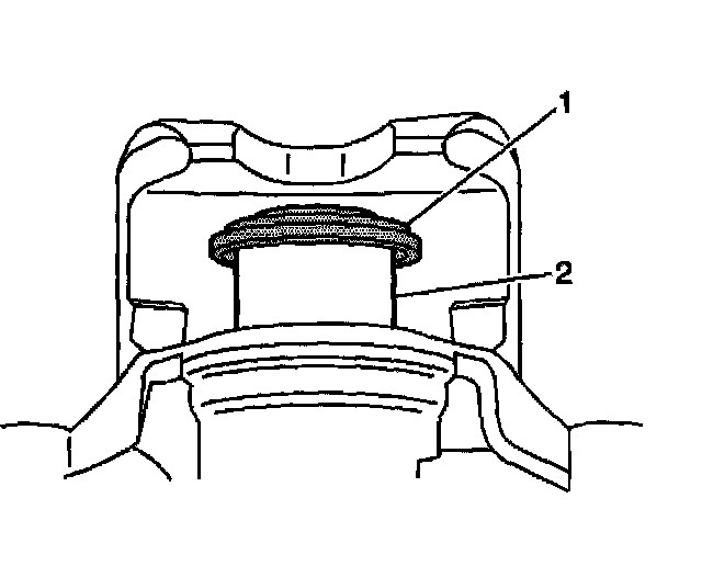
3. Remove the retaining ring that secures the dust boot to the caliper housing.





4. Remove the piston dust boot seal (2) from the seal counterbore in the caliper. Discard the boot seal.
5. Using a small wooden or plastic tool, remove the piston seal (4) from the caliper bore. Discard the piston seal.

Important: Do not use abrasives to clean the brake caliper piston.

6. Inspect the caliper bore for cracks, scoring, pitting, excessive rust, and/or excessive corrosion.
7. Clean the brake caliper piston bore and seal counterbore, and the caliper piston with denatured alcohol, or equivalent.
8. Dry the caliper piston bore and counterbore, and the piston with non-lubricated, filtered, compressed air.
9. If light rust or light corrosion are present in the caliper bore, attempt to remove the imperfection with a fine emery paper. If the imperfection cannot be removed, replace the caliper assembly.
10. If cracks, scoring, pitting, excessive rust, and/or excessive corrosion are present in the caliper bore, replace the caliper assembly.
11. Inspect the caliper piston for cracks, scoring, and/or damage to the plating. Replace the caliper piston if any of these conditions exist,

Assembly Procedure





1. Lubricate the new piston seal (4) with Saturn P/N 21013073, or equivalent DOT-3 brake fluid from a clean, sealed brake fluid container.
2. Install the lubricated, new piston seal (4) into the caliper bore.
3. Apply a thin coat of Saturn P/N 21013073, or equivalent DOT-3 brake fluid from a clean, sealed brake fluid container onto the outer surface area of the caliper piston (3).





4. Install the bottom half of the caliper piston (2) into the caliper bore.
5. Install the new piston dust boot seal (1) over the caliper piston (2).
6. Compress the caliper piston (2) to the bottom of the caliper bore.
7. Fully seat the piston dust boot seal (1) into caliper counterbore.





8. Install the retaining ring that secures the dust boot to the caliper housing.

Notice: Refer to Fastener Notice in Service Precautions.

9. Install the bleeder valve to the caliper.
- Tighten the brake bleeder valve to 11 Nm (97 lb in).
10. Install the bleeder valve cap.
11. Install the brake caliper to the vehicle.