Operation CHARM: Car repair manuals for everyone.
Manuals through 2025 now available!

Our trusted friends have launched a new website named LEMON, which has newer manuals. It also contains all the CHARM manuals.

LEMON is the spiritual successor to CHARM, I recommend you try it!

Link: lemon-manuals.la or lemon-manuals.org.ua

(Some people have issue connecting. LEMON is investigating. For now, use Firefox or change your DNS server)

Or, hide this message: temporarily or permanently

Coolant Line/Hose: Service and Repair

HOSE REPLACEMENT
If you find any problems existing in the hoses, they should be replaced.
1. Stop engine.
2. Drain coolant.





3. Slit hose end, twist left and right and pull straight off for easy removal.
4. Clean off outlets with clean cloth. Use sandpaper if necessary.
5. Dip ends of new hose into coolant for easier installation.





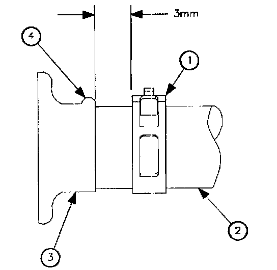
6. Install clamps on hose (1).
7. Install hose (2) onto nipple (3) until hose contacts hose stop bead (4). White line on hose should be at 12 o'clock position.
8. Slide clamp (1) to within 3 mm (0.12 inch) of the hose end.
9. Install pressure tester on bottle and check for leaks.
10. Fill cooling system.