Operation CHARM: Car repair manuals for everyone.
Manuals through 2025 now available!

Our trusted friends have launched a new website named LEMON, which has newer manuals. It also contains all the CHARM manuals.

LEMON is the spiritual successor to CHARM, I recommend you try it!

Link: lemon-manuals.la or lemon-manuals.org.ua

(Some people have issue connecting. LEMON is investigating. For now, use Firefox or change your DNS server)

Or, hide this message: temporarily or permanently

Shimming Procedures

SHIMMING

^ TOOLS REQUIRED
- J 44385 Differential Bearing Race and Seal Installer
- J 44388 Bearing Race Depth Gauge
- J 44388 Gauge Assembly
- J 44388 Gauge Installer
- J 44388 Gauge Pin
- J 8092 Threaded Driver Handle





IMPORTANT: Remove all of the old shims before performing Shimming procedures.

1. Make sure bearings are fully seated in case.





2. Position transaxle on a bench so the bearings are resting on a flat surface.
3. Using a rubber mallet, tap lightly on case mating surface to ensure bearings are fully seated.





4. Measure the distance of transaxle case parting surface to output shaft gear thrust washer surface using Gauge Assembly J44388-1.
5. Place Gauge Assembly J44388-1 on case parting surface.
6. Extend gauge rod on Gauge Assembly J44388-1 until it is bottomed on output shaft gear thrust washer.
7. Tighten thumbscrew on Gauge Assembly J44388-1 to retain gauge rod.





8. Measure and record the length of Gauge Assembly protruding from gauge bar (measurement A).





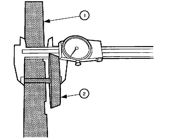
9. Make sure the left differential bearing race is fully seated into transaxle case using Threaded Driver Handle J8092 (1) and Differential Bearing Race and Seal Installer J44385 (2).





10. Install Bearing Race Depth Gauge J44388-2 into the left differential side bearing race. Ensure the Gauge Base J44388-2 is fully seated into the left differential side bearing race.





11. Remove gauge rod from Gauge Assembly J44388-1 (2).
12. Place the bar of Gauge Assembly J44388-1 (2) onto gauge rod of Gauge Base J44388-2 (1).
13. Tighten thumbscrew on Gauge Assembly J44388-1 (2) to retain Gauge Base J44388-2 (1) gauge rod.





14. Measure overall height of Gauge Assembly J44388-1 (1) and retain Gauge Base J44388-2 (2) (measurement B).
15. Measure height of just the Gauge Assembly J44388-1 (1) (measurement Q.
16. Subtract height of Gauge Assembly J44388-1 (1) (measurement Q from the overall height of Gauge Assembly J44388-1 and retain Gauge Base J44388-2 (measurement B) and record (measurement D).





17. Place differential assembly onto Gauge Installer J44388-4 to provide a steady measuring surface.





18. Install rod back into Gauge Assembly J44388-1 (1).
19. Place Gauge Assembly J44388-1 (1) across face of ring gear.
20. Center gauge rod of Gauge Assembly J44388-1 (1) over the land for the left differential side bearing shim.
21. With the gauge rod of Gauge Assembly J44388-1 (1) fully seated on the shim land for the left differential side bearing shim, tighten thumbscrew on Gauge Assembly J44388-1 (1).





22. Measure and record length of gauge rod protruding from Gauge Assembly J44388-1 (measurement E).





IMPORTANT: Both retaining rings must be removed from pinion shaft to ensure proper removal of the differential pinion shaft.

23. Remove and discard the differential pinion shaft retaining rings.





24. Insert Gauge Pin J44388-3 (1) through center of differential until it rests firmly on Gauge Installer J44388-4 (2).





25. The distance from the top surface of Gauge Pin J44388-3 (1) to the land of right differential side bearing shim is measured and recorded (measurement F).
26. Subtract measurement F from 127 mm (5 inch) (measurement G).





27. To obtain shim size for left differential side shim (1) use the following formula:
Shim (1) = E - A + D - 19.036 mm (0.749 inch).
28. To obtain shim size for right differential side shim (2) use the following formula:
Shim (2) = 94.65 mm. (3.726 inch) - G - shim (1).