Operation CHARM: Car repair manuals for everyone.
Manuals through 2025 now available!

Our trusted friends have launched a new website named LEMON, which has newer manuals. It also contains all the CHARM manuals.

LEMON is the spiritual successor to CHARM, I recommend you try it!

Link: lemon-manuals.la or lemon-manuals.org.ua

(Some people have issue connecting. LEMON is investigating. For now, use Firefox or change your DNS server)

Or, hide this message: temporarily or permanently

Brake Proportioning/Combination Valve: Service and Repair

Proportioning Valve Replacement

Caution: Refer to Brake Fluid Irritant in Service Precautions.

Notice: Refer to Brake Fluid Effects on Paint and Electrical Components in Service Precautions.

NOTICE: There is a first design and second design of brake pipe flare for the hydraulic brake pipes and system components used on this vehicle. Do NOT mis-match flare types. If the flare types are mis-matched, damage to the pipes and/or components, and/or a brake fluid leak may occur.





- First design, ISO flare (1)
- Second design, double inverted flare (2)

Removal Procedure





1. Place a shop towel under the proportioning valve assembly to catch any brake fluid loss.

Important: Prior to disconnecting the brake pipes from the proportioning valve assembly, note the locations of the brake pipes to the valve assembly, to aid during installation.

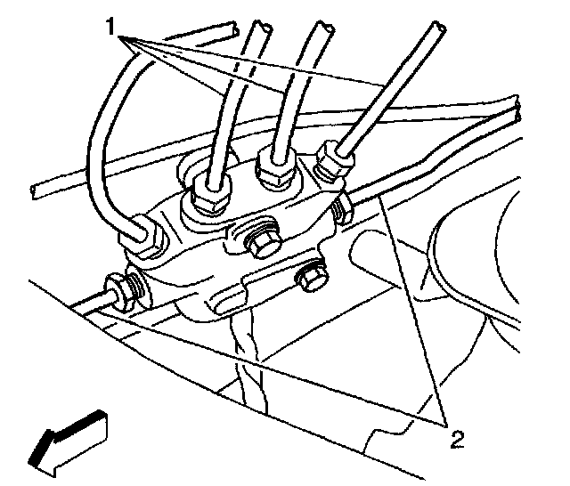
2. Disconnect the caliper and wheel cylinder brake pipes (1) from the proportioning valve assembly.
3. Cap or plug the brake pipe ends to prevent brake fluid loss and contamination.
4. Disconnect the master cylinder brake pipes (2) from the proportioning valve assembly.
5. Cap or plug the brake pipe ends to prevent brake fluid loss and contamination.
6. If the proportioning valve is to be reused, plug the ports to prevent brake fluid loss and contamination.





7. Release the forward lamp wiring harness from the proportioning valve assembly bracket.
8. Remove the proportioning valve assembly bracket mounting nut and mounting bolt.
9. Remove the proportioning valve assembly from the vehicle.

Installation Procedure





1. Install the proportioning valve assembly to the vehicle.

Notice: Refer to Fastener Notice in Service Precautions.

2. Install the proportioning valve assembly bracket mounting nut and mounting bolt.
- Tighten the nut to 25 Nm (18 ft. lbs.).
- Tighten the bolt to 25 Nm (18 ft. lbs.).
3. Secure the forward lamp wiring harness to the proportioning valve assembly bracket.





4. Remove the plugs from the proportioning valve assembly ports.
5. Remove the caps or plugs from the master cylinder brake pipe ends.
6. Connect the master cylinder brake pipes (2) to the proportioning valve assembly.
7. Tighten the brake pipe fittings at the proportioning valve assembly.
First Design ISO Flare to 19 Nm (14 ft. lbs.)
Second Design Double Inverted Flare to 18 Nm (13 ft. lbs.)

8. Remove the caps or plugs from the caliper and wheel cylinder brake pipe ends.
9. Connect the caliper and wheel cylinder brake pipes (1) to the proportioning valve assembly.
10. Tighten the brake pipe fittings at the proportioning valve assembly.
First Design ISO Flare to 19 Nm (14 ft. lbs.)
Second Design Double Inverted Flare to 18 Nm (13 ft. lbs.)

11. Bleed the hydraulic brake system.
12. Remove the shop towel and discard into an approved container.