Operation CHARM: Car repair manuals for everyone.
Manuals through 2025 now available!

Our trusted friends have launched a new website named LEMON, which has newer manuals. It also contains all the CHARM manuals.

LEMON is the spiritual successor to CHARM, I recommend you try it!

Link: lemon-manuals.la or lemon-manuals.org.ua

(Some people have issue connecting. LEMON is investigating. For now, use Firefox or change your DNS server)

Or, hide this message: temporarily or permanently

Case: Service and Repair



Case Side Cover Replacement

^ Tools Required
- J 36850 Transjel

Removal Procedure
1. Remove the battery box.
2. Disconnect the air duct hose from the intake plenum.





3. Disconnect the shift control cable (3) from the range select lever (4).
4. Release the shift control cable retaining clip (2) and remove the cable from the shift control cable bracket (1).





5. Remove the shift cable bracket bolt (3), nut (1), and bracket (2).
6. Remove the PNP switch.
7. Remove the engine support fixture.
8. Tie the radiator, air conditioning condenser, and fan module assembly to the upper radiator support to keep the assembly with the vehicle when the frame is lowered.
9. Raise the vehicle.
10. Remove the left front tire and wheel.
11. Remove the left front splash shield.
12. Separate the left ball joint from the steering knuckle. Refer to Lower Ball Joint Replacement.
13. Disconnect the left tie rod from the steering knuckle.
14. Disconnect the left stabilizer shaft link from the stabilizer shaft.
15. Remove the left wheel drive shaft from the transmission.
16. Remove the power steering gear intermediate shaft pinch bolt.
17. Remove the front transmission mount.





18. Remove the rear transmission mount to frame bolts.
19. Remove the frame bolts and lower the frame allowing the frame to hang from the right side suspension components.
20. Lower the vehicle.
21. Remove the left transmission mount.
22. Lower the engine and transmission with the engine support fixture until the transmission side cover will clear the inner fender.
23. Raise the vehicle.





24. Remove the transmission side cover bolts (3) and studs (4).
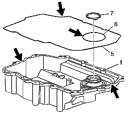
25. Separate the case side cover (1) from the transmission case at the dowel pin locations (45) to prevent damage to the sealing surfaces.
26. Remove the transmission side cover (1).
27. Remove the two side cover gaskets (5 and 6) if they do not remain with the side cover.
28. Remove the thrust washer (7) if it does not remain with the side cover.





29. Notice: Do not damage the case bore when removing the axle seal.
Remove the side cover axle seal (2). Use the handle end of a hammer.
30. Remove the sleeve from the output axle shaft.

Installation Procedure





1. Inspect the side cover for cracks or damage to the seal grooves and mounting bosses.
2. Inspect the side cover seals for damage. The side cover seals are reusable if not damaged.
3. Thoroughly clean the side cover and the side cover seals.
4. Clean and dry the seal grooves and the axle seal bore.
5. Install the side cover gaskets (5 and 6) into the grooves on the side cover (1).
6. Retain the seals with J 36850 or equivalent.
7. Install the side cover to drive sprocket thrust washer (7) onto the side cover.
8. Retain the thrust washer with J 36850 or equivalent.





9. Install the transmission side cover (1) to the transmission case.

10. Notice: Install the transmission side cover bolts (3) and studs (4).

Tighten the bolts and studs to 28 Nm (22 ft. lbs.).
11. Install the output axle seal and sleeve.
12. Lower the vehicle.
13. Raise the engine and transmission with the engine support fixture.
14. Install the transmission mount.
15. Raise the vehicle.
16. Install the frame bolts.





17. Install the rear transmission mount to frame bolts.
^ Tighten the bolts to 50 Nm (37 ft. lbs.).
18. Install the front transmission mount.
19. Install the power steering gear intermediate shaft pinch bolt.
20. Install the left wheel drive shaft to the transmission.
21. Connect the left ball joint to the steering knuckle.
22. Connect the left tie rod to the steering knuckle.
23. Connect the left stabilizer shaft link to the stabilizer shaft.
24. Install the left front splash shield.
25. Install the left front tire and wheel.
26. Lower the vehicle.
27. Untie the radiator, air conditioning condenser, and fan module assembly.
28. Remove the engine support fixture.
29. Install the PNP switch.





30. Install the shift cable bracket (2), bolt (3), and nut (1).
^ Tighten the bolt (3) and nut (1) to 22 Nm (16 ft. lbs.).





31. Install the shift control cable to the shift control cable bracket (1). Ensure the cable retaining clip (2) is fully seated.
32. Connect the shift control cable (3) to the range select lever (4).
33. Connect the air duct hose to the intake plenum.
34. Install the battery box.
35. Fill the transmission. Refer to Capacities - Approximate Fluid.