Operation CHARM: Car repair manuals for everyone.
Manuals through 2025 now available!

Our trusted friends have launched a new website named LEMON, which has newer manuals. It also contains all the CHARM manuals.

LEMON is the spiritual successor to CHARM, I recommend you try it!

Link: lemon-manuals.la or lemon-manuals.org.ua

(Some people have issue connecting. LEMON is investigating. For now, use Firefox or change your DNS server)

Or, hide this message: temporarily or permanently

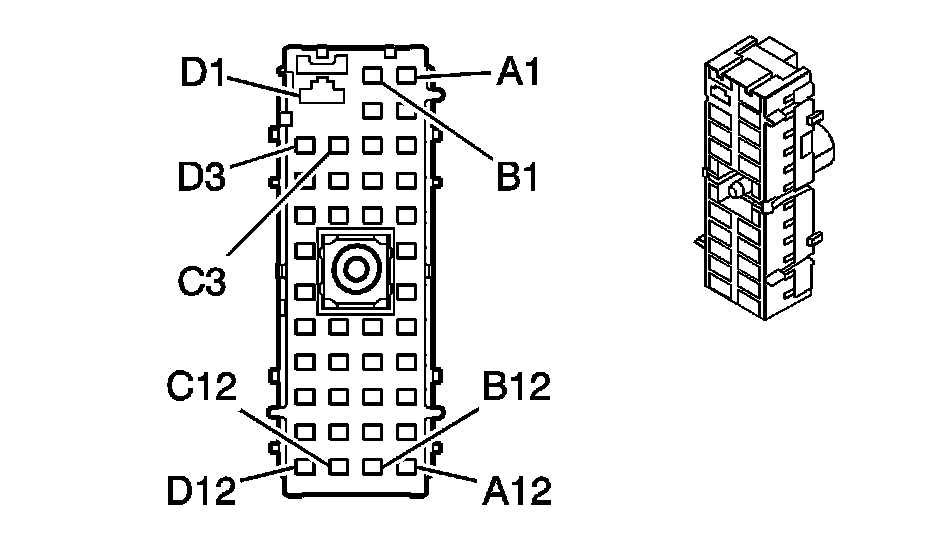
Rear Fuse Block



Electrical Center Identification Views

Fuse Block - Rear Top View






Fuse Block - Rear Bottom View






Fuse Block - Rear C1









Fuse Block - Rear C1 (Pin A1 To E6):





Fuse Block - Rear C1 (Pin E7 To F12):






Fuse Block - Rear C2














Fuse Block - Rear C3














Fuse Block - Rear C4