Operation CHARM: Car repair manuals for everyone.
Manuals through 2025 now available!

Our trusted friends have launched a new website named LEMON, which has newer manuals. It also contains all the CHARM manuals.

LEMON is the spiritual successor to CHARM, I recommend you try it!

Link: lemon-manuals.la or lemon-manuals.org.ua

(Some people have issue connecting. LEMON is investigating. For now, use Firefox or change your DNS server)

Or, hide this message: temporarily or permanently

Clutch Assembly



Disassembled Views

Driven Sprocket Support Assembly and 2nd Clutch

Driven Sprocket Support Assembly and 2nd Clutch:





400 - Driven Sprocket Support Bearing
401 - Driven Sprocket Support
402 - Driven Sprocket Support Bushing
403 - Oil Seal Ring
404 - 2nd Clutch Piston Assembly
405 - 2nd Clutch Spring Assembly
406 - 2nd Clutch Spring Retaining Ring
407 - Reverse Intermediate Clutch Housing Valve Assembly

Reverse Input Clutch Assembly

Reverse Input Clutch Assembly:





450 - 2nd Roller Clutch Retainer
451 - 2nd Roller Clutch Cam
452 - 2nd Roller Clutch Assembly
453 - Reverse Clutch Bushing
454 - Reverse Clutch Housing
455 - Reverse Clutch Bushing
456 - Reverse Clutch Center Retainer and Seal Assembly
457 - Reverse Clutch Piston Assembly
458 - Reverse Clutch Spring and Retainer Assembly
459 - Snap Ring (Reverse Clutch Spring Retainer)
460 - Reverse Clutch Plate (Waved)
461 - Reverse Clutch Plate (Steel)
462 - Reverse Clutch Plate (Fiber)
463 - Reverse Clutch Backing Plate
464 - Snap Ring (Reverse Clutch)

Direct and Coast Clutch Assemblies

Direct and Coast Clutch Assemblies:





500 - Input Shaft Oil Seal Ring
501 - Input Shaft Bushing
502 - Direct and Coast Clutch and Input Shaft Housing
503 - Direct Clutch Housing to Output Shaft Bushing
504 - Coast Clutch Piston Assembly
505 - Coast Clutch Release Spring
506 - Coast Clutch Spring Retainer
507 - Snap Ring (Coast Clutch Spring Retainer)
508 - Coast Clutch Plate (Steel)
509 - Coast Clutch Plate (Fiber)
510 - Thrust Bearing
511 - Input Sun Gear Shaft and Inner Race Assembly
512 - Outer Race (Input Sprag)
514 - Sprag Clutch End Bearings (2)
514 - Sprag Clutch End Bearings (2)
515 - Input Sprag Assembly
516 - Snap Ring (Outer Race to Sprag Assembly)
517 - Snap Ring (Direct/Coast Clutch Retaining)
518 - Direct Clutch Piston Assembly
519 - Direct Clutch Spring and Retainer Assembly
520 - Direct Clutch Spring Retainer Ring
521 - Direct Clutch Plate (Steel) - 7 or 6 - Model Dependent
522 - Direct Clutch Plate (Fiber) - 5 or 6 - Model Dependent
523 - Direct Clutch Plate (Backing)
524 - Thrust Bearing
525 - Reaction Carrier Shaft Bushing
526 - Reaction Carrier Shaft Shell
527 - Thrust Bearing (Carrier Shaft to Shell)
528 - Reaction Sun Gear Bushing
529 - Reaction Sun Shell
531 - Reaction Carrier Assembly
532 - Thrust Bearing (Reaction Carrier to Sun Gear)
533 - Input Sun Gear
534 - Snap Ring

Reaction Carrier Assembly

Reaction Carrier Assembly:





550 - Reaction Carrier
551 - Thrust Bearing
552 - Planetary Pinion Gear Pin
553 - Pinion Thrust Reaction Washer
553 - Pinion Thrust Reaction Washer
554 - Pinion Thrust Inner Washer
554 - Pinion Thrust Inner Washer
555 - Roller Needle Bearing
556 - Reaction Planetary Pinion Gear

Input Carrier Assembly

Input Carrier Assembly:





560 - Internal Gear (Input and Reaction)
561 - Thrust Bearing
562 - Input Carrier
563 - Snap Ring (Input Carrier to Internal Gear)
564 - Planetary Pinion Gear Pin
565 - Pinion Thrust Input Washer
565 - Pinion Thrust Input Washer
566 - Pinion Thrust Inner Washer
566 - Pinion Thrust Inner Washer
567 - Roller Needle Bearing
568 - Input Planetary Pinion Gear

Input Internal Gear and Forward Clutch Hub

Input Internal Gear and Forward Clutch Hub:





560 - Internal Gear (Input and Reaction)
575 - Input Flange Bushing
577 - Input Flange and Forward Clutch Hub
578 - Snap Ring (Input Internal Gear to Input Flange)

Forward Clutch Assembly

Forward Clutch Assembly:





600 - Snap Ring (Forward Clutch)
601 - Forward Clutch Plate (Backing)
602 - Forward Clutch Plate (Fiber)
603 - Forward Clutch Plate (Steel)
604 - Forward Clutch Plate (Waved)
605 - Snap Ring (Forward Clutch Spring Assembly)
606 - Forward Clutch Return Spring Assembly
607 - Forward Clutch Piston Assembly
608 - Forward Clutch Inner Seal and Sleeve Assembly
609 - Forward Clutch Housing
610 - Forward Clutch Support Bushing
611 - Forward Clutch Support Bushing

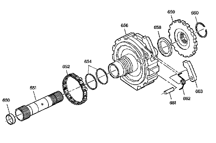
Forward Clutch Support Assembly

Forward Clutch Support Assembly:





650 - Final Drive Sun Shaft Bushing
651 - Final Drive Sun Shaft
652 - Lo Roller Clutch Assembly
654 - Oil Seal Ring (Forward Clutch Support)
656 - Forward Clutch Support
658 - Thrust Bearing (Forward Support to Park Gear)
659 - Park Lock Gear
660 - Snap Ring (Final Drive Sun Shaft)
661 - Parking Lock Pawl Shaft
662 - Parking Lock Pawl Return Spring
663 - Parking Lock Pawl