Operation CHARM: Car repair manuals for everyone.
Manuals through 2025 now available!

Our trusted friends have launched a new website named LEMON, which has newer manuals. It also contains all the CHARM manuals.

LEMON is the spiritual successor to CHARM, I recommend you try it!

Link: lemon-manuals.la or lemon-manuals.org.ua

(Some people have issue connecting. LEMON is investigating. For now, use Firefox or change your DNS server)

Or, hide this message: temporarily or permanently

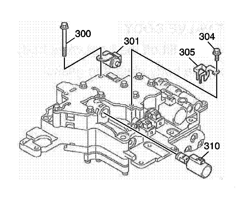
Neutral Control Solenoid Valve Replacement



Neutral Control Solenoid Valve Replacement

Removal Procedure





1. Remove the control valve body cover. Refer to Control Valve Body Cover Replacement (Control Valve Body Cover Replacement) .
2. Remove the 1 control valve body bolt (300) and the neutral switching solenoid valve (301).



Installation Procedure






Notice: Refer to Fastener Notice (Fastener Notice) .

1. Install the neutral switching solenoid valve (301) and the 1 control valve body bolt (300).

Tighten the bolt to 5.9-7.4 N.m (52.50-65.50 lb in).

2. Install the control valve body cover. Refer to Control Valve Body Cover Replacement (Control Valve Body Cover Replacement) .