Operation CHARM: Car repair manuals for everyone.
Manuals through 2025 now available!

Our trusted friends have launched a new website named LEMON, which has newer manuals. It also contains all the CHARM manuals.

LEMON is the spiritual successor to CHARM, I recommend you try it!

Link: lemon-manuals.la or lemon-manuals.org.ua

(Some people have issue connecting. LEMON is investigating. For now, use Firefox or change your DNS server)

Or, hide this message: temporarily or permanently

Luggage Compartment/Rear of Vehicle Component Views



Luggage Compartment/Rear of Vehicle Component Views

Generator Battery Assembly (HP7)




1 - Generator Battery 1
2 - Generator Battery Temperature Sensor 1A
3 - Generator Battery Temperature Sensor 1B
4 - Generator Battery 2
5 - Generator Battery Temperature Sensor 2A
6 - Generator Battery Temperature Sensor 2B
7 - Generator Battery 3
8 - Generator Battery Temperature Sensor 3A
9 - Generator Battery Temperature Sensor 3B
10 - Generator Battery Vent Fan
11 - Main Contactor Relay
12 - Battery Disconnect Switch
13 - Generator Battery Disconnect Control Module

Right Side of the Luggage Compartment




1 - Speaker - Subwoofer (WBM)
2 - Rear Compartment Courtesy Lamp - Right
3 - Accessory Power Outlet - Rear
4 - Fuel System Control Module (FSCM)

Left Side of the Luggage Compartment




1 - Rear Compartment Courtesy Lamp - Left
2 - Fuel Door Latch Actuator
3 - Digital Radio Receiver (U2K)

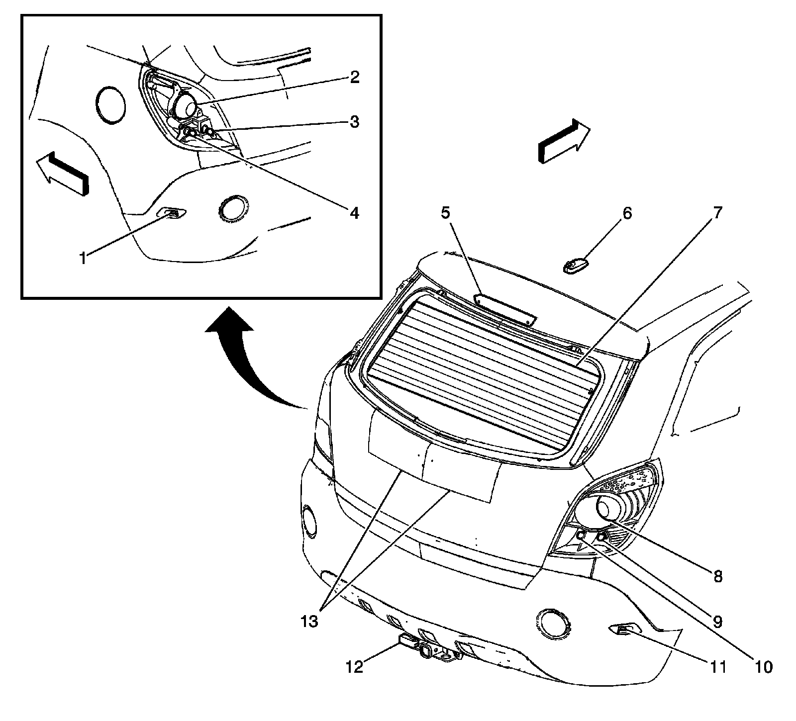
Liftgate Components




1 - Rear Window Wiper/Washer Module
2 - Liftgate Latch Actuator
3 - Liftgate Release Switch

Rear Fascia Lighting Components




1 - Marker Lamp - Left Rear
2 - Tail/Stop Lamp - Left
3 - Backup Lamp - Left
4 - Turn Signal Lamp - Left Rear
5 - Center High Mounted Stop Lamp (CHMSL)
6 - Digital Radio/Cellular Telephone/Radio Antenna (U2K/UE1)
7 - Rear Window Defogger Grid
8 - Tail/Stop Lamp - Right
9 - Turn Signal Lamp - Right Rear
10 - Marker Lamp - Right Rear
11 - Trailer Connector
12 - License Lamps