Operation CHARM: Car repair manuals for everyone.
Manuals through 2025 now available!

Our trusted friends have launched a new website named LEMON, which has newer manuals. It also contains all the CHARM manuals.

LEMON is the spiritual successor to CHARM, I recommend you try it!

Link: lemon-manuals.la or lemon-manuals.org.ua

(Some people have issue connecting. LEMON is investigating. For now, use Firefox or change your DNS server)

Or, hide this message: temporarily or permanently

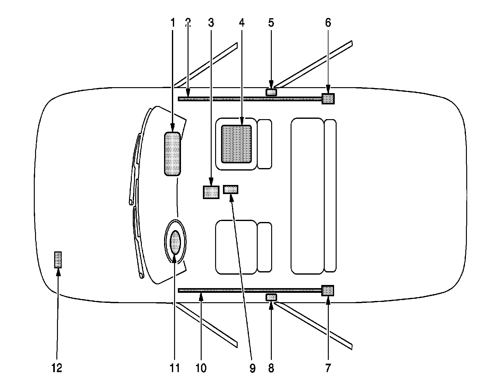
Air Bag Systems: Locations



SIR Identification Views

The SIR Identification Views shown below illustrate the approximate location of all SIR components available for the vehicle. This will assist in determining the appropriate SIR Disabling and Enabling for a given service procedure, Refer to SIR Disabling and Enabling (Service and Repair) .




1 - I/P Air Bag-Located at the top right under the instrument panel
2 - Right Roof Rail Air Bag-Located under the headliner, extending from the passenger front windshield pillar to the passenger rear windshield pillar
3 - Sensing and Diagnostic Module (SDM)-Located underneath the vehicle carpet under the center console
4 - Passenger Presence System (PPS)-Located in passenger seat
5 - Passenger/Right Side Impact Sensor (SIS) and Seat Belt Pretensioner-Located under the trim near the bottom of the center pillar
6 - Inflator Module for Right Roof Rail Module-Located behind the garnish molding on the upper rear pillar
7 - Inflator Module for Left Roof Rail Module-Located behind garnish molding on the upper rear pillar
8 - Driver/Left Side Impact Sensor (SIS) and Seat Belt Pretensioner-Located under the trim near the bottom of the center pillar
9 - Vehicle Rollover Sensor-Located under center console
10 - Left Roof Rail Air Bag-Located under the headliner, extending from the driver front windshield pillar to the driver rear windshield pillar
11 - Steering Wheel Air Bag-Located on the steering wheel
12 - Vehicle Battery-Located at the front left of the engine compartment.