Operation CHARM: Car repair manuals for everyone.
Manuals through 2025 now available!

Our trusted friends have launched a new website named LEMON, which has newer manuals. It also contains all the CHARM manuals.

LEMON is the spiritual successor to CHARM, I recommend you try it!

Link: lemon-manuals.la or lemon-manuals.org.ua

(Some people have issue connecting. LEMON is investigating. For now, use Firefox or change your DNS server)

Or, hide this message: temporarily or permanently

Luggage Compartment/Rear of Vehicle Component Views




Luggage Compartment/Rear of Vehicle Component Views

Generator Battery Assembly (HP7)




1 - Generator Battery 1
2 - Generator Battery Temperature Sensor 1
3 - Generator Battery Temperature Sensor 1
4 - Generator Battery 2
5 - Generator Battery Temperature Sensor 2
6 - Generator Battery Temperature Sensor 2
7 - Generator Battery 3
8 - Generator Battery Temperature Sensor 3
9 - Generator Battery Temperature Sensor 3
10 - Generator Battery Vent Fan
11 - Battery Current Sensor
12 - Main Conductor Relay
13 - Battery Disconnect Switch
14 - Generator Battery Disconnect Control Module

Rear Compartment (HP5)




1 - G402
2 - High Voltage Cables
3 - G401
4 - G405

Left Side of the Luggage Compartment




1 - Rear Compartment Courtesy Lamp - Left
2 - Fuel Door Release Actuator
3 - Digital Radio Receiver ( U2K)

Liftgate Components




1 - Rear Window Wiper Control Module
2 - Liftgate Latch Assembly
3 - Liftgate Release Switch

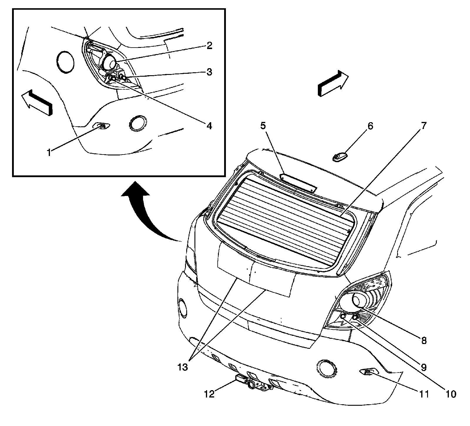
Rear Fascia Lighting Components




1 - Marker Lamp - Left Rear
2 - Tail/Stop Lamp - Left
3 - Backup Lamp - Left
4 - Turn Signal Lamp - Left Rear
5 - Center High Mounted Stop Lamp (CHMSL)
6 - Radio Antennas - Cellular (UE1), Digital (U2K), Radio Antenna
7 - Rear Window Defogger Grid
8 - Tail/Stop Lamp - Right
9 - Turn Signal Lamp - Right Rear
10 - Backup Lamp - Right
11 - Marker Lamp - Right Rear
12 - Trailer Connector Adapter (V92)
13 - License Lamps - Left and Right

Right Side of the Luggage Compartment




1 - Speaker - Subwoofer (U61)
2 - Rear Compartment Courtesy Lamp - Right
3 - Accessory Power Outlet - Rear
4 - Audio Amplifier (U61)
5 - Fuel Pump Flow Control Module