Operation CHARM: Car repair manuals for everyone.
Manuals through 2025 now available!

Our trusted friends have launched a new website named LEMON, which has newer manuals. It also contains all the CHARM manuals.

LEMON is the spiritual successor to CHARM, I recommend you try it!

Link: lemon-manuals.la or lemon-manuals.org.ua

(Some people have issue connecting. LEMON is investigating. For now, use Firefox or change your DNS server)

Or, hide this message: temporarily or permanently

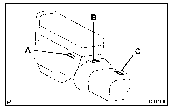
Engine Serial Number and Transaxle Serial Number

ENGINE SERIAL NUMBER AND TRANSAXLE SERIAL NUMBER




The engine serial number is stamped on the cylinder block of the engine and the transmission serial number is stamped on the housing as shown in the illustration.

A: 1NZ-FE
B: C50
C: U340E