Operation CHARM: Car repair manuals for everyone.
Manuals through 2025 now available!

Our trusted friends have launched a new website named LEMON, which has newer manuals. It also contains all the CHARM manuals.

LEMON is the spiritual successor to CHARM, I recommend you try it!

Link: lemon-manuals.la or lemon-manuals.org.ua

(Some people have issue connecting. LEMON is investigating. For now, use Firefox or change your DNS server)

Or, hide this message: temporarily or permanently

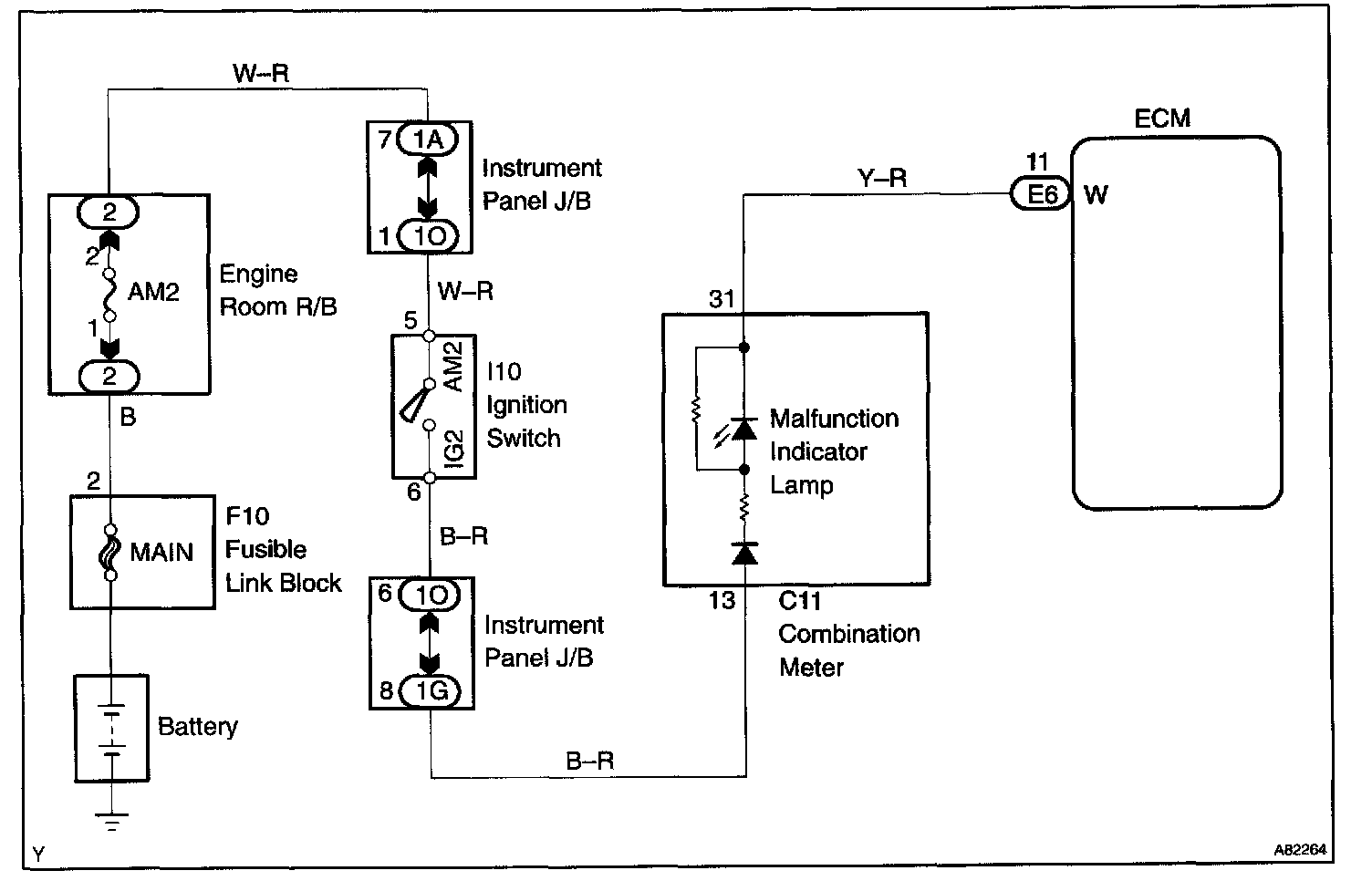
MIL Circuit

MIL CIRCUIT

CIRCUIT DESCRIPTION

The ignition switch provides circuit power and the ECM provides the circuit ground that illuminates the MIL.
MIL operation is checked visually:

It should be illuminated when the ignition is first turned on. If the MIL is off all of the time or on all of the time, use the procedure below to troubleshoot it. The MIL is used to indicate the ECM's detection of a vehicle malfunction. Follow this procedure using the hand-held tester or an OBD II scan tool to determine the cause of the problem and to check the MIL.

Wiring Diagram:









Step 1 - 4:




INSPECTION PROCEDURE

HINT: Troubleshoot each trouble symptom in accordance with the chart.