Operation CHARM: Car repair manuals for everyone.
Manuals through 2025 now available!

Our trusted friends have launched a new website named LEMON, which has newer manuals. It also contains all the CHARM manuals.

LEMON is the spiritual successor to CHARM, I recommend you try it!

Link: lemon-manuals.la or lemon-manuals.org.ua

(Some people have issue connecting. LEMON is investigating. For now, use Firefox or change your DNS server)

Or, hide this message: temporarily or permanently

Cylinder Block Assembly: Service and Repair






CYLINDER BLOCK ASSY
OVERHAUL





1. INSPECT CONNECTING ROD THRUST CLEARANCE
a. Using a dial indicator, measure the thrust clearance while moving the connecting rod back and forth.
Standard thrust clearance: 0.16 - 0.36 mm (0.0063 - 0.0142 in.)
Maximum thrust clearance: 0.36 mm (0.0142 in.)
2. INSPECT CONNECTING ROD OIL CLEARANCE
a. Check that the matchmarks on the connecting rod and cap are aligned to ensure correct re-assembly.





b. Using SST, remove the 2 connecting rod cap bolts.
SST 09205-16010
c. Clean the crank pin and bearing.
d. Check the crank pin and bearing for pittings and scratches.





e. Lay a strip of Plastigage on the crank pin.





f. Make sure that the connecting rod and its cap are in the correct combination and front mark of the cap is facing the correct mounting orientation, then install the cap to the connecting rod.
g. Apply a light coat of engine oil on the threads of the connecting rod cap bolts.





h. Using SST, tighten the bolts in several steps to the specified torque.
SST 09205-16010
Torque: 15 Nm (153 kgf-cm, 11 ft. lbs.)
i. Mark the front of the connecting cap bolts with paint.





j. Retighten the cap bolts by 90° as shown in the illustration.

NOTICE: Do not turn the crankshaft.

k. Remove the 2 bolts, connecting rod cap and lower bearing.





l. Measure the Plastigage at its widest point.
Standard oil clearance: 0.016 - 0.040 mm (0.0006 - 0.0016 in.)
Maximum oil clearance: 0.06 mm (0.0024 in.)

NOTICE: Completely remove the Plastigage.





m. If replacing a bearing, replace it with one having the same number as marked on the connecting rod. There are 3 sizes of standard bearings, marked "1", "2" and "3" accordingly.





HINT: Standard bearing center wall thickness.





3. REMOVE PISTON SUB-ASSY W/ CONNECTING ROD
a. Using a ride reamer, remove all the carbon from the top of the cylinder.
b. Push the piston, connecting rod assembly and upper bearing through the top of the cylinder block.

HINT:
^ Keep the bearing, connecting rod and cap together.
^ Keep the piston and the connecting rod assemblies in correct order so they can be returned to the original location.

4. REMOVE CONNECTING ROD BEARING





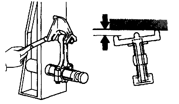
5. INSPECT CRANKSHAFT THRUST CLEARANCE
a. Using a dial indicator, measure the thrust clearance while prying the crankshaft back and forth with a screwdriver.
Standard thrust clearance: 0.09 - 0.19 mm (0.0035 - 0.0075 in.)
Maximum thrust clearance: 0.30 mm (0.0118 in.)
If the thrust clearance is greater than maximum, replace the thrust washers as a set. Check the crankshaft and block for wear and repair or replace if necessary.

HINT: Thrust washer thickness is 2.43 to 2.48 mm (0.0957 to 0.0976 in.).





6. REMOVE CRANKSHAFT
a. Using several steps, loosen and remove the 10 bearing cap sub-assembly bolts uniformly with SST in the sequence shown in the illustration.
SST 09011-38121
b. Remove the bearing cap and crankshaft.
7. REMOVE CRANKSHAFT BEARING





8. REMOVE PISTON RING SET

HINT: Keep the piston rings in the correct combination and correct order so they can be returned to the original location when re-assembling.

a. Closing a piston ring expander, remove the 2 compression rings.
b. Remove the 2 side rails and oil ring by hand.





9. REMOVE W/ PIN PISTON SUB-ASSY
a. Using SST, press out the piston pin from the piston.
SST 09221-25026 (09221-00021, 09221-00030, 09221-00190, 09221-00141, 09221-00150)

NOTICE: Keep the pistons, pins, ring, connecting rods and bearings in the correct order so they can be returned to the original location when re-assembling.

10. REMOVE CYLINDER BLOCK WATER DRAIN COCK PLUG
11. REMOVE STUD BOLT
a. Using Torx socket wrench E5, remove the 6 stud bolts.
12. REMOVE STRAIGHT PIN
13. REMOVE STRAIGHT PIN
14. REMOVE TIGHT PLUG





15. INSPECT CYLINDER BLOCK FOR FLATNESS
a. Using a precision straight edge and feeler gauge, measure the surface contacting the cylinder head gasket for warpage.
Maximum warpage: 0.05 mm (0.0020 in.)





16. INSPECT CYLINDER BORE
a. Using a cylinder gauge, measure the cylinder bore diameter at positions A, B and C in the thrust and axial directions.
Standard diameter: 75.000 - 75.013 mm (2.9528 - 2.9533 in.)
b. Calculate the difference between the maximum diameter and the minimum diameter in the 6 measured values.
Difference limit: 0.10 mm (0.0039 in.)
If the difference is greater than limit, replace the cylinder block.





17. INSPECT W/ PIN PISTON SUB-ASSY
a. Using a micrometer, measure the piston diameter at right angle to the piston pin center line, and at the position of 27 mm (1.06 in.) from top of the piston head.
Piston diameter: 74.945 - 74.955 mm (2.9506 - 2.9510 in.)
b. Using a caliper gauge, measure the piston pin hole diameter of the piston.
Piston pin hole diameter at 20 °C (68 °F): 18.013 to 18.016 mm (0.7092 to 0.7093 in.)





c. Using a micrometer, measure the piston pin diameter.
Piston pin diameter: 18.001 - 18.004 mm (0.7087 - 0.7088 in.)
d. Subtract the piston pin diameter measurement from the piston pin hole diameter measurement.
Standard oil clearance: 0.009 - 0.015 mm (0.0004 - 0.0006 in.)
Maximum oil clearance: 0.050 mm (0.0020 in.)
If the clearance is greater than maximum, replace the bushing.
If necessary, replace the piston and piston pin together.
18. INSPECT PISTON CLEARANCE
a. Subtract the piston diameter measurement from the cylinder bore diameter measurement.
Standard oil clearance: 0.045 - 0.068 mm (0.0018 - 0.0027 in.)
Maximum oil clearance: 0.08 mm (0.0032 in.)
If the oil clearance is greater than maximum, replace all the 4 pistons. If necessary, replace the cylinder block.





19. INSPECT CONNECTING ROD SUB-ASSY
a. Using a rod aligner and feeler gauge, check the connecting rod alignment.
1. Check for misalignment.
Maximum misalignment: 0.05 mm (0.0020 in.) per 100 mm (3.94 in.)
If the misalignment is greater than maximum, replace the connecting rod assembly.





2. Check for twist.
Maximum twist: 0.05 mm (0.0020 in.) per 100 mm (3.94 in.)
If the twist is greater than maximum, replace the connecting rod assembly.





20. INSPECT RING GROOVE CLEARANCE
a. Using a feeler gauge, measure the clearance between a new piston ring and the wall of the ring groove.
Ring groove clearance:
No.1 0.03 - 0.07 mm (0.0012 - 0.0028 in.)
No.2 0.02 - 0.06 mm (0.0008 - 0.0024 in.)





21. INSPECT PISTON RING END GAP
a. Using a piston, push the piston ring a little beyond the bottom of the ring travel, 110 mm (4.33 in.) from the top of the cylinder block.





b. Using a feeler gauge, measure the end gap.
Standard end gap:
No.1 0.25 - 0.35 mm (0.0098 - 0.0138 in.)
No.2 0.35 - 0.50 mm (0.0138 - 0.0197 in.)
On (Side rail) 0.10 - 0.35 mm (0.0039 - 0.0138 in.)
Maximum end gap:
No.1 0.91 mm (0.0358 in.)
No.2 1.06 mm (0.0417 in.)
On (Side rail) 0.82 mm (0.0323 in.)





22. INSPECT CONNECTING ROD BOLT
a. Using vernier calipers, measure the tension portion diameter of the bolt.
Standard diameter: 6.6 - 6.7 mm (0.260 - 0.264 in.)
Maximum diameter: 6.4 mm (0.252 in.)
If the diameter is less than minimum, replace the bolt.





23. INSPECT CRANKSHAFT
a. Using a dial indicator and V-blocks, measure the circle runout, as shown in the illustration.
Maximum circle runout: 0.03 mm (0.0012 in.)





b. Using a micrometer, measure the diameter of each main journal.
Diameter: 45.988 to 46.000 mm (1.8106 to 1.8110 in.)
c. Check each main journal for taper and out-f-round as shown.
Maximum taper and out-of-round: 0.02 mm (0.0008 in.)





d. Using a micrometer, measure the diameter of each crankpin.
Diameter: 39.992 - 40.000 mm (1.5745 - 1.5748 in.)
e. Check each crank pin for taper and out-of-round as shown.
Maximum taper and out-of-round: 0.02 mm (0.0008 in.)
f. Wrap the chain around the timing sprocket.





g. Using vernier calipers, measure the timing sprocket diameter with the chain wrapped.
Standard sprocket diameter (w/ chain): 51.72 mm (2.0362 in.)
Maximum sprocket diameter (w/ chain): 50.5 mm (1.988 in.)

NOTICE: Vernier calipers must contact the chain rollers for measuring.





24. INSPECT CRANKSHAFT BEARING CAP SET BOLT
a. Using vernier calipers, measure the tension portion diameter of the bolt.
Standard diameter: 7.3 - 7.5 mm (0.287 - 0.295 in.)
Minimum diameter: 7.2 mm (0.283 in.)
If the diameter is less than minimum, replace the bolt.
25. INSPECT CRANKSHAFT OIL CLEARANCE
a. Clean each main journal and bearing.





b. Install the bearing on the cylinder block and bearing cap.

NOTICE: Clean the backside of the bearing and the bearing surface of the bearing cap and keep free of oils.

HINT: In case of reusing manufacture parts, measure the clearance on both sides of the bearing and install it so that the difference between measured values will be within the specified bellow.

Specified clearance:
A - B = within 0.8 mm (0.032 in.)
C - D = within 0.4 mm (0.016 in.)
c. Place the crankshaft on the cylinder block.





d. Lay a strip of Plastigage across each journal.





e. Examine the front marks and numbers and install the bearing caps on the cylinder block.
f. Apply a light coat of engine oil on the threads of the bearing cap bolts.





g. Using several steps, tighten the bolts with SST in the sequence shown in the illustration.
SST 09011-38121
Torque: 22 Nm (224 kgf-cm, 16 ft. lbs.)





h. Mark the front of the bearing cap bolts with paint.
i. Retighten the bearing cap bolts by 90° in the same sequence as step (9).
j. Check that each painted mark is now at a 90° angle to the front.

NOTICE: Do not turn the crankshaft.

k. Remove the bearing cap sub-assembly.





l. Measure the Plastigage at its widest point.
Standard oil clearance: 0.01 - 0.023 mm (0.0004 - 0.0009 in.)
Maximum oil clearance: 0.07 mm (0.0028 in.)

NOTICE: Completely remove the Plastigage.











m. If using a standard bearing, replace it with one having the same number as the old one. If the number of the bearing cannot be determined, select a proper bearing by putting together numbers imprinted on the cylinder block and crankshaft. This total number will help you to select an applicable bearing among the 4 standard bearings, marked "1," "2," "3" and "4." For details about selection, refer to the table and hint.

HINT: Example Cylinder block with imprinted number 4 Crankshaft with imprinted number 3
4 + 3 = 7
Select the bearing with marked 3.

26. INSTALL CYLINDER BLOCK WATER DRAIN COCK PLUG
a. Apply 2 or 3 threads of adhesive to the drain union, and install it within 3 minutes.





b. After applying the specified torque, rotate the drain union clockwise until its drain port faces downward.
Torque: 35 Nm (357 kgf-cm, 26 ft. lbs.)

NOTICE:
^ Install the water drain cock within 3 minutes after applying adhesive.
^ Do not put into coolant in an hour of installation.
^ Do not rotate the drain union more than 360° in step (b), and never loosen it after setting the union correctly.

27. INSTALL TIGHT PLUG
a. Apply adhesive to the tight plugs








b. Using SST, tap into the tight plugs as shown in the illustration.
SST 09950-60010 (09951-00180), 09950-70010 (09951-07100)
Standard depth: 0.2 - 1.2 mm (0.008 - 0.047 in.)





28. INSTALL STRAIGHT PIN
a. Using a plastic-faced hammer, tap into the new straight pin.
Standard protrusion: 8.5 to 9.5 mm (0.335 to 0.374 in.)





29. INSTALL STRAIGHT PIN
a. Using a plastic-faced hammer, tap into the new straight pin.
Standard protrusion:
Pin A 3.5 - 4.5 mm (0.138 - 0.177 in.)
Pin B 18.5 - 19.5 mm (0.728 - 0.768 in.)
Pin C 8.5 - 9.5 mm (0.335 - 0.374 in.)
Pin D 11.5 - 12.5 mm (0.453 - 0.492 in.)





30. INSTALL STUD BOLT
a. Using Torx socket wrench E5, install the 6 stud bolts.
Torque: 5.0 Nm (51 kgf-cm, 44 in. lbs.)





31. INSTALL CRANKSHAFT
a. Install the upper bearing with an oil groove on the cylinder block.
b. Install the lower bearing to the bearing cap.

NOTICE: Clean the backside of the bearing and the bearing surface of the bearing cap and keep free of oils.

HINT: In case of reusing manufacture parts, measure the clearance on both sides of the bearing and install it so that the difference between measured values will be within the specified bellow.

Specified clearance:
A - B = within 0.8 mm (0.032 in.)
C - D = within 0.4 mm (0.016 in.)





c. Install the 2 thrust washers to the No. 3 journal position of the cylinder block with the oil grooves facing outward.
d. Apply engine oil to the upper bearing and install the crankshaft on the cylinder block.





e. Examine the front marks and numbers and install the bearing caps on the cylinder block.
f. Apply a light coat of engine oil on the threads of the bearing cap bolts.





g. Using several steps, tighten the bolts with SST in the sequence shown in the illustration.
SST 09011-38121
Torque: 22 Nm (224 kgf-cm, 16 ft. lbs.)

NOTICE: Check that the crankshaft turns smoothly.





h. Mark the front of the bearing cap bolts with paint.
i. Retighten the bearing cap bolts by 90° in the same sequence as step (g).
j. Check that each painted mark is now at a 90° angle to the front.





32. INSTALL W/ PIN PISTON SUB-ASSY
a. Coat inside surface of the connecting rod bore and piston pin with engine oil.
b. Align the cavity of the piston with the protruded portion on the connecting rod.





c. Using SST, press in the piston pin.
SST 09221-25026 (09221-00021, 09221-00030, 09221-00190, 09221-00141, 09221-00150)

NOTICE: Keep the pistons, pins, rings, connecting rods and bearings in the correct order so they can be returned to the original location when to assembling.





33. INSTALL CONNECTING ROD BEARING
a. Align the bearing claw with the groove of the connecting rod or connecting cap.

NOTICE: Clean the backside of the bearing and the bearing surface of the connecting rod and keep free of oils.





34. INSTALL PISTON RING SET

HINT: In case of reusing the piston rings, install them to the matched pistons with the surfaces facing correctly.

a. Install the oil ring expander and 2 side rails by hand.
b. Using a piston ring expander, install the 2 compression rings.





c. Position the piston rings so that the ring ends are as shown.
35. INSTALL PISTON SUB-ASSY W/ CONNECTING ROD
a. Apply engine oil to the cylinder walls, pistons, and surfaces of the connecting rod bearings.
b. Check the position of the piston ring ends.





c. Using a piston ring compressor, push the correctly numbered piston and connecting rod assemblies into each cylinder with the front mark of the piston facing forward.

NOTICE:
^ Clean the backside of the bearing and the bearing surface of the connecting rod cap and keep free of oils.
^ Match the numbered connecting rod cap with the connecting rod.





d. Make sure that the connecting rod and its cap are in the correct combination and front mark of the cap is facing the correct mounting orientation, then install the cap to the connecting rod.
e. Apply a light coat of engine oil on the threads of the connecting rod cap bolts.





f. Using SST, tighten the bolts in several steps to the specified torque.
SST 09205-16010
Torque: 15 Nm (153 kgf-cm, 11 ft. lbs.)





g. Mark the front of the connecting cap bolts with paint.
h. Retighten the cap bolts by 90° as shown.
i. Check that each painted mark is at a 90° angle to the front.
j. Check that the crankshaft turns smoothly.