Operation CHARM: Car repair manuals for everyone.
Manuals through 2025 now available!

Our trusted friends have launched a new website named LEMON, which has newer manuals. It also contains all the CHARM manuals.

LEMON is the spiritual successor to CHARM, I recommend you try it!

Link: lemon-manuals.la or lemon-manuals.org.ua

(Some people have issue connecting. LEMON is investigating. For now, use Firefox or change your DNS server)

Or, hide this message: temporarily or permanently

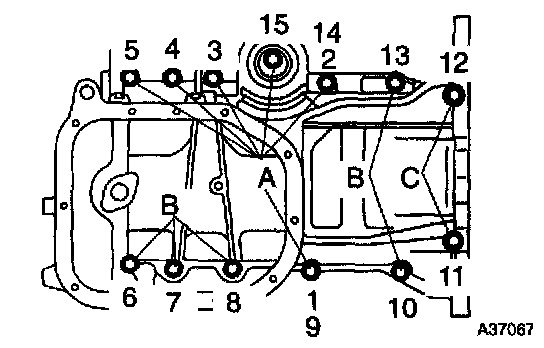
Oil Pan, Engine





Using several steps, install and tighten the 13 bolts uniformly in the sequence shown in the illustration.

Oil pan drain plug x Oil pan No. 2 38 Nm (382 kgf-cm, 28 ft. lbs.)
Stud bolt x Oil pan No. 1 5.0 Nm (51 kgf-cm, 44 in. lbs.)
Oil pan No. 1 x Cylinder block 24 Nm (245 kgf-cm, 18 ft. lbs.)
Oil strainer x Oil pan No. 1 11 Nm (112 kgf-cm, 8.1 ft. lbs.)
Oil pan No. 2 x Oil pan No. 1 9.0 Nm (92 kgf-cm, 80 in. lbs.)
Drain plug x Oil pan No. 2 38 Nm (382 kgf-cm, 28 ft. lbs.)
Oil filter union x Oil pan No. 1 30 Nm (306 kgf-cm, 22 ft. lbs.)