Operation CHARM: Car repair manuals for everyone.
Manuals through 2025 now available!

Our trusted friends have launched a new website named LEMON, which has newer manuals. It also contains all the CHARM manuals.

LEMON is the spiritual successor to CHARM, I recommend you try it!

Link: lemon-manuals.la or lemon-manuals.org.ua

(Some people have issue connecting. LEMON is investigating. For now, use Firefox or change your DNS server)

Or, hide this message: temporarily or permanently

System Description

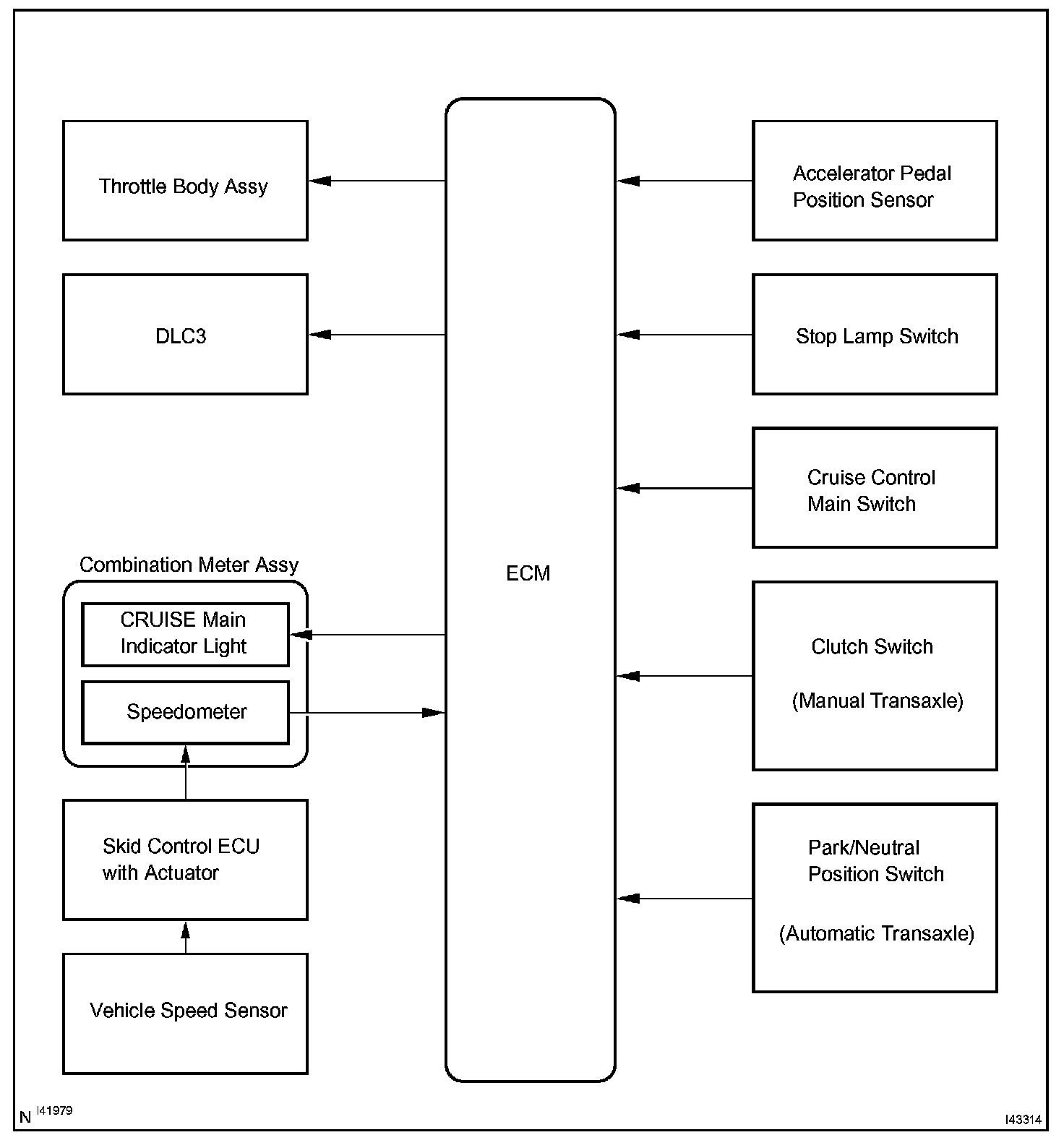
System Diagram:






SYSTEM DESCRIPTION

1. CRUISE CONTROL SYSTEM
The cruise control system makes it possible to drive at a desired speed without using the accelerator pedal. The ECM controls the throttle opening angle based on signals from switches and sensors.

A microcomputer which controls the cruise control system is built into the ECM, and the actuator is the throttle body assembly.

Constant speed control is ready to operate when the cruise control main switch ON-OFF button is pushed (the CRUISE main indicator light comes on).

Operating the cruise control main switch, the driver can control the following functions.

2. LIMIT CONTROL
a. Low speed limit
The lowest possible limit of the speed setting range is set at approximately 40 km/h (25 mph). The cruise control system cannot be set when the driving vehicle speed is below the low speed limit. Cruise control operation will be automatically canceled when the vehicle speed goes below the low speed limit while the cruise control is in operation.

b. High speed limit
The highest possible limit of the speed setting range is set at approximately 200 km/h (125 mph). The cruise control system cannot be set when the driving vehicle speed is over the high speed limit. Speed up using "RES/+" with the cruise control main switch assembly also cannot be set beyond the high speed limit.

3. OPERATION OF CRUISE CONTROL
The cruise control main switch operates seven functions: SET, "-" (COAST), TAP-DOWN, "+" (ACCEL), TAP-UP, RESUME and CANCEL. The SET, TAP-DOWN and "-" (COAST) functions, and the RESUME,TAP-UP and "+" (ACCEL) functions are operated with the same switch. The cruise control main switch assembly is an automatic return type switch which turns on only while operating it in each arrow direction and turns off after releasing it.

a. SET CONTROL
When pushing down the cruise control main switch to "SET/-", the ECM stores the set speed and compares it to actual vehicle speed. If the actual driving speed is greater than the set speed, the ECM sends a signal to the throttle body assembly to close the throttle valve. If lower, it opens the throttle valve. The cruise control operative speed range is between the low and high speed limits.

b. "-" (COAST) CONTROL
A cruise set speed decreases while pushing down on the cruise control main switch to "SET/-". The vehicle cruises at the newly set speed when releasing the cruise control main switch.

c. TAP-DOWN CONTROL
When tapping down on the cruise control main switch to "SET/-" (approximately 0.6 second), the ECM decreases the stored set speed by 1.6 km/h (1 mph) at a time. However, when the difference between the driving and the stored vehicle speed is more than 5 km/h (approximately 3.1 mph), vehicle speed, when the cruise control main switch is released from "SET/-", will be stored and constant speed control is maintained.

d. "+" (ACCEL) CONTROL
A cruise set speed increases while pushing up on the cruise control main switch to "RES/+". The vehicle cruises at the newly set speed when releasing the cruise control main switch.

e. TAP-UP CONTROL
When tapping up on the cruise control main switch to "RES/+" (approximately 0.6 second), the ECM increases the stored set speed by 1.6 km/h (1 mph) at a time. However, when the difference between the driving and the stored vehicle speed is more than 5 km/h (approximately 3.1 mph), the stored vehicle speed will not be changed.

f. RESUME CONTROL
If cruise control operation was canceled under the manual cancel conditions (other than pushing the cruise control main switch ON-OFF button off), and if driving speed is within the limit range, pushing up the cruise control main switch to "RES/+" restores vehicle speed memorized at the time of cancellation, and maintains constant speed control.

g. MANUAL CANCEL CONTROL
The ECM cancels the cruise control under the following conditions while driving:
- The cruise control main switch is pulled to CANCEL.
- The brake pedal is depressed.
- The clutch pedal is depressed (Manual Transaxle).
- D position circuit in the park/neutral position switch ON -> OFF (The shift lever is moved from the D to the N, 2 or 1 position) (Automatic Transaxle).
- The cruise control main switch ON-OFF button is pushed off.

h. AUTO CANCEL CONTROL
If any of the following malfunctions occur in the system, the ECM stops the cruise control until the cruise control main switch ON-OFF button is pushed off.
- Stop lamp switch assembly malfunction
- Vehicle speed signal circuit malfunction
- Throttle position sensor and motor malfunction.

If any of the following malfunctions occur in the system, the ECM stops the cruise control until the ignition switch is turned off.

- Stop lamp switch input circuit malfunction
- CANCEL function circuit malfunction.

Under these conditions, the cruise main indicator light blinks until the cruise control main switch ON-OFF button is pushed off.

AUTO CANCEL also works when actual vehicle speed either drops below 40 km/h (25 mph) or is 16 km/h (10 mph) lower than the set speed.