Operation CHARM: Car repair manuals for everyone.
Manuals through 2025 now available!

Our trusted friends have launched a new website named LEMON, which has newer manuals. It also contains all the CHARM manuals.

LEMON is the spiritual successor to CHARM, I recommend you try it!

Link: lemon-manuals.la or lemon-manuals.org.ua

(Some people have issue connecting. LEMON is investigating. For now, use Firefox or change your DNS server)

Or, hide this message: temporarily or permanently

Liftgate Window Glass: Service and Repair

Back Door Glass:






REPLACEMENT

HINT:
- The installation procedures are the removal procedures in reverse order. However, only installation procedures requiring additional information are included.
- A bolt without a torque specification is shown in the standard bolt chart.

1. REMOVE BACK DOOR TRIM BOARD ASSEMBLY
a. Remove the back door garnish center.
b. Remove the back door side garnish LH and RH.
c. Remove the back door trim board.




2. REMOVE BACK DOOR GLASS
a. Apply protective tape to the outer surface of the vehicle body to prevent scratches.
b. From the interior, insert piano wires between the vehicle body and back door glass as shown in the illustration.
c. Tie objects that can serve as handles (for example, wooden blocks) to all wire ends.

NOTE: When separating the back door glass from the vehicle, be careful not to damage the vehicle's paint or interior/exterior ornaments.

d. Cut through the adhesive by pulling the piano wire around the back door glass.
e. Using a suction cup, remove the back door glass.

NOTE: Leave as much adhesive on the vehicle body as possible when removing the back door glass.




3. CLEAN BACK DOOR GLASS
a. Using a scraper, remove the spacers, moulding and adhesive from the back door glass.
b. Clean the outer edge of the back door glass with white gasoline.

NOTE:
- Do not touch the back door glass surface after cleaning it.
- Even if using new back door glass, clean the back door glass with white gasoline.




4. CLEAN VEHICLE BODY
a. Clean and shape the contact surface of the vehicle body.
1. On the contact surface of the vehicle body, use a knife to cut away excess adhesive as shown in the illustration.

HINT: Leave as much adhesive on the vehicle body as possible.

NOTE: Be careful not to damage the vehicle body.

2. Clean the contact surface of the vehicle body with cleaner.

HINT: Even if all the adhesive has been removed, clean the vehicle body.




5. INSTALL BACK WINDOW GLASS SPACER
a. Apply Primer G to the glass where the spacers will be installed.

HINT: If primer G is applied to an area other than that which is specified, wipe off the primer with white gasoline before it dries.

NOTE:
- Allow the Primer G to dry for 3 minutes or more.
- Throw away any leftover Primer G.
- Do not apply too much Primer G.

b. Install 2 new spacers onto the back door glass as shown in the illustration.







6. INSTALL BACK WINDOW GLASS ADHESIVE DAM KIT
a. Apply Primer G to the installation part of the back window glass adhesive dam kit.

HINT: If primer G is applied to an area other than that which is specified, wipe off the primer with white gasoline before it dries.

NOTE:
- Allow the Primer G to dry for 3 minutes or more.
- Throw away any leftover Primer G.
- Do not apply too much Primer G.







b. Install the back window glass adhesive dam kit as shown in the illustration.







7. INSTALL BACK WINDOW GLASS ADHESIVE DAM NO.2
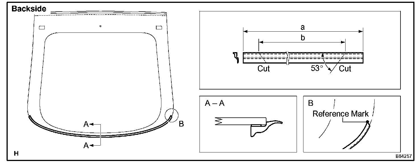
a. Cut the back window glass adhesive dam No. 2 as shown in the illustration.
b. Install the back window glass adhesive dam No. 2 as shown in the illustration.







8. INSTALL BACK WINDOW OUTSIDE MOULDING
a. Cut the back window outside moulding as shown in the illustration.
b. Install the back window outside moulding LH and RH as shown in the illustration.

9. INSTALL BACK DOOR GLASS




a. Using a brush or sponge, apply Primer M to the exposed part of the vehicle body.

NOTE:
- Allow the Primer M to dry for 3 minutes or more.
- Do not apply Primer M to the adhesive.
- Throw away any leftover Primer M.
- Do not apply too much Primer M.







b. Using a brush or sponge, apply Primer G to the contact surface of the back door glass.

HINT: If Primer G is applied to an area other than that which is specified, wipe off the primer with white gasoline before it dries.

NOTE:
- Allow the Primer G to dry for 3 minutes or more.
- Throw away any leftover Primer G.
- Do not apply too much Primer G.

c. Apply adhesive to the back door glass.

Adhesive: Part No. 08850-00801 or equivalent




1. Cut off the tip of cartridge nozzle as shown in the illustration.

HINT: After cutting off the tip, use all adhesive within the time written in the table.

2. Load the sealer gun with the cartridge.







3. Apply adhesive to the back door glass as shown in the illustration.

d. Install the back door glass to the vehicle body.
1. Lightly press the front surface of the back door glass to ensure that the back door glass is securely fit to the vehicle body.

NOTE:
- Check that the spacers are attached to the vehicle body correctly.
- Check that the vehicle body and back door glass have a small gap between them.




2. Hold the back door glass in place securely with protective tape or equivalent until the adhesive hardens.

NOTE: Do not drive the vehicle for the amount of time written in the table.

10. CHECK FOR LEAKS AND REPAIR
a. Conduct a leak test after the adhesive has completely hardened.
b. Seal any leaks with auto glass sealer.