Operation CHARM: Car repair manuals for everyone.
Manuals through 2025 now available!

Our trusted friends have launched a new website named LEMON, which has newer manuals. It also contains all the CHARM manuals.

LEMON is the spiritual successor to CHARM, I recommend you try it!

Link: lemon-manuals.la or lemon-manuals.org.ua

(Some people have issue connecting. LEMON is investigating. For now, use Firefox or change your DNS server)

Or, hide this message: temporarily or permanently

Timing Chain: Service and Repair






CHAIN SUB-ASSY
REPLACEMENT
1. REMOVE FRONT WHEEL RH





2. REMOVE CYLINDER HEAD COVER NO.2
a. Remove the 4 nuts and the cylinder head cover No.2.





3. REMOVE IGNITION COIL NO.1
a. Remove the 4 bolts and pull out the 4 ignition coils.





4. DISCONNECT VENTILATION HOSE
a. Disconnect the ventilation hose from the cylinder head cover.





5. DISCONNECT VENTILATION HOSE NO.2
a. Disconnect the ventilation hose No.2 from the cylinder head cover.





6. REMOVE CYLINDER HEAD COVER SUB-ASSY
a. Remove the 9 bolts, the 2 nuts and the cylinder head cover.
7. REMOVE FAN AND GENERATOR V-BELT
8. REMOVE GENERATOR ASSY
9. REMOVE ENGINE UNDER COVER RH
10. DRAIN ENGINE OIL
11. DRAIN ENGINE COOLANT
12. REMOVE VANE PUMP V-BELT
13. REMOVE WATER PUMP PULLEY
14. REMOVE WATER PUMP ASSY





15. REMOVE CRANKSHAFT DAMPER SUB-ASSY
a. Set the No.1 cylinder to the TDC/compression.
1. Turn the crankshaft damper until its timing notch and the timing mark "0" of the chain cover are aligned.
2. Check that both timing marks on the camshaft timing sprocket and the camshaft timing gear are facing upward as shown in the illustration. HINT: If not, turn the crankshaft 1 complete revolution (360°) and align the marks as above.





b. Using SST, remove the pulley bolt.
SST 09213-58012 (91111-50845), 09330-00021

HINT: If necessary, remove the damper with SST.

SST 09950-50013 (09951-05010, 09952-05010, 09953-05020, 09954-05021)





16. REMOVE CAMSHAFT TIMING OIL CONTROL VALVE ASSY
a. Disconnect the oil control valve connector.
b. Remove the bolt, oil control valve and the O-ring.
17. REMOVE CRANKSHAFT POSITION SENSOR





18. REMOVE ENGINE MOUNTING INSULATOR SUB-ASSY RH
a. Place a wooden block on a jack underneath the engine.





b. Remove the bolt which is used to fix the liquid tube to the engine mounting insulator RH.
c. Remove the 5 bolts, and nut, and then remove the engine mounting insulator RH.





19. REMOVE ENGINE MOUNTING BRACKET RH
a. Remove the 4 bolts and the engine mounting bracket RH.
20. REMOVE OIL PUMP ASSY
21. REMOVE OIL PUMP SEAL





22. REMOVE CHAIN TENSIONER ASSY NO.1

NOTICE:
^ Do not rotate the crankshaft with the chain tensioner removed.
^ When rotating the camshaft with the timing chain removed, rotate the crankshaft counterclockwise 40° from the TDC first.

a. While rotating the stopper plate of the chain tensioner upward as shown in the illustration push in the plunger of the tensioner.
b. While rotating the stopper plate of the tensioner downward, insert a 2.5 mm (0.098 inch) diameter bar into the holes of the stopper plate and the tensioner to hold the stopper plate.
23. REMOVE CHAIN TENSIONER SLIPPER
a. Remove the bolt and the chain tensioner slipper.
24. REMOVE CHAIN VIBRATION DAMPER NO.1
a. Remove the 2 bolts and the chain vibration damper.
25. REMOVE CHAIN SUB-ASSY





26. INSTALL CHAIN SUB-ASSY
a. After setting the crankshaft at ATDC 40 to 140°, set cams of intake and exhaust timing sprockets at ATDC 20° and then reset the crankshaft at ATDC 20°.
b. Install the chain vibration damper with the 2 bolts.
Torque: 9.0 Nm (92 kgf-cm, 80 inch lbs.)
c. Align the matchmarks of the camshaft timing sprocket, the camshaft timing gear and the crankshaft timing sprocket with each mark plate (colored in yellow) of the timing chain.

HINT: To prevent the exhaust camshaft from spring back, turn it using a wrench and set it at the mark on the chain.

d. Install the chain tensioner slipper with the bolt.
Torque: 9.0 Nm (92 kgf-cm, 80 inch lbs.)
e. Install the chain tensioner with the 2 bolts.
Torque: 9.0 Nm (92 kgf-cm, 80 inch lbs.)
f. Remove the bar from the chain tensioner.
g. Check the tension between the intake and exhaust camshaft timing crank.
27. INSTALL OIL PUMP SEAL
SST 09950-60010 (09951-00250, 09951-00380, 09952-06010), 09950-70010 (09951-07100)
28. INSTALL OIL PUMP ASSY
29. INSTALL WATER PUMP ASSY





30. INSTALL ENGINE MOUNTING BRACKET RH
a. Install the engine mounting bracket RH with the 4 bolts.
Torque: 55 Nm (561 kgf-cm, 41 ft. lbs.)





31. INSTALL ENGINE MOUNTING INSULATOR SUB-ASSY RH
a. Install the RH engine mounting insulator with the 5 bolts and the nut.
Torque:
Bolt A 45 Nm (459 kgf-cm, 33 ft. lbs.)
Bolt B 52 Nm (530 kgf-cm, 38 ft. lbs.)
Nut 52 Nm (530 kgf-cm, 38 ft. lbs.)
b. Install the liquid tube with the bolt.
Torque:
Bolt C 9.8 Nm (100 kgf-cm, 7.2 ft. lbs.)
32. INSTALL CAMSHAFT TIMING OIL CONTROL VALVE ASSY
a. Apply a light coat of a new O-ring, and install it onto the camshaft timing oil control valve.
b. Install the camshaft timing oil control valve with the bolt.
Torque: 7.5 Nm (76 kgf-cm, 66 inch lbs.)

NOTICE: Be careful not to twist an O-ring.

33. INSTALL CRANKSHAFT POSITION SENSOR
34. INSTALL WATER PUMP PULLEY
SST 09960-10010 (09962-01000, 09963-00600)





35. INSTALL CRANKSHAFT DAMPER SUB-ASSY
a. Align the pin hole of the crankshaft damper with the pin position and install the crankshaft damper.
b. Using SST, install the pulley bolt.
SST 09330-00021, 09213-58012 (91111-50845)
Torque: 128 Nm (1,305 kgf-cm, 95 ft. lbs.)





36. INSTALL CYLINDER HEAD COVER SUB-ASSY
a. Apply seal packing to the 2 locations shown in the illustration.
Seal packing: Part No. 08826-00080 or equivalent

NOTICE:
^ Remove any oil from the contact surface.
^ Install the cylinder head cover within 3 minutes of applying seal packing.
^ Do not start the engine for at least 2 hours after installation.





b. Install the cylinder head cover with the 9 bolts, the 2 seal washers and the 2 nuts.
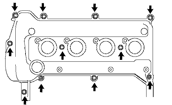
c. Using several steps, uniformly tighten the bolts and the nuts in the sequence shown in the illustration.
Torque: 10 Nm (102 kgf-cm, 7.4 ft. lbs.)
37. INSTALL IGNITION COIL NO.1
Torque: 9.0 Nm (92 kgf-cm, 80 inch lbs.)





38. INSTALL CYLINDER HEAD COVER NO.2
a. First tighten A nuts, then tighten bolts B.
Torque: 7.0 Nm (71 kgf-cm, 62 inch lbs.)
39. INSTALL GENERATOR ASSY
40. INSTALL VANE PUMP V-BELT
a. Temporarily install the V-ribbed belt onto each pulley.
41. INSTALL FAN AND GENERATOR V-BELT
a. Temporarily install the V-ribbed belt onto each pulley.
42. ADJUST FAN AND GENERATOR V-BELT
43. ADJUST VANE PUMP V-BELT
44. INSPECT DRIVE BELT DEFLECTION AND TENSION
45. INSTALL OIL PAN DRAIN PLUG
a. Install the drain plug with a new gasket.
Torque: 38 Nm (382 kgf-cm, 28 ft. lbs.)
46. ADD ENGINE OIL
47. CHECK FOR ENGINE OIL LEAKS
48. ADD ENGINE COOLANT
49. CHECK FOR ENGINE COOLANT LEAKS