Operation CHARM: Car repair manuals for everyone.
Manuals through 2025 now available!

Our trusted friends have launched a new website named LEMON, which has newer manuals. It also contains all the CHARM manuals.

LEMON is the spiritual successor to CHARM, I recommend you try it!

Link: lemon-manuals.la or lemon-manuals.org.ua

(Some people have issue connecting. LEMON is investigating. For now, use Firefox or change your DNS server)

Or, hide this message: temporarily or permanently

Control Module HVAC: Testing and Inspection







INSPECT AIR CONDITIONER AMPLIFIER ASSEMBLY
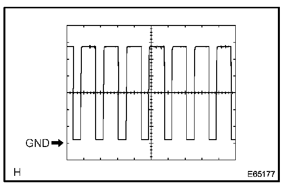
a. Disconnect the connector from A/C amplifier and inspect the wire harness side, as shown in the chart.
If the circuit is as not specified, replace the A/C amplifier with a new one. If the circuit is as specified, inspect the circuits connected to other parts.










b. Connect the connector to A/C amplifier and inspect wire harness side connector from the back side, as shown in the illustration.
If the circuit is not as specified, replace the A/C amplifier with a new one. If the circuit is as specified, inspect the circuits connected to other parts.







Reference







Reference