Operation CHARM: Car repair manuals for everyone.
Manuals through 2025 now available!

Our trusted friends have launched a new website named LEMON, which has newer manuals. It also contains all the CHARM manuals.

LEMON is the spiritual successor to CHARM, I recommend you try it!

Link: lemon-manuals.la or lemon-manuals.org.ua

(Some people have issue connecting. LEMON is investigating. For now, use Firefox or change your DNS server)

Or, hide this message: temporarily or permanently

Front Wheel Alignment

FRONT WHEEL ALIGNMENT
ADJUSTMENT
1. INSPECT TIRE
2. MEASURE VEHICLE HEIGHT




Vehicle Height:




Measuring points:
A: Ground clearance of front wheel center
B: Ground clearance of lower suspension arm front bolt center
C: Ground clearance of axle beam set bolt center
D: Ground clearance of rear wheel center

NOTICE: Before inspecting the wheel alignment, adjust the vehicle height to the specified value.

HINT: Bounce the vehicle at the corners up and down to stabilize the suspension and inspect the vehicle height.

3. INSPECT TOE-IN




Toe-In:





HINT:
- Measure "C - D" only when "A + B" can not be measured.
- If the toe-in is not within the specified value, adjust it at the rack ends.

4. ADJUST TOE-IN
a. Measure the thread lengths of the right and left rack ends.
Standard: Difference in thread length of 1.5 mm or less
b. Remove the rack boot set clips.




c. Loosen the tie rod end lock nuts.
d. Adjust the rack ends if the difference in thread length between the right and left rack ends is not within the specified range.
(1) Extend the shorter rack end if the measured toe-in deviates toward the outer-side.
(2) Shorten the longer rack end if the measured toe-in deviates toward the inner-side.




e. Turn the right and left rack ends by an equal amount to adjust toe-in.

HINT: Try to adjust toe-in to the center of the specified range.

f. Make sure that the lengths of the right and left rack ends are the same.
Standard: 0 ±1 mm
g. Torque the tie rod end lock nuts.
Torque: 74 N-m (749 kgf-cm, 54 ft-lbf)

NOTICE: Temporarily tighten the lock nut while holding the hexagonal part of the steering rack end so that the lock nut and the steering rack end do not turn together. Hold the width across flat of the tie rod end and tighten the lock nut.

h. Place the boots on the seats and install the clips.

HINT: Make sure that the boots are not twisted.

i. Perform VSC system calibration. (Refer to Antilock Brakes / Traction Control Systems; Testing and Inspection.)

5. INSPECT WHEEL ANGLE




Wheel Turning Angle:




a. Turn the steering wheel fully and measure the turning angle.
If the right and left inside wheel angles differ from the specified value, check the right and left rack end lengths.


6. INSPECT CAMBER, CASTER AND STEERING AXIS INCLINATION




Camber, Caster And Steering Axis Inclination:






If the caster and steering axis inclination are not within the specified values, after the camber has been correctly adjusted, recheck the suspension parts for any damage and/or worn-out parts.

7. ADJUST CAMBER

NOTICE: Inspect toe-in after the camber has been adjusted.

a. Remove the front wheel.




b. Remove the 2 nuts on the lower side of the shock absorber.
c. Clean the installation surface of the shock absorber and the steering knuckle.




d. Temporarily install the 2 nuts.
e. Fully push or pull the front axle hub in the direction of the required adjustment.
f. Tighten the 2 nuts.
Torque: 132 N-m (1,350 kgf-cm, 97 ft-lbf)

NOTICE: Keep the bolts from rotating and torque the nuts.

g. Install the front wheel.
Torque: 103 N-m (1,050 kgf-cm, 76 ft-lbf)
h. Check the camber.

If the measured value is not within the specified range, calculate the required adjustment amount using the formula below.
(Camber adjustment amount) Center of the specified range - Measured value

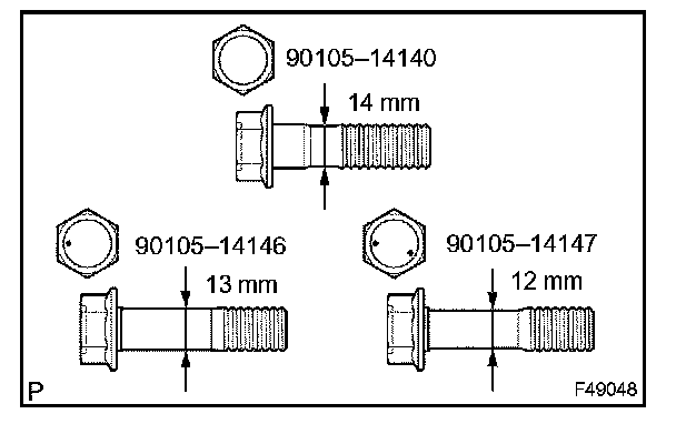
Check installed bolts combination. Select appropriate bolts from the table below to adjust the camber to within the specified range.




Table (1) (Move The Axle Toward Positive Side):




Selected Bolt Combination:








The body and suspension may be damaged if the camber is not correctly adjusted according to the above table.

NOTICE: Replace the nut with a new one when replacing the bolt.

i. Repeat the steps mentioned above. At step (b), replace 1 or 2 selected bolts.

HINT: Replace one bolt at a time when replacing 2 bolts.


Table (2) (Move The Axle Toward Negative Side):




Selected Bolt Combination:








The body and suspension may be damaged if the camber is not correctly adjusted according to the above table.

NOTICE: Replace the nut with a new one when replacing the bolt.

j. Repeat the steps mentioned above. At step (b), replace 1 or 2 selected bolts.

HINT: Replace one bolt at a time when replacing 2 bolts.