Operation CHARM: Car repair manuals for everyone.
Manuals through 2025 now available!

Our trusted friends have launched a new website named LEMON, which has newer manuals. It also contains all the CHARM manuals.

LEMON is the spiritual successor to CHARM, I recommend you try it!

Link: lemon-manuals.la or lemon-manuals.org.ua

(Some people have issue connecting. LEMON is investigating. For now, use Firefox or change your DNS server)

Or, hide this message: temporarily or permanently

Basic Repair Hints

BASIC REPAIR HINT







a. HINTS ON OPERATIONS

b. JACKING UP AND SUPPORTING VEHICLE
1. Care must be taken when jacking up and supporting the vehicle. Be sure to lift and support the vehicle at the proper locations.

c. PRECOATED PARTS




1. Precoated parts are bolts, nuts, etc. that are coated with a seal lock adhesive at the factory.
2. If a precoated part is retightened, loosened or moved in any way, it must be recoated with the specified adhesive.
3. When reusing precoated parts, clean off the old adhesive and dry the part with compressed air. Then apply new seal lock adhesive appropriate to the bolt, nut, etc.

NOTE: Perform the torque with the lower limit value of the torque tolerance.

4. Depending on the seal lock agent to apply, there may be a cases where it is necessary to leave it for a specified time until it hardens.

d. GASKETS
1. When necessary, use a sealer on gaskets to prevent leaks.

e. BOLTS, NUTS AND SCREWS
1. Carefully observe all the specifications for tightening torques. Always use a torque wrench.

f. FUSES







1. When replacing fuses, be sure that a new fuse has the correct amperage rating. DO NOT exceed the rating or use one with a lower rating.

g. CLIPS







1. The removal and installation methods of typical clips used in body parts are shown in the table.

HINT: If the clip is damaged during the a procedure, always replace it with a new clip.

h. REMOVAL AND INSTALLATION OF VACUUM HOSES




1. To disconnect vacuum hoses, pull off the end of the hose, not the middle.




2. When disconnecting vacuum hoses, use tags to identify where they should be reconnected.
3. After completing the job, double check that the vacuum hoses are properly connected. The label under the hood shows the proper layout.
4. When using a vacuum gauge, never force the hose onto a connector that is too large. Use a stepdown adapter for adjustment. Once the hose has been stretched, it may leak air.

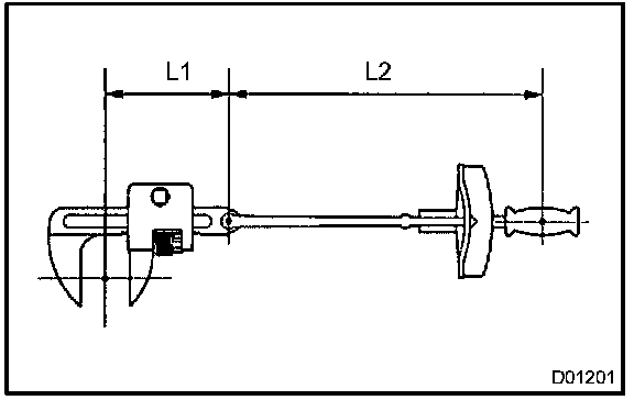
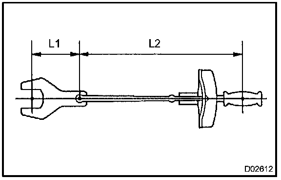
i. TORQUE WHEN USING TORQUE WRENCH WITH EX-TENSION TOOL




1. When SST or extension tool is combined with the torque wrench to extend its entire length, if you tighten until the reading of the torque wrench reaches the specified torque value, the actual torque becomes excessive.
2. In this, only the specified torque is described. In case of using SST or extension tool, calculate the reading of the torque wrench by the following formula.







3. Formula T'=T x L2/(L1 + L2)