Operation CHARM: Car repair manuals for everyone.
Manuals through 2025 now available!

Our trusted friends have launched a new website named LEMON, which has newer manuals. It also contains all the CHARM manuals.

LEMON is the spiritual successor to CHARM, I recommend you try it!

Link: lemon-manuals.la or lemon-manuals.org.ua

(Some people have issue connecting. LEMON is investigating. For now, use Firefox or change your DNS server)

Or, hide this message: temporarily or permanently

Engine Unit, Reassembly

ENGINE UNIT

COMPONENTS:




COMPONENTS:




COMPONENTS:




COMPONENTS:




COMPONENTS:





REPLACEMENT





1. REPLACE OIL PUMP SEAL

HINT: There are 2 ways to remove the oil seal: remove it with the timing chain cover removed, or remove it with the timing chain cover installed.

a) If the timing chain cover is removed:
1) Using a screwdriver, remove the oil seal.

HINT: Tape the screwdriver tip before use.





2) Using SST and a hammer, tap in a new oil seal until its surface is flush with the timing chain cover edge.
SST 09950-60010 (09951-00250, 09951- 00380, 09952-06010), 09950-70010 (09951-07100)

NOTICE:
^ Be careful not to tap the oil seal at an angle.
^ Keep the lip free of foreign objects.

3) Apply multi-purpose grease to the lip of the oil seal.





b) If the timing chain cover is installed:
1) Using a knife, cut off the lip of the oil seal.
2) Using a screwdriver with the tip wrapped in tape, pry out the oil seal.

NOTICE: After removal, check if the crankshaft is not damaged. If it is damaged, smooth the surface with 400-grit sandpaper.

3) Apply multi-purpose grease to the lip of a new oil seal.

NOTICE: Keep the lip free of foreign objects.

4) Using SST and a hammer, tap in the oil seal until its surface is flush with the timing chain cover edge.
SST 09223-22010

NOTICE:
^ Be careful not to tap the oil seal at an angle.
^ Wipe any extra grease off the crankshaft.





2. REPLACE ENGINE REAR OIL SEAL
a) Using a knife, cut off the lip of the oil seal.
b) Using a screwdriver with the tip wrapped in tape, pry out the oil seal.

NOTICE: After removal, check if the crankshaft is not damaged. If it is damaged, smooth the surface with 400-grit sandpaper.





c) Apply multi-purpose grease to the lip of a new oil seal.

NOTICE: Keep the lip free of foreign materials.

d) Using SST and a hammer, tap in the oil seal until its surface is flush with the rear oil seal retainer edge.
SST 09223-56010

NOTICE:
^ Be careful not to tap the oil seal at an angle.
^ Wipe any extra grease off the crankshaft.

REASSEMBLY





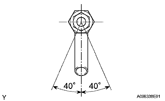
1. INSTALL CYLINDER BLOCK WATER DRAIN COCK
a) Apply adhesive to 2 or 3 threads of the drain union, and install it within 3 minutes.
Seal packing: Part No. 08826-00100





b) After applying the specified torque, rotate the drain union clockwise until its drain port faces downward.
Torque: 35 Nm (357 kgf-cm, 26 ft. lbs.)

NOTICE:
^ Install the water drain cock within 3 minutes of applying adhesive.
^ Do not add coolant for at least 1 hour after installation.
^ Do not rotate the drain union more than 360° in this step, and never loosen it after setting the union correctly.
^ The pipe of the drain cock should be within 40° of the vertical position.

2. INSTALL TIGHT PLUG
a) Apply adhesive to new tight plugs.
Adhesive: Part No. 08826-00070, THREE BOND 1324 or equivalent.





b) Using SST, tap in the tight plugs as shown in the illustration.
SST 09950-60010 (09951-00180), 09950-70010 (09951-07100)
Standard depth: 0.2 to 1.2 mm (0.008 to 0.047 inch)








3. INSTALL CYLINDER HEAD SET STRAIGHT PIN
a) Using a plastic-faced hammer, tap in the straight pin.
Standard protrusion: 8.5 to 9.5 mm (0.335 to 0.374 inch)





4. INSTALL STRAIGHT PIN
a) Using a plastic-faced hammer, tap in the straight pin.
Standard protrusion:
3.5 to 4.5 mm (0.138 to 0.177 inch) for pin A

18.5 to 19.5 mm (0.728 to 0.768 inch) for pin B
8.5 to 9.5 mm (0.335 to 0.724 inch) for pin C
11.5 to 12.5 mm (0.453 to 0.492 inch) for pin D





5. INSTALL STUD BOLT
a) Using an E5 Torx socket, install the 6 stud bolts.
Torque: 5.0 Nm (51 kgf-cm, 44 inch lbs.)





6. INSTALL CRANKSHAFT
a) Install the upper bearing with the oil groove onto the cylinder block, and the lower bearing onto the bearing cap.

NOTICE: Do not apply engine oil to the contact surface of the cylinder block or the backside of the bearing.

HINT: Mass production parts do not have claws as marks. If reusing the mass production parts, measure the clearance of both sides with the bearing in the center of the bearing cap.

Standard clearance:
A - B = within 0.8 mm (0.032 inch)
C - D = within 0.4 mm (0.016 inch)





b) Install the 2 thrust washers onto the No. 3 journal position of the cylinder block with the oil grooves facing outward.
c) Apply engine oil to the upper bearing and install the crankshaft onto the cylinder block.





d) Check the front marks and numbers and install the bearing caps onto the cylinder block.
e) Apply a light coat of engine oil to the threads of the bearing cap bolts.





f) Using SST, tighten the bolts in several steps by the specified torque in the sequence shown in the illustration.
SST 09011-38121
Torque: 22 Nm (224 kgf-cm, 16 ft. lbs.)

NOTICE: Check that the crankshaft turns smoothly.





g) Mark the front of the bearing cap bolts with paint.
h) Retighten the bearing cap bolts by 90° in the same sequence.
i) Check that the painted mark is now at a 90° angle to the front.





7. INSTALL PISTON PIN
a) Coat the inner surface of the connecting rod bore and piston pin with engine oil.
b) Align the cavity of the piston with the protruding portion of the connecting rod.





c) Using SST, push in the piston pin.
SST 09221-25026 (09221-00021, 09221-00030, 09221-00190, 09221-00141, 09221-00150)

NOTICE: Keep the pistons, pins, rings, connecting rods and bearings in the correct order so that they can be returned to the original locations when reassembling.





8. INSTALL CONNECTING ROD BEARING
a) Align the bearing claw with the grooves of the connecting rod and connecting rod cap.

NOTICE: Clean the backside of the bearing and the bearing surface of the connecting rod, and keep them free of oils.





9. INSTALL PISTON RING SET

HINT: If reusing the piston rings, install them onto the matched pistons with the surfaces facing correctly.

a) Install the oil ring expander and 2 side rails by hand.
b) Using a piston ring expander, install the 2 compression rings.





c) Position the piston rings so that the ring ends are as shown in the illustration.
10. INSTALL PISTON WITH CONNECTING ROD
a) Apply engine oil to the cylinder walls, pistons, and the surfaces of the connecting rod bearings.
b) Check the position of the piston ring ends.





c) Using a piston ring compressor, push the correctly numbered piston and connecting rod assemblies into each cylinder with the front mark on the piston facing forward.

NOTICE:
^ Clean the backside of the bearing and the bearing surface of the connecting rod cap, and keep them free of oils.
^ Match the numbered connecting rod cap with the correct connecting rod.





d) Match the connecting rod and cap together in the correct combination. Then install the cap onto the connecting rod, making sure that the front mark on the cap is correctly oriented.
e) Apply a light coat of engine oil to the threads of the connecting rod cap bolts.





f) Using SST, tighten the bolts in several steps by the specified torque.
SST 09205-16010
Torque: 15 Nm (153 kgf-cm, 11 ft. lbs.)





g) Mark the front of the connecting cap bolts with paint.
h) Retighten the cap bolts by 90° as shown.
j) Check that the crankshaft turns smoothly.





11. INSTALL STUD BOLT
a) Using an E5 Torx socket, install the 4 stud bolts.





12. INSTALL OIL PAN
a) Apply a continuous line of seal packing to the oil pan mating surface as shown in the illustration.
Seal packing: Part No. 08826-00080 or equivalent
Standard seal diameter: 2.0 mm to 3.0 mm (0.079 to 0.118 inch)

NOTICE:
^ Remove any oil from the contact surface.
^ Install the oil pan within 3 minutes of applying seal packing.
^ Do not expose the seal to engine oil for at least 2 hours after installation.

b) Install 2 new O-rings onto the cylinder block.





c) Using several steps, install and uniformly tighten the 13 bolts in the sequence shown in the illustration.
Torque: 24 Nm (245 kgf-cm, 18 ft. lbs.)

HINT: Each bolt length is as follows:
49 mm (1.93 inch) for bolt A
88 mm (3.47 inch) for bolt B
144 mm (5.67 inch) for bolt C

13. INSTALL OIL STRAINER
a) Install a new gasket and the oil strainer with the 2 nuts and bolt.
Torque: 11 Nm (112 kgf-cm, 8.1 ft. lbs.)





14. INSTALL NO. 2 OIL PAN
a) Apply a continuous line of seal packing to the oil pan mating surface as shown in the illustration.
Seal packing: Part No. 08826-00080 or equivalent
Standard seal diameter: 2.5 mm to 3.5 mm (0.098 to 0.14 inch)

NOTICE:
^ Remove any oil from the contact surface.
^ Install the oil pan within 3 minutes of applying seal packing.
^ Do not expose the seal to engine oil for at least 2 hours after installation.
^ Do not start the engine within 2 hours of installation.





b) Install the No. 2 oil pan with the 9 bolts and 2 nuts.
Torque: 9.0 Nm (92 kgf-cm, 80 inch lbs.)
c) Install the drain plug with a new gasket.
Torque: 37.5 Nm (382 kgf-cm, 28 ft. lbs.)





15. INSTALL OIL FILTER UNION
a) Using a 12 mm hexagon wrench, install the oil filter union.
Torque: 30 Nm (306 kgf-cm, 22 ft. lbs.)

16. INSTALL OIL FILTER
a) Check and clean the oil filter installation surface.
b) Apply clean engine oil to the gasket of the new oil filter.
c) Lightly screw the oil filter into place, and tighten it until the gasket comes into contact with the seat.





d) Using SST, tighten it an additional 3/4 turn.
SST 09228-06501
If using a torque wrench, tighten to the specified torque.
Torque: 17.5 Nm (178 kgf-cm, 13 ft. lbs.)





17. INSTALL CYLINDER HEAD GASKET
a) Place a new cylinder head gasket on the cylinder block with the Lot No. stamp facing upward.

NOTICE:
^ Remove any oil from the contact surface.
^ Pay attention to the mounting orientation of the cylinder head gasket.
^ Place the cylinder head on the cylinder block gently in order not to damage the gasket at the bottom part of the head.

18. INSTALL CYLINDER HEAD

HINT: The cylinder head bolts are tightened in 2 successive steps.





a) Apply seal packing as shown in the illustration.
Seal packing: Part No. 08826-00080 or equivalent
Standard seal diameter: 3.5 mm to 4.5 mm (0.177 to 0.217 inch)
NOTICE:
^ Remove any oil from the contact surface.
^ Install the oil pan within 3 minutes of applying seal packing.

b) Apply a light coat of engine oil to the threads of the cylinder head bolts.





c) Using several steps, install and uniformly tighten the 10 cylinder head bolts and plate washers with an 8 mm bi-hexagon wrench in the sequence shown in the illustration.
Torque: 29 Nm (300 kgf-cm, 22 ft. lbs.)





d) Mark the front of the cylinder head bolt with paint.
e) Retighten the cylinder head bolts by an additional 90° and then another 90°, as shown in the illustration.
f) Check that the painted mark is now at a 180° angle to the front.
19. INSTALL ENGINE REAR OIL SEAL





20. INSTALL CAMSHAFT TIMING GEAR
a) Put the camshaft timing gear assembly and the camshaft together with the straight pin of the groove.
b) Turn the camshaft timing gear assembly clockwise while pushing it lightly towards the camshaft. Push further at the position where the pin fits into the groove.

NOTICE: Be careful not to turn the camshaft timing gear to the retard angle (to the right).

c) Check that there is no clearance between the gear fringe and the camshaft.
d) Tighten the flange bolt with the camshaft timing gear fixed in place.
Torque: 64 Nm (653 kgf-cm, 47 ft. lbs.)
e) Check that the camshaft timing gear can move to the retard angle (to the right) and is locked in the most retarded position.





21. INSTALL CAMSHAFT
a) Apply a light coat of engine oil to the camshaft journals.
b) Place the camshaft on the cylinder head with the timing mark on the camshaft timing gear facing upward.
c) Examine the front marks and numbers, and tighten the bolts in the sequence shown in the illustration.
Torque: 13 Nm (129 kgf-cm, 9 ft. lbs.)

NOTICE: Tighten each bolt uniformly, keeping the camshaft level.





22. INSTALL CAMSHAFT TIMING SPROCKET
a) Clamp the camshaft in a vise.
b) Align the knock pin hole of the camshaft timing sprocket with the knock pin of the camshaft, and install the camshaft timing sprocket.
Torque: 64 Nm (653 kgf-cm, 47 ft. lbs.)

NOTICE: Be careful not to damage the camshaft.





23. INSTALL NO. 2 CAMSHAFT
a) Apply a light coat of engine oil to the camshaft journals.
b) Place the camshaft on the cylinder head with the timing mark on the camshaft timing gear facing upward.
c) Examine the front marks and numbers, and tighten the bolts in the sequence shown in the illustration.
Torque: 13 Nm (133 kgf-cm, 9 ft. lbs.)

NOTICE: Tighten each bolt uniformly, keeping the camshaft level.

d) Install the No. 1 bearing cap.
Torque: 23 Nm (235 kgf-cm, 17 ft. lbs.)

24. INSTALL CAMSHAFT POSITION SENSOR
a) Apply engine oil to the O-ring.

NOTICE: If the O-ring is damaged, replace the camshaft position sensor.

b) Install the camshaft position sensor with the bolt.
Torque: 8.0 Nm (82 kgf-cm, 71 inch lbs.)

25. INSTALL CHAIN
a) Set the position of the No. 1 cylinder to 20° ATDC.

NOTICE: To prevent the pistons from hitting against valves, these procedures must be performed in this order.

1) Set the crankshaft between 40 to 140° ATDC.
2) Set the cams of the intake and exhaust timing sprockets to 20° ATDC.
3) Reset the crankshaft to 20° ATDC.





b) Install the chain vibration damper with the 2 bolts.
Torque: 9.0 Nm (92 kgf-cm, 80 inch lbs.)
c) Align the matchmarks of the camshaft timing sprocket, camshaft timing gear and crankshaft timing sprocket with each mark plate (colored in yellow) of the timing chain.

HINT: To prevent the exhaust camshaft from springing back, turn it using a wrench and set it at the mark on the chain.

d) Install the chain tensioner slipper with the bolt.
Torque: 9.0 Nm (92 kgf-cm, 80 inch lbs.)





e) While rotating the stopper plate of the chain tensioner upward as shown in the illustration, push in the plunger of the tensioner.
f) While rotating the stopper plate of the tensioner downward, insert a 2.5 mm (0.098 inch) diameter bar into the holes of the stopper plate and the tensioner to hold the stopper plate.
g) Install the chain tensioner with the 2 bolts.
Torque: 9.0 Nm (92 kgf-cm, 80 inch lbs.)
h) Remove the bar from the chain tensioner.
i) Check the tension between the intake and exhaust camshaft timing sprocket.
26. INSTALL OIL PUMP SEAL





27. INSTALL TIMING CHAIN COVER
a) Install 2 new O-rings onto the 2 locations as shown in the illustration.
b) Remove any old packing material from the contact surface.





c) Apply seal packing to the oil pump assembly, cylinder head and cylinder block as shown in the illustration.
Seal packing: Water pump part: Part No. 08826-00100 or equivalent
Other part: Part No. 08826-00080 or equivalent

NOTICE:
^ Remove any oil from the contact surface.
^ Install the oil pump within 3 minutes of applying seal packing.
^ Do not expose the seal to engine oil for at least 2 hours after installation.
^ Do not start the engine for at least 2 hours after installation.





d) Align the keyway of the oil pump drive rotor with the rectangular portion of the crankshaft, and slide the oil pump into place.





e) Install the oil pump assembly with the 15 bolts and nut. Uniformly tighten the bolts and nut in several steps.
Torque: 24 Nm (245 kgf-cm, 18 ft. lbs.) for bolt A
11 Nm (112 kgf-cm, 8.1 ft. lbs.) for bolt B
11 Nm (112 kgf-cm, 8.1 ft. lbs.) for bolt C
24 Nm (245 kgf-cm, 18 ft. lbs.) for nut D
24 Nm (245 kgf-cm, 18 ft. lbs.) for bolt E

NOTICE:
^ Pay attention not to disturb the seal packing.
^ After installing the timing chain case, install the mounting bracket and water pump within 15 minutes.

HINT: Each bolt length is as follows:
30 mm (1.18 inch) for bolt A
35 mm (1.38 inch) for bolt B
20 mm (0.79 inch) for bolt C
20 to 14 mm (0.79 to 0.55 inch) for bolt E





28. INSTALL WATER PUMP
a) Install a new gasket and the water pump with the 3 bolts and 2 nuts.
Torque: 11 Nm (112 kgf-cm, 8 ft. lbs.)





29. INSTALL ENGINE MOUNTING BRACKET RH
a) Install the engine mounting bracket RH with the 4 bolts.
Torque: 55 Nm (561 kgf-cm, 41 ft. lbs.)





30. INSTALL WATER PUMP PULLEY
a) Using SST, install the pump pulley with the 3 bolts.
SST 09960-10010 (09962-01000, 09963-00600)
Torque: 15 Nm (153 kgf-cm, 11 ft. lbs.)





31. INSTALL CRANKSHAFT PULLEY
a) Align the pin hole of the crankshaft pulley with the pin position, and install the crankshaft pulley.
b) Using SST, install the pulley bolt.
SST 09330-00021, 09213-58012 (91111-50845)
Torque: 128 Nm (1,305 kgf-cm, 95 ft. lbs.)

32. INSPECT VALVE CLEARANCE
33. ADJUST VALVE CLEARANCE





34. INSTALL FUEL INJECTOR
a) Install new insulators onto each fuel injector.
b) Apply a light coat of spindle oil or gasoline to new O-rings and install them onto each fuel injector.
c) Apply a light coat of spindle oil or gasoline to the place where a delivery pipe comes into contact with the O-ring.





d) While turning the injector clockwise and counterclockwise, install it to the delivery pipe.

NOTICE:
^ Be careful not to twist the O-ring.
^ After installing the fuel injectors, check that they turn smoothly. If not, reinstall it with a new O-ring.

35. INSTALL FUEL DELIVERY PIPE
a) Install the 2 spacers onto the cylinder head.





b) Install the fuel delivery pipe and 4 fuel injectors together.
Torque: 19 Nm (194 kgf-cm, 14 ft. lbs.) for bolt A
9.0 Nm (92 kgf-cm, 80 inch lbs.) for bolt B

NOTICE:
^ Be careful not to drop the fuel injectors when installing the fuel delivery pipe.
^ Check that the fuel injectors rotate smoothly after installing the fuel delivery pipe.





36. INSTALL CAMSHAFT TIMING OIL CONTROL VALVE ASSEMBLY
a) Apply a light coat of engine oil to a new O-ring, and install it onto the oil control valve.
b) Install the oil control valve with the bolt.
Torque: 7.5 Nm (76 kgf-cm, 66 inch lbs.)

NOTICE: Be careful not to twist the O-ring.





37. INSTALL CYLINDER HEAD COVER
a) Install the gasket onto the cylinder head cover.
b) Apply seal packing to the 2 locations as shown in the illustration.
Seal packing: Part No. 08826-00080 or equivalent

NOTICE:
^ Remove any oil from the contact surface.
^ Install the cylinder head cover within 3 minutes of applying seal packing.
^ Do not start the engine for at least 2 hours after installation.





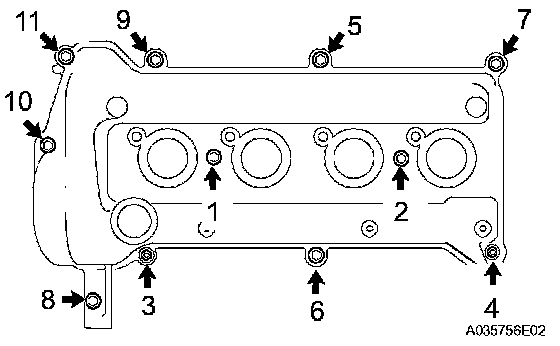
c) Install the cylinder head cover with the 9 bolts, 2 seal washers and 2 nuts.
d) Using several steps, uniformly tighten the bolts and nuts in the sequence shown in the illustration.
Torque: 10 Nm (102 kgf-cm, 7 ft. lbs.)





38. INSTALL VENTILATION VALVE
a) Install the ventilation valve onto the cylinder head cover.
Torque: 27 Nm (275 kgf-cm, 20 ft. lbs.)

39. INSTALL OIL DIPSTICK GUIDE
a) Apply a light coat of engine oil to a new O-ring and install it to the dipstick guide.
b) Install the dipstick guide with the bolt.
Torque: 9.0 Nm (92 kgf-cm, 80 inch lbs.)

40. INSTALL CRANKSHAFT POSITION SENSOR
a) Apply a light coat of engine oil to the O-ring on the crankshaft position sensor.

NOTICE: If the O-ring is damaged, replace the crankshaft position sensor.

b) Install the crankshaft position sensor with the bolt.
Torque: 7.5 Nm (76 kgf-cm, 66 inch lbs.)

41. INSTALL OIL FILLER CAP
a) Install a new gasket and the oil filler cap.





42. INSTALL THERMOSTAT
a) Install a new gasket onto the thermostat.
b) Install the thermostat with the jiggle valve facing upward.

HINT: The jiggle valve may be set within 10° on either side as shown in the illustration.





c) Install the water inlet with the 2 nuts.
Torque: 9.0 Nm (92 kgf-cm, 80 inch lbs.)

43. INSTALL SPARK PLUG
a) Using a 16 mm plug wrench, install the 4 spark plugs.
Torque: 18 Nm (184 kgf-cm, 13 ft. lbs.)