Operation CHARM: Car repair manuals for everyone.
Manuals through 2025 now available!

Our trusted friends have launched a new website named LEMON, which has newer manuals. It also contains all the CHARM manuals.

LEMON is the spiritual successor to CHARM, I recommend you try it!

Link: lemon-manuals.la or lemon-manuals.org.ua

(Some people have issue connecting. LEMON is investigating. For now, use Firefox or change your DNS server)

Or, hide this message: temporarily or permanently

Timing Chain: Service and Repair

TIMING CHAIN

COMPONENTS:




COMPONENTS:





REMOVAL
1. DISCONNECT CABLE FROM NEGATIVE BATTERY TERMINAL

CAUTION: Wait at least 90 seconds after disconnecting the cable from the negative (-) battery terminal to prevent airbag and seat belt pretensioner activation.

2. REMOVE FRONT WHEEL RH





3. REMOVE NO. 2 CYLINDER HEAD COVER
a) Remove the 4 nuts and No. 2 cylinder head cover.





4. REMOVE IGNITION COIL
a) Remove the 4 bolts and pull out the 4 ignition coils.





5. REMOVE VENTILATION HOSE
a) Disconnect the ventilation hose from the cylinder head cover.





6. REMOVE NO. 2 VENTILATION HOSE
a) Disconnect the No. 2 ventilation hose from the cylinder head cover.





7. REMOVE CYLINDER HEAD COVER
a) Remove the 9 bolts, 2 nuts and cylinder head cover.
8. REMOVE GENERATOR V BELT
9. REMOVE GENERATOR
10. REMOVE ENGINE UNDER COVER RH
11. DRAIN ENGINE OIL
12. DRAIN ENGINE COOLANT
13. REMOVE VANE PUMP V BELT
14. REMOVE WATER PUMP PULLEY
15. REMOVE WATER PUMP





16. REMOVE CRANKSHAFT PULLEY
a) Set the No. 1 cylinder to the TDC/compression.
1) Turn the crankshaft pulley until its timing notch and the timing mark 0 of the chain cover are aligned.
2) Check that both timing marks on the camshaft timing sprocket and the camshaft timing gear are facing upward as shown in the illustration.
If not, turn the crankshaft 1 complete revolution (360°) and align the marks as above.





b) Using SST, remove the pulley bolt.
SST 09213-58012 (91111-50845), 09330-00021
If necessary, remove the pulley with SST.
SST 09950-50013 (09951-05010, 09952-05010, 09953-05020, 09954-05021)





17. REMOVE CAMSHAFT TIMING OIL CONTROL VALVE ASSEMBLY
a) Disconnect the oil control valve connector.
b) Remove the bolt, oil control valve and O-ring.
18. REMOVE CRANKSHAFT POSITION SENSOR





19. REMOVE ENGINE MOUNTING BRACKET INSULATOR RH
a) Place a wooden block on a jack underneath the engine.





b) Remove the bolt which is used to fix the liquid tube to the mounting insulator RH.
c) Remove the 5 bolts and nut, and then remove the mounting insulator RH.





20. REMOVE ENGINE MOUNTING BRACKET RH
a) Remove the 4 bolts and mounting bracket RH.
21. REMOVE TIMING CHAIN COVER
22. REMOVE OIL PUMP SEAL
23. REMOVE NO. 1 CHAIN TENSIONER
a) Remove the 2 bolts and chain tensioner.





NOTICE:
^ Do not rotate the crankshaft with the chain tensioner removed.
^ When rotating the camshaft with the timing chain removed, rotate the crankshaft counterclockwise 40° from the TDC and align the oil jet hole with the paint mark to prevent the pistons from coming into contact with the valves.

24. REMOVE CHAIN TENSIONER SLIPPER
a) Remove the bolt and tensioner slipper.
25. REMOVE NO. 1 CHAIN VIBRATION DAMPER
a) Remove the 2 bolts and chain vibration damper.
26. REMOVE CHAIN

INSTALLATION
1. INSTALL CHAIN
a) Set the position of the No. 1 cylinder to 20° ATDC.

NOTICE: To prevent the pistons from hitting against valves, these procedures must be performed in this order.

1) Set the crankshaft between 40 to 140° ATDC.
2) Set the cams of the intake and exhaust timing sprockets to 20° ATDC.
3) Reset the crankshaft to 20° ATDC.
b) Install the chain vibration damper with the 2 bolts.
Torque: 9.0 Nm (92 kgf-cm, 80 inch lbs.)





c) Align the timing mark of the camshaft timing sprocket, camshaft timing gear and crankshaft timing sprocket with each mark plate (colored in yellow) of the timing chain.

HINT: To prevent the exhaust camshaft from springing back, turn it using a wrench and set it at the mark on the chain.

d) Install the chain tensioner slipper with the bolt.
Torque: 9.0 Nm (92 kgf-cm, 80 inch lbs.)





e) Install the chain tensioner with the 2 bolts.
1) While rotating the stopper plate of the chain tensioner upward as shown in the illustration, push in the plunger of the tensioner.
2) While rotating the stopper plate of the tensioner downward, insert a 2.5 mm (0.098 inch) diameter bar into the holes of the stopper plate and the tensioner to hold the stopper plate.
3) Install the chain tensioner with the 2 bolts.
Torque: 9.0 Nm (92 kgf-cm, 80 inch lbs.)
4) Remove the bar from the chain tensioner.
f) Check the tension between the intake and exhaust camshaft timing sprockets.
2. INSTALL OIL PUMP SEAL
3. INSTALL TIMING CHAIN COVER
4. INSTALL WATER PUMP





5. INSTALL ENGINE MOUNTING BRACKET RH
a) Install the mounting bracket RH with the 4 bolts.
Torque: 55 Nm (561 kgf-cm, 41 ft. lbs.)





6. INSTALL ENGINE MOUNTING INSULATOR RH
a) Install the mounting insulator with the 5 bolts and nut.
Torque: 45 Nm (459 kgf-cm, 33 ft. lbs.) for bolt A
52 Nm (530 kgf-cm, 38 ft. lbs.) for bolt B and nut
b) Install the liquid tube with the bolt.
Torque: 9.8 Nm (100 kgf-cm, 7 ft. lbs.) for bolt C





7. INSTALL CAMSHAFT TIMING OIL CONTROL VALVE ASSEMBLY
a) Apply a light coat of engine oil to a new O-ring, and install it onto the camshaft timing oil control valve.
b) Install the camshaft timing oil control valve with the bolt.
Torque: 7.5 Nm (76 kgf-cm, 66 inch lbs.)

NOTICE: Be careful not to twist an O-ring.

8. INSTALL CRANKSHAFT POSITION SENSOR
9. INSTALL WATER PUMP PULLEY





10. INSTALL CRANKSHAFT PULLEY
a) Align the pin hole of the crankshaft pulley with the pin position and install the crankshaft pulley.
b) Using SST, install the pulley bolt.
SST 09330-00021, 09213-58012 (91111-50845)
Torque: 128 Nm (1,305 kgf-cm, 95 ft. lbs.)





11. INSTALL CYLINDER HEAD COVER
a) Apply seal packing to the 2 locations shown in the illustration.
Seal packing: Part No. 08826-00080 or equivalent

NOTICE:
^ Remove any oil from the contact surface.
^ Install the cylinder head cover within 3 minutes of applying seal packing.
^ Do not start the engine for at least 2 hours after installation.





b) Install the head cover with the 9 bolts, 2 seal washers and 2 nuts.
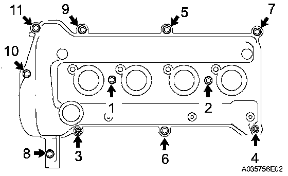
c) Using several steps, uniformly tighten the bolts and nuts in the sequence shown in the illustration.
Torque: 10 Nm (102 kgf-cm, 7 ft. lbs.)





12. CONNECT NO. 2 VENTILATION HOSE
a) Connect the No. 2 ventilation hose to the cylinder head cover.





13. CONNECT VENTILATION HOSE
a) Connect the ventilation hose to the cylinder head cover.





14. INSTALL IGNITION COIL
a) Install the 4 ignition coils with the 4 bolts.
Torque: 9.0 Nm (92 kgf-cm, 80 inch lbs.)





15. INSTALL NO. 2 CYLINDER HEAD COVER
a) First tighten the nuts labeled A, and then tighten the nuts labeled B.
Torque: 7.0 Nm (71 kgf-cm, 62 inch lbs.)

16. INSTALL GENERATOR
17. INSTALL VANE PUMP V BELT
18. INSTALL GENERATOR V BELT
19. ADJUST GENERATOR V BELT
20. ADJUST VANE PUMP V BELT
21. INSPECT DRIVE BELT TENSION
22. INSTALL OIL PAN DRAIN PLUG
a) Install the drain plug with a new gasket.
Torque: 37.5 Nm (383 kgf-cm, 28 ft. lbs.)

23. ADD ENGINE OIL
24. CHECK FOR ENGINE OIL LEAKS
25. ADD COOLANT
26. CHECK FOR ENGINE COOLANT LEAKS
27. CONNECT CABLE TO NEGATIVE BATTERY TERMINAL