Operation CHARM: Car repair manuals for everyone.
Manuals through 2025 now available!

Our trusted friends have launched a new website named LEMON, which has newer manuals. It also contains all the CHARM manuals.

LEMON is the spiritual successor to CHARM, I recommend you try it!

Link: lemon-manuals.la or lemon-manuals.org.ua

(Some people have issue connecting. LEMON is investigating. For now, use Firefox or change your DNS server)

Or, hide this message: temporarily or permanently

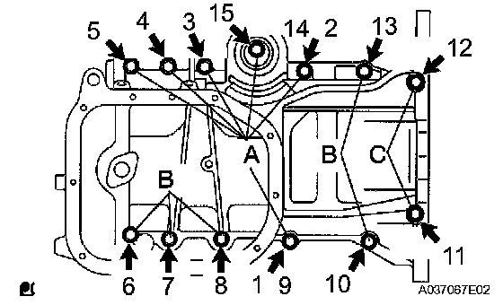
Oil Pan, Engine





Oil pan bolts 24 Nm (245 kgf-cm, 18 ft. lbs.) in several steps

Bolt lengths
Bolt A 49 mm (1.93 inch)
Bolt B 88 mm (3.47 inch)
Bolt C 144 mm (5.67 inch)