Operation CHARM: Car repair manuals for everyone.
Manuals through 2025 now available!

Our trusted friends have launched a new website named LEMON, which has newer manuals. It also contains all the CHARM manuals.

LEMON is the spiritual successor to CHARM, I recommend you try it!

Link: lemon-manuals.la or lemon-manuals.org.ua

(Some people have issue connecting. LEMON is investigating. For now, use Firefox or change your DNS server)

Or, hide this message: temporarily or permanently

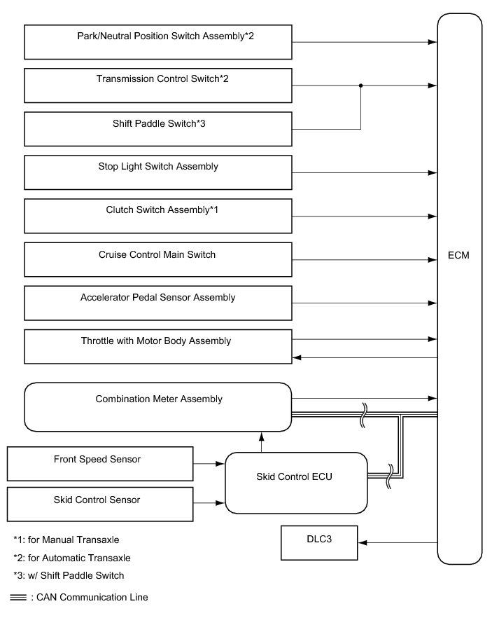
Cruise Control: Description and Operation






CRUISE CONTROL: CRUISE CONTROL SYSTEM: SYSTEM DIAGRAM





Communication Table










SYSTEM DESCRIPTION

1. CRUISE CONTROL SYSTEM

This system is controlled by the ECM and actuated by the throttle with motor body. The ECM controls the following functions: ON-OFF, -SET, +RES, CANCEL, vehicle speed operation, throttle motor output control and shift down control.

* The ECM compares the driving vehicle speed from the vehicle speed sensor with the stored vehicle speed set through the cruise control main switch. The ECM controls the throttle motor of the throttle with motor body to open the valve when the driving speed is less than the stored speed.

* The ECM receives signals, such as ON-OFF, -SET, +RES and CANCEL, from the cruise control main switch and executes the corresponding function.

* The ECM illuminates the cruise control indicator light in the combination meter assembly when it receives the cruise control main switch on signal.

* The ECM illuminates the cruise control SET indicator light in the combination meter assembly when the cruise control system is operated by pushing the cruise control main switch to -SET.

* The ECM cancels cruise control when the brake pedal is depressed and the ECM receives the stop light switch signal.

* for Automatic Transaxle:

The ECM cancels cruise control when the shift lever is moved from D or S to a position other than D or S, when the 3rd, 2nd or 1st range is selected with the shift lever in S, or when the 3rd, 2nd or 1st range is selected using the paddle switches with the shift lever in D.

* for Manual Transaxle:

The ECM cancels cruise control when the clutch pedal is depressed.

2. LIMIT CONTROL

(a) Low speed limit

The lower limit of the speed setting range is set at approximately 40 km/h (25 mph). The cruise control system cannot be set when the driving vehicle speed is below the low speed limit. The cruise control operation will be automatically canceled but the stored vehicle speed will be retained when the vehicle speed decreases below the low speed limit of approximately 40 km/h (25 mph) while cruise control is in operation.

(b) High speed limit

The upper limit of the speed setting range is set at approximately 200 km/h (125 mph). The cruise control system cannot be set when the driving vehicle speed is over the high speed limit. Also, +RES cannot be used to increase speed beyond the high speed limit.

3. OPERATION OF CRUISE CONTROL

The cruise control main switch is used to operate 7 functions: SET, COAST, TAP-DOWN, RES (RESUME), ACCELERATION, TAP-UP and CANCEL. The SET, TAP-DOWN and COAST functions and the RES (RESUME), TAP-UP and ACCELERATION functions are operated with the same switch. The cruise control main switch is an automatic return type switch which turns on only while holding it in each direction and turns off after releasing it.

(a) SET CONTROL

The vehicle speed is stored and constant speed control is initiated when pushing the switch to -SET while driving with the cruise control main switch on (the cruise control indicator light is on) and with the vehicle speed within the set speed range (between the low and high speed limits).

(b) COAST CONTROL

When the cruise control main switch is pushed to -SET and held in that position while the cruise control system is operating, the ECM sends a throttle valve opening angle 0° demand signal to the throttle with motor body. Then, the vehicle speed is stored and maintained when the cruise control main switch is released.

(c) TAP-DOWN CONTROL

When tapping down the cruise control main switch to -SET (for approximately 0.6 seconds) while the cruise control system is in operation, the stored vehicle speed decreases each time by approximately 1.6 km/h (1.0 mph). However, when the difference between the driving and stored vehicle speeds is more than approximately 5 km/h (3 mph), the stored vehicle speed is set to the actual vehicle speed at the moment the cruise control main switch is released from -SET and constant speed control is initiated.

(d) ACCELERATION CONTROL

The throttle motor of the throttle with motor body is instructed by the ECM to open the throttle valve when the cruise control main switch is pushed to +RES and held while the cruise control system is in operation. When the cruise control main switch is released from +RES, the vehicle speed is stored and the vehicle is controlled in order to maintain a constant speed.

(e) TAP-UP CONTROL

When tapping up the cruise control main switch to +RES (for approximately 0.6 seconds) while the cruise control system is in operation, the stored vehicle speed increases each time by approximately 1.6 km/h (1.0 mph). However, when the difference between the driving and the stored vehicle speed is more than approximately 5 km/h (3 mph), the stored vehicle speed will not be changed.

(f) RES (RESUME) CONTROL

If cruise control operation is canceled with the stop light switch, CANCEL switch, etc., and if the driving speed is within the set speed range, pushing the cruise control main switch to +RES restores the vehicle speed memorized at the time of cancellation, and initiates constant speed control.

(g) SHIFT DOWN CONTROL

* Overdrive may be canceled automatically when using cruise control while driving on inclined roads, etc.

* After overdrive is canceled, if the system determines that the road is no longer inclined based on the throttle valve opening amount, overdrive will be restored.

* If overdrive is canceled during an ACCEL or RESUME operation, overdrive will be restored after the ACCEL or RESUME operation is completed.

(h) MANUAL CANCEL CONTROL

Performing any of the following cancels cruise control while the system is operating (the stored vehicle speed in the ECM is maintained).

* Depressing the brake pedal

* Pulling the cruise control main switch to CANCEL

* Driving the vehicle while the vehicle stability control system is operating

* Turning the cruise control main switch off (the stored vehicle speed in the ECM is not maintained)

* for Automatic Transaxle:

Moving the shift lever from D or S to a position other than D or S, selecting the 3rd, 2nd or 1st range with the shift lever in S, or selecting the 3rd, 2nd or 1st range using the paddle switches with the shift lever in D

* for Manual Transaxle:

Depressing the clutch pedal

4. AUTO CANCEL (FAIL-SAFE)

This system has an automatic cancellation function (fail-safe) Fail-Safe Chart.