Operation CHARM: Car repair manuals for everyone.
Manuals through 2025 now available!

Our trusted friends have launched a new website named LEMON, which has newer manuals. It also contains all the CHARM manuals.

LEMON is the spiritual successor to CHARM, I recommend you try it!

Link: lemon-manuals.la or lemon-manuals.org.ua

(Some people have issue connecting. LEMON is investigating. For now, use Firefox or change your DNS server)

Or, hide this message: temporarily or permanently

Removal





2AZ-FE IGNITION: IGNITION COIL AND SPARK PLUG: REMOVAL

1. REMOVE NO. 1 ENGINE COVER SUB-ASSEMBLY





(a) Remove the 2 nuts and engine cover.

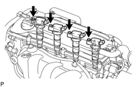
2. REMOVE IGNITION COIL ASSEMBLY





(a) Disconnect the 4 ignition coil connectors.

(b) Remove the 4 bolts and 4 ignition coils.

3. REMOVE SPARK PLUG





(a) Remove the 4 spark plugs.