Operation CHARM: Car repair manuals for everyone.
Manuals through 2025 now available!

Our trusted friends have launched a new website named LEMON, which has newer manuals. It also contains all the CHARM manuals.

LEMON is the spiritual successor to CHARM, I recommend you try it!

Link: lemon-manuals.la or lemon-manuals.org.ua

(Some people have issue connecting. LEMON is investigating. For now, use Firefox or change your DNS server)

Or, hide this message: temporarily or permanently

Installation





WINDSHIELD / WINDOWGLASS: BACK DOOR GLASS: INSTALLATION

1. CLEAN BACK DOOR GLASS





(a) Using a scraper, remove the clips, dam and adhesive sticking to the back door glass.

(b) Clean the outer edge of the back door glass with a non-residue solvent.

NOTICE:
* Do not touch the back door glass surface after cleaning it.
* Even if using a new back door glass, clean the back door glass with a non-residue solvent.

HINT
Since the pin is for positioning the glass, there is no need to replace it with a new one when reusing the glass, even if damaged.

2. CLEAN VEHICLE BODY

(a) Clean and shape the contact surface of the vehicle body.





(1) Using a knife, cut away any rough adhesive on the contact surface of the vehicle body to ensure the appropriate surface shape.

NOTICE:
Do not damage the vehicle body.

HINT
Leave as much adhesive on the vehicle body as possible.

(2) Clean the contact surface of the vehicle body with a shop rag or piece of cloth saturated with cleaner.

HINT
Clean the vehicle body even if all the adhesive has been removed.

3. INSTALL NO. 1 BACK WINDOW GLASS SPACER





(a) Apply Primer G to the installation part of the No. 1 back window glass spacer.

HINT
If primer is applied to an area that is not specified, wipe off the primer with a non-residue solvent before it dries.

(b) Install the new spacer onto the glass as shown in the illustration.

NOTICE:
* Allow the primer to dry for 3 minutes or more.
* Throw away any leftover primer.
* Do not apply too much primer.

4. INSTALL NO. 2 BACK WINDOW GLASS SPACER





(a) Apply Primer G to the installation part of the No. 2 back window glass spacer.

HINT
If primer is applied to an area that is not specified, wipe off the primer with a non-residue solvent before it dries.

(b) Install the new spacer onto the glass as shown in the illustration.

NOTICE:
* Allow the primer to dry for 3 minutes or more.
* Throw away any leftover primer.
* Do not apply too much primer.

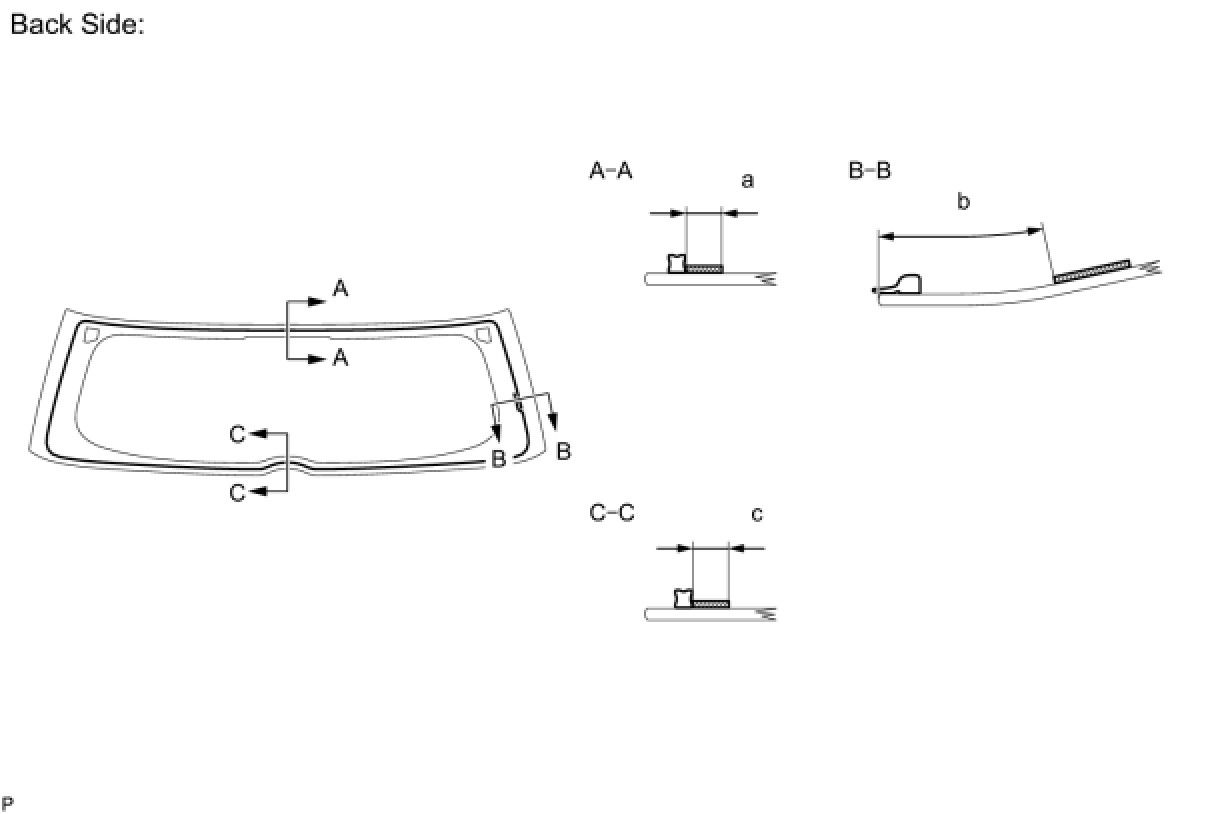
5. INSTALL BACK DOOR GLASS ADHESIVE DAM

(a) Apply Primer G to the installation part of the back door glass adhesive dam.

NOTICE:
* Allow the primer to dry for 3 minutes or more.
* Throw away any leftover primer.
* Do not apply too much primer.

HINT
If primer is applied to an area that is not specified, wipe off the primer with a non-residue solvent before it dries.

(b) Install 2 new back door glass adhesive dams as shown in the illustration.





Specification:





6. INSTALL BACK WINDOW OUTSIDE MOULDING

(a) Apply Primer G to the installation part of the back window outside moulding.

NOTICE:
* Allow the primer to dry for 3 minutes or more.
* Throw away any leftover primer.
* Do not apply too much primer.

HINT
If an area other than that specified is coated by accident, wipe off the primer with a clean piece of cloth before it dries.

(b) Install a new back door glass outside moulding as shown in the illustration.





Specification:





7. INSTALL BACK DOOR GLASS





(a) Position the back door glass.

(1) Using suction cups, place the back door glass in the correct position.

(2) Check that the whole contact surface of the back door glass rim is perfectly even.

(3) Place matchmarks on the back door glass and vehicle body.

NOTICE:
Check that the stoppers are attached to the vehicle body correctly.

HINT
When reusing the back door glass, check and correct the matchmark positions.

(4) Using suction cups, remove the back door glass.

(b) Using a brush, apply Primer M to the exposed part of the vehicle body.





NOTICE:
* Allow the primer to dry for 3 minutes or more.
* Do not apply Primer M to the adhesive.
* Throw away any leftover Primer M.
* Do not apply too much Primer M.

(c) Using a brush or sponge, apply Primer G to the edge of the back door glass and contact surface.





NOTICE:
* Allow the primer to dry for 3 minutes or more.
* Throw away any leftover Primer G.
* Do not apply too much Primer G.

HINT
If Primer G is applied to any areas other than those specified, wipe off the primer with a clean shop rag or piece of cloth before it dries.

Specification:





(d) Apply adhesive.

Adhesive:

Toyota Genuine Windshield Glass Adhesive or equivalent

(1) Cut off the tip of the cartridge nozzle, as shown in the illustration.





HINT
After cutting off the tip, use all adhesive within the time indicated in the table below.

Usage time frame:





(2) Load the sealer gun with the cartridge.

(3) Apply adhesive to the back door glass, as shown in the illustration.





Specification:





(e) Install the back door glass onto the vehicle body.





(1) Using suction cups, position the back door glass so that the matchmarks are aligned. Press it in gently along the rim.

NOTICE:
* Allow the primer to dry for 3 minutes or more.
* Check that the stoppers are attached to the vehicle body correctly.
* Check that the vehicle body and back door glass have a small gap between them.

(2) Gently press the front surface of the back door glass to ensure that the back door glass is securely fitted to the vehicle body.

(3) Using a scraper, remove any excessive or protruding adhesive.





HINT
Apply adhesive onto the back door glass rim.

NOTICE:
Do not to drive the vehicle within the time indicated in the table below.

Minimum time:





8. CHECK FOR LEAKAGE AND REPAIR

(a) After the adhesive has hardened, apply water from the outside of the vehicle. Check that no water leaks into the cabin.

(b) If water leaks into the cabin, allow the water to dry and add adhesive.

(c) Remove the protective tape.

9. INSTALL BACK DOOR TRIM UPPER PANEL ASSEMBLY Installation

10. INSTALL BACK DOOR TRIM BOARD ASSEMBLY Reassembly

11. INSTALL REAR WIPER ARM AND BLADE ASSEMBLY Installation