Operation CHARM: Car repair manuals for everyone.
Manuals through 2025 now available!

Our trusted friends have launched a new website named LEMON, which has newer manuals. It also contains all the CHARM manuals.

LEMON is the spiritual successor to CHARM, I recommend you try it!

Link: lemon-manuals.la or lemon-manuals.org.ua

(Some people have issue connecting. LEMON is investigating. For now, use Firefox or change your DNS server)

Or, hide this message: temporarily or permanently

Engine Unit





1NR-FE ENGINE MECHANICAL: ENGINE UNIT: INSPECTION

1. INSPECT CAMSHAFT TIMING GEAR ASSEMBLY

(a) Install the camshaft timing gear.





(1) Check that the straight pin is installed on the camshaft.

Text in Illustration





(2) Put the camshaft timing gear and camshaft together by aligning the straight pin hole and straight pin.

NOTICE:
* Do not forcefully push in the camshaft timing gear. This may cause the camshaft straight pin tip to damage the installation surface of the camshaft timing gear.
* Do not turn the camshaft timing gear in the retard direction (clockwise).

(3) Tighten the flange bolt with the camshaft timing gear secured in place.

Torque : 54 Nm (551 kgf-cm, 40 ft-lbf)

(b) Check the lock of the camshaft timing gear.

(1) Confirm that the camshaft timing gear is locked.

(c) Release the lock pin.





Text in Illustration





(1) Cover the 4 oil paths of the cam journal with vinyl tape as shown in the illustration.

HINT
There are 4 oil paths in the groove of the camshaft. Plug three of the paths with pieces of rubber.

(2) Prick a hole in the tape placed on the retard side path, on the opposite side to that of the advance side path, as shown in the illustration.

(3) While applying approximately 150 kPa (1.5 kgf/cm2, 22 psi) of air pressure to the oil paths, forcibly turn the camshaft timing gear in the advance direction (counterclockwise).





Text in Illustration





NOTICE:
* Cover the paths with a piece of cloth when applying pressure to keep oil from splashing.
* Do not lock the camshaft timing gear. If it is locked, release the lock pin again.

HINT
* The camshaft timing gear may be turned in the advance direction without applying any force.
* If enough air pressure cannot be applied because of air leaks from the port, releasing the lock pin may be difficult.

(d) Check for smooth rotation.

(1) Turn the camshaft timing gear within its movable range (26.5 to 28.5°) 2 or 3 times, but do not turn it to the most retarded position. Make sure that the gear turns smoothly.

NOTICE:
Do not lock the camshaft timing gear. If it is locked, release the lock pin again.

2. INSPECT CAMSHAFT TIMING EXHAUST GEAR ASSEMBLY

(a) Install the camshaft timing exhaust gear.





(1) Check that the straight pin is installed on the No. 2 camshaft.

Text in Illustration





(2) Put the camshaft timing exhaust gear and No. 2 camshaft together by aligning the straight pin hole and straight pin.

NOTICE:
* Do not forcefully push in the camshaft timing gear. This may cause the camshaft straight pin tip to damage the installation surface of the camshaft timing gear.
* Be sure not to turn the camshaft timing exhaust gear in the retard direction (clockwise).

(3) Tighten the flange bolt with the camshaft timing exhaust gear secured in place.

Torque : 54 Nm (551 kgf-cm, 40 ft-lbf)

(b) Check the camshaft timing exhaust gear lock.

(1) Make sure that the camshaft timing exhaust gear is locked.

(c) Release the lock pin.





Text in Illustration





(1) Cover the 4 oil paths of the cam journal with vinyl tape as shown in the illustration.

HINT
The 4 oil paths are provided in the grooves. Plug 2 paths with rubber pieces.

(2) Prick a hole in the tape placed on the advance side path. Prick a hole in the tape placed on the retard side path, on the opposite side to that of the advance side path, as shown in the illustration.

(3) Apply approximately 200 kPa (2.0 kgf/cm2, 28 psi) of air pressure to the 2 paths (the advance side path and the retard side path).





Text in Illustration





NOTICE:
Cover the paths with a piece of cloth when applying pressure to keep oil from splashing.

(4) Make sure that the camshaft timing exhaust gear turns in the retard direction (clock wise) when reducing the air pressure applied to the advance side path.





Text in Illustration





HINT
The lock pin is released and the camshaft timing exhaust gear turns in the retard direction.

(5) When the camshaft timing exhaust gear moves to the most retarded position, release the air pressure from the advance side path, and then release the air pressure from the retard side path.

NOTICE:
Be sure to release the air pressure from the advance side path first. If the air pressure of the retard side path is released first, the camshaft timing exhaust gear may abruptly shift in the advance direction and break the lock pin or other parts.

(d) Check for smooth rotation.

(1) Turn the camshaft timing exhaust gear within its movable range (19 to 21°) 2 or 3 times, but do not turn it to the most advanced position. Make sure that the gear turns smoothly.

NOTICE:
When the air pressure is released from the advance side path, and then from the retard side path, the gear automatically returns to the most advanced position due to the advance assist spring operation and locks. Gradually release the air pressure from the retard side path before performing the smooth rotation check.

(e) Check the lock at the most advanced position.

(1) Make sure that the camshaft timing exhaust gear is locked at the most advanced position.

3. INSPECT CHAIN SUB-ASSEMBLY

(a) Pull the chain with a force of 147 N (15 kgf, 33.1 lbf) as shown in the illustration.





Text in Illustration





(b) Using a vernier caliper, measure the length of 15 links.

Maximum chain elongation:

114.8 mm (4.519 in.)

HINT
Perform the measurement at 3 random places. Use the average of the measurements.

If the average elongation is greater than the maximum, replace the chain.

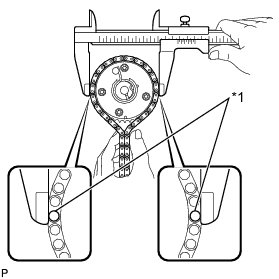
4. INSPECT CAMSHAFT TIMING SPROCKET (for Intake Side)

(a) Place the chain around the camshaft timing gear.





(b) Using a vernier caliper, measure the diameter of the sprocket and chain.

Text in Illustration





Minimum gear diameter (with chain):

96.8 mm (3.811 in.)

HINT
The vernier caliper must be in contact with the chain rollers when measuring.

If the diameter is less than the minimum, replace the chain and camshaft timing gear.

5. INSPECT CAMSHAFT TIMING SPROCKET (for Exhaust Side)

(a) Place the chain around the camshaft timing exhaust gear.





(b) Using a vernier caliper, measure the diameter of the sprocket and chain.

Text in Illustration





Minimum sprocket diameter (with chain):

96.8 mm (3.811 in.)

HINT
The vernier caliper must be in contact with the chain rollers when measuring.

If the diameter is less than the minimum, replace the chain and camshaft timing exhaust gear.

6. INSPECT CRANKSHAFT TIMING SPROCKET

(a) Place the chain around the crankshaft.





(b) Using a vernier caliper, measure the diameter of the sprocket and chain.

Text in Illustration





Minimum gear diameter (with chain):

51.1 mm (2.012 in.)

HINT
The vernier caliper must be in contact with the chain rollers when measuring.

If the diameter is less than the minimum, replace the chain and crankshaft.

7. INSPECT TIMING CHAIN TENSION ARM

(a) Using a vernier caliper, measure the timing chain tension arm wear.





Minimum wear:

1.0 mm (0.0394 in.)

If the wear is less than the minimum, replace the timing chain tension arm.

8. INSPECT TIMING CHAIN GUIDE

(a) Using a vernier caliper, measure the timing chain guide wear.





Minimum wear:

1.0 mm (0.0394 in.)

If the wear is less than the minimum, replace the timing chain guide.

9. INSPECT NO. 2 CHAIN VIBRATION DAMPER

(a) Using a vernier caliper, measure the No. 2 chain vibration damper wear.





Minimum wear:

1.0 mm (0.0394 in.)

If the wear is less than the minimum, replace the No. 2 chain vibration damper.

10. INSPECT NO. 1 CHAIN TENSIONER ASSEMBLY

(a) Check that the plunger moves smoothly when the ratchet pawl is raised by hand.





Text in Illustration





(b) Release the ratchet pawl, and then check that the plunger is locked in place by the ratchet pawl and does not move when pushed by hand.

11. INSPECT CAMSHAFT

(a) Inspect the camshaft for runout.





(1) Place the camshaft on V-blocks.

(2) Using a dial indicator, measure the circle runout at the center journal.

Maximum circle runout:

0.04 mm (0.00157 in.)

If the circle runout is greater than the maximum, replace the camshaft.

(b) Inspect the cam lobes.





(1) Using a micrometer, measure the cam lobe height.

Standard cam lobe height:

41.699 to 41.7989 mm (1.6417 to 1.6456 in.)

Minimum cam lobe height:

41.549 mm (1.6358 in.)

If the cam lobe height is less than the minimum, replace the camshaft.

(c) Inspect the camshaft journals.





(1) Using a micrometer, measure the journal diameter.

Standard Journal Diameter:





If the journal diameter is not as specified, check the camshaft oil clearance.

12. INSPECT NO. 2 CAMSHAFT

(a) Inspect the No. 2 camshaft for runout.





(1) Place the No. 2 camshaft on V-blocks.

(2) Using a dial indicator, measure the circle runout at the center journal.

Maximum circle runout:

0.04 mm (0.00157 in.)

If the circle runout is greater than the maximum, replace the No. 2 camshaft.

(b) Inspect the cam lobes.





(1) Using a micrometer, measure the cam lobe height.

Standard cam lobe height:

41.000 to 41.100 mm (1.6142 to 1.6181 in.)

Minimum cam lobe height:

40.85 mm (1.6083 in.)

If the cam lobe height is less than the minimum, replace the No. 2 camshaft.

(c) Inspect the camshaft journals.





(1) Using a micrometer, measure the journal diameter.

Standard Journal Diameter:





If the journal diameter is not as specified, check the camshaft oil clearance.

13. INSPECT CAMSHAFT THRUST CLEARANCE

(a) Install the camshaft Reassembly.

(b) Install the No. 2 camshaft Reassembly.





(c) Using a dial indicator, measure the thrust clearance while moving the camshaft back and forth.

Standard Thrust Clearance:





Maximum Thrust Clearance:





If the thrust clearance is greater than the maximum, replace the camshaft housing. If the thrust surface is damaged, replace the camshaft.

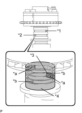
14. INSPECT CAMSHAFT OIL CLEARANCE

(a) Clean the bearing caps and camshaft journals.





(b) Place the camshafts on the camshaft housing.

(c) Lay a strip of Plastigage across each of the camshaft journals.

Text in Illustration





(d) Install the camshaft bearing cap Reassembly.

NOTICE:
Do not turn the camshaft.

(e) Remove the camshaft bearing cap Disassembly.

(f) Measure the Plastigage at its widest point.





Text in Illustration





Standard Oil Clearance:





Maximum Oil Clearance:





NOTICE:
Completely remove the Plastigage after the inspection.

If the oil clearance is greater than the maximum, replace the camshaft. If necessary, replace the camshaft housing.

15. INSPECT CYLINDER HEAD SET BOLT

(a) Using a vernier caliper, measure the length of the cylinder head set bolt from the seat to the end.





Text in Illustration





Standard bolt length:

125.3 to 126.7 mm (4.9331 to 4.9882 in.)

Maximum bolt length:

128.2 mm (5.047 in.)

If the bolt length is greater than the maximum, replace the cylinder head set bolt.

16. INSPECT NO. 1 VALVE ROCKER ARM SUB-ASSEMBLY

(a) Turn the roller by hand to check that it turns smoothly.





HINT
If the roller does not turn smoothly, replace the valve rocker arm.

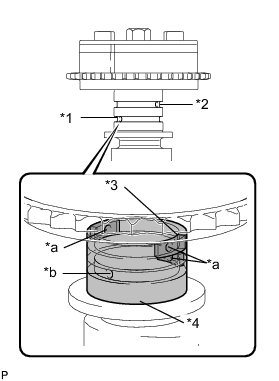
17. INSPECT VALVE LASH ADJUSTER ASSEMBLY





NOTICE:
* Keep the lash adjuster free of dirt and foreign matter.
* Only use clean engine oil.

(a) Place the lash adjuster into a container filled with engine oil.

Text in Illustration





(b) Insert the tip of SST into the lash adjuster plunger and use the tip to press down on the check ball inside the plunger.

SST : 09276-75010

(c) Squeeze SST and the lash adjuster together to move the plunger up and down 5 to 6 times.

(d) Check the movement of the plunger and bleed it.

OK:

Plunger moves up and down.

NOTICE:
When bleeding the high-pressure chamber, make sure that the tip of SST is actually pressing the check ball as shown in the illustration. If the check ball is not pressed, the high-pressure chamber will not be bled.

(e) After bleeding, remove SST. Then, try to quickly and firmly press the plunger by hand.

OK:

Plunger is very difficult to move.

If the result is not as specified, replace the lash adjuster.

18. INSPECT EXHAUST MANIFOLD CONVERTER SUB-ASSEMBLY

(a) Using a straightedge and feeler gauge, measure the warpage on the contact surface of the cylinder head.





Maximum warpage:

1.2 mm (0.0472 in.)

HINT
If the warpage is greater than the maximum, replace the exhaust manifold converter.