Operation CHARM: Car repair manuals for everyone.
Manuals through 2025 now available!

Our trusted friends have launched a new website named LEMON, which has newer manuals. It also contains all the CHARM manuals.

LEMON is the spiritual successor to CHARM, I recommend you try it!

Link: lemon-manuals.la or lemon-manuals.org.ua

(Some people have issue connecting. LEMON is investigating. For now, use Firefox or change your DNS server)

Or, hide this message: temporarily or permanently

System Description





HEATING / AIR CONDITIONING: AIR CONDITIONING SYSTEM: SYSTEM DESCRIPTION

1. GENERAL

The air conditioning system has the following controls:





2. MODE POSITION AND DAMPER OPERATION

(a) Mode Position and Damper Operation









* *: For models with rear footwell register duct

3. AIR OUTLETS AND AIRFLOW VOLUME

(a) Air Outlets and Airflow Volume









* *: For models with rear footwell register duct

HINT
The size of the circle O indicates the proportion of airflow volume.

4. HEATER CONTROL SUB-ASSEMBLY (NO. 1, NO. 2, NO. 3)

(a) A rotary switch type air conditioning control assembly is used.

(b) 5 air outlet modes are provided on the control panel. The switch can also be set to a position between each of these mode settings.





Text in Illustration





(c) A control cable is used. This cable is circular, and is placed around the cable pulleys that are installed on the heater control sub-assembly and damper.





Text in Illustration





5. AIR CONDITIONING RADIATOR ASSEMBLY

(a) The air conditioning unit consists of the No. 1 cooler evaporator sub-assembly, heater radiator unit sub-assembly, No. 1 cooler thermistor, recirculation damper servo sub-assembly and blower assembly.

(b) The No. 1 cooler evaporator sub-assembly and heater radiator unit sub-assembly are housed in the air conditioning unit.





Text in Illustration





(c) A partial recirculation system is used. This system has an air inlet control door (sub) in the cabin side of the air inlet duct. Thus, it is able to cycle a small volume of recirculated air even in fresh mode, thereby enhancing heating performance. When the blower switch is set to position 1 or higher, the suction force of the blower fan opens this air inlet control door (sub).





Text in Illustration





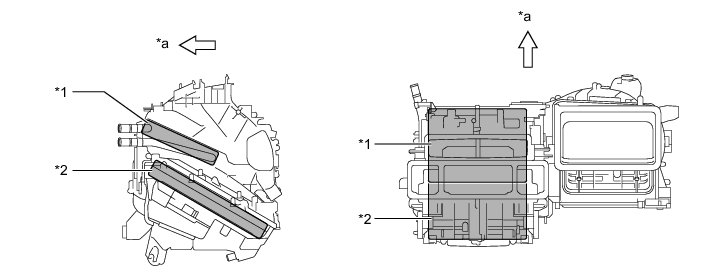
6. NO. 1 COOLER EVAPORATOR SUB-ASSEMBLY

(a) A Revolutionary super-slim Structure (RS) evaporator is used. By placing the tanks at the top and the bottom of the No. 1 cooler evaporator sub-assembly, and by using a micropore tube construction, the following effects have been achieved:

* Heat exchange efficiency is ensured.

* Temperature distribution is made uniform.

* The No. 1 cooler evaporator sub-assembly is made thinner.





Text in Illustration





7. NO. 1 COOLER THERMISTOR

(a) The No. 1 cooler thermistor detects the temperature of the cool air immediately past the No. 1 cooler evaporator sub-assembly in the form of resistance changes, and outputs this temperature to the air conditioning amplifier assembly.

8. HEATER RADIATOR UNIT SUB-ASSEMBLY

(a) This heater radiator unit sub-assembly has been made more compact and performance has been improved by making the core section finer and improving the shapes of the tank section and flow section. Also, by using aluminum, the environmental burden due to disposal (of materials such as lead) has been reduced.





9. BLOWER ASSEMBLY

(a) Strong magnets and ball bearings are used to achieve a compact and lightweight assembly.

10. RECIRCULATION DAMPER SERVO MOTOR SUB-ASSEMBLY

(a) The pulse pattern type servo motor detects the relative position using 2-bit on/off signals.

(b) The forward and reverse revolutions of this motor are detected using 2 phases, A and B, which output 4 types of patterns. The air conditioning amplifier assembly counts the number of pulse patterns in order to determine the stopped position.





11. CONDENSER ASSEMBLY WITH RECEIVER

(a) A sub-cool condenser is used. This is a multi-flow condenser consisting of 3 integrated portions: a condensing portion, a supercooling portion and a gas-liquid separator (modulator). This condenser assembly with receiver uses a sub-cool cycle for its cooling cycle system to improve heat-exchange efficiency.

(b) In the sub-cool cycle, after the refrigerant passes through the condensing portion of the condenser assembly with receiver, both the liquid refrigerant and the gaseous refrigerant that could not be liquefied are cooled again in the supercooling portion. Thus, the refrigerant is sent to the No. 1 cooler evaporator sub-assembly in an almost completely liquefied state.





Text in Illustration





HINT
Air bubbles in the refrigerant of the sub-cool cycle disappear before the system has been filled with the proper amount of refrigerant. Therefore, if the point at which the air bubbles disappear is used as the basis for determining when the system is recharged with the proper amount of refrigerant, the amount of refrigerant will be insufficient. As a result, the cooling performance of the system will be affected. If the system is overcharged with refrigerant, this will also lead to reduced performance. For the proper method of verifying the amount of the refrigerant and to recharge the system with refrigerant Service and Repair.





12. COMPRESSOR ASSEMBLY WITH PULLEY

(a) The compressor assembly with pulley is a continuously variable capacity type compressor with a capacity that varies in accordance with the cooling load of the air conditioning.

(b) The compressor assembly with pulley consists of a pulley, shaft, lug plate, swash plate, piston, shoe, crank chamber, cylinder, solenoid valve, flow sensor, oil separator and variable suction side throttle.

(c) The oil separator consists of an oil separator chamber and an oil separator cylinder.





Text in Illustration





(d) A damper limiter type air conditioning pulley is used. A cylinder-type damper is used for the TSE17C compressor assembly. Torque fluctuations have been suppressed, making an inertia weight unnecessary. As a result, the weight of the compressor assembly has been reduced.





Text in Illustration