Operation CHARM: Car repair manuals for everyone.
Manuals through 2025 now available!

Our trusted friends have launched a new website named LEMON, which has newer manuals. It also contains all the CHARM manuals.

LEMON is the spiritual successor to CHARM, I recommend you try it!

Link: lemon-manuals.la or lemon-manuals.org.ua

(Some people have issue connecting. LEMON is investigating. For now, use Firefox or change your DNS server)

Or, hide this message: temporarily or permanently

Part 2





U760E AUTOMATIC TRANSMISSION / TRANSAXLE: AUTOMATIC TRANSAXLE UNIT: DISASSEMBLY - Continued

35. INSPECT PLANETARY SUN GEAR SUB-ASSEMBLY Transaxle Unit

36. REMOVE INPUT SHAFT SUB-ASSEMBLY

(a) Remove the input shaft sub-assembly from the oil pump assembly.





(b) Remove the thrust needle roller bearing and thrust bearing race from the input shaft.





Text in Illustration





(c) Using a screwdriver, remove the 3 oil seal rings from the input shaft.

37. REMOVE UNDERDRIVE PLANETARY SUN GEAR

(a) Remove the underdrive planetary sun gear from the oil pump assembly.





Text in Illustration





(b) Remove the thrust needle roller bearing from the oil pump assembly.

38. REMOVE NO. 1 BRAKE DISC

(a) Using a screwdriver, remove the 2 snap rings and brake snap ring stopper from the oil pump assembly.





Text in Illustration





(b) Remove the No. 1 brake flange, 3 No. 1 brake discs and 3 No. 1 brake plates from the oil pump assembly.

39. INSPECT NO. 1 BRAKE DISC Transaxle Unit

40. REMOVE 2ND BRAKE PISTON RETURN SPRING SUB-ASSEMBLY

(a) Remove the 3 2nd brake piston return springs from the oil pump assembly.





41. INSPECT 2ND BRAKE PISTON RETURN SPRING SUB-ASSEMBLY Transaxle Unit

42. REMOVE NO. 1 BRAKE PISTON

(a) While holding the oil pump assembly by hand, apply compressed air (392 kPa, 4.0 kgf/cm2, 57 psi) to the oil pump assembly and remove the No. 1 brake piston.





(b) Using a screwdriver, remove the 2 O-rings from the No. 1 brake piston.





43. REMOVE FRONT DIFFERENTIAL CASE

(a) Remove the front differential case from the transaxle case.





44. REMOVE COUNTER DRIVE GEAR NUT

(a) Using SST and a hammer, unstake the counter drive gear nut.





SST : 09930-00010

(b) Turn the manual valve lever shaft counterclockwise to set it to the P position as shown in the illustration.





(c) Using SST, remove the counter drive gear nut from the counter drive gear.





SST : 09387-00130

(d) Turn the manual valve lever shaft 2 notches clockwise to set it to the N position as shown in the illustration.





45. REMOVE COUNTER DRIVEN GEAR

(a) Remove the counter driven gear from the transaxle case.





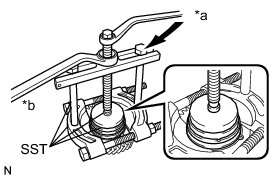
46. REMOVE COUNTER DRIVEN GEAR BEARING RH (INNER RACE)

(a) Using SST, remove the counter driven gear bearing RH (inner race) from the counter driven gear.





SST : 09950-00020

SST : 09950-00030

SST : 09950-40011

09957-04010

SST : 09950-60010

09951-00320

Text in Illustration





47. REMOVE COUNTER DRIVEN GEAR BEARING RH (OUTER RACE)

(a) Using SST, remove the counter driven gear bearing RH (outer race) and shim from the transaxle housing.





SST : 09308-00010

48. REMOVE COUNTER DRIVEN GEAR BEARING LH (INNER RACE)

HINT
If removing the counter driven gear bearing LH (inner race), replace the counter driven gear with a new one.

49. REMOVE COUNTER DRIVEN GEAR BEARING LH (OUTER RACE)

(a) Using SST, remove the counter driven gear bearing LH (outer race) from the transaxle case.





SST : 09308-00010

50. REMOVE PAWL SHAFT CLAMP

(a) Remove the bolt and pawl shaft clamp from the transaxle case.





51. REMOVE NO. 1 TRANSMISSION CASE PLATE

(a) Remove the bolt and No. 1 transmission case plate from the transaxle case.





52. REMOVE PAWL STOPPER PLATE

(a) Remove the 2 bolts and pawl stopper plate from the transaxle case.





53. REMOVE PARKING LOCK SLEEVE

(a) Remove the parking lock sleeve from the transaxle case.





54. REMOVE PARKING LOCK PAWL

(a) Remove the spring, parking lock pawl pin, parking lock pawl shaft and parking lock pawl from the transaxle case.





Text in Illustration





55. REMOVE ONE-WAY CLUTCH ASSEMBLY

(a) Using a screwdriver, remove the snap ring from the transaxle case.





Text in Illustration





NOTICE:
Be careful not to damage the transaxle case.

HINT
Wrap the tip of the screwdriver with tape.

(b) Remove the one-way clutch assembly with the planetary ring gear from the transaxle case.





Text in Illustration





(c) Remove the thrust needle roller bearing from the front planetary gear assembly.

(d) Remove the one-way clutch assembly from the planetary ring gear.





Text in Illustration





(e) Remove the outer race retainer from the one-way clutch assembly.

56. INSPECT ONE-WAY CLUTCH ASSEMBLY Transaxle Unit

57. REMOVE PLANETARY RING GEAR FLANGE

(a) Using a screwdriver, remove the snap ring from the planetary ring gear.





Text in Illustration





(b) Remove the planetary ring gear flange from the planetary ring gear.

58. REMOVE NO. 2 BRAKE DISC

(a) Using a screwdriver, remove the snap ring from the transaxle case.





Text in Illustration





NOTICE:
Be careful not to damage the transaxle case.

HINT
Wrap the tip of the screwdriver with tape.

(b) Remove the No. 2 brake flange, 5 No. 2 brake discs and 5 No. 2 brake plates from the transaxle case.





Text in Illustration





59. INSPECT NO. 2 BRAKE DISC Transaxle Unit

60. REMOVE 1ST AND REVERSE BRAKE RETURN SPRING SUB-ASSEMBLY

(a) Using a screwdriver, remove the snap ring from the transaxle case.





Text in Illustration





NOTICE:
Be careful not to damage the transaxle case.

HINT
Wrap the tip of the screwdriver with tape.

(b) Remove the 1st and reverse brake return spring from the transaxle case.





61. INSPECT 1ST AND REVERSE BRAKE RETURN SPRING SUB-ASSEMBLY Transaxle Unit

62. REMOVE NO. 2 BRAKE PISTON

(a) Apply compressed air (392 kPa, 4.0 kgf/cm2, 57 psi) to the ATF hole and remove the No. 2 brake piston from the transaxle case.





(b) Using a screwdriver, remove the 2 O-rings from the No. 2 brake piston.





63. REMOVE FRONT PLANETARY GEAR ASSEMBLY

(a) Using SST and a press, remove the planetary gear assembly from the transaxle case.





SST : 09950-60010

09951-00580

SST : 09950-70010

09951-07100

64. REMOVE COUNTER DRIVE GEAR

(a) Using SST and a press, remove the counter drive gear and bearing inner race (rear side) from the transaxle case.





SST : 09950-60020

09951-00710

SST : 09950-70010

09951-07100

(b) As shown in the illustration, install 2 bolts and tighten them evenly until there is a clearance of approximately 5.0 mm (0.197 in.) between the counter drive gear and inner race.





(c) Using SST, remove the bearing inner race (front side) from the counter drive gear.





Text in Illustration





SST : 09950-00020

SST : 09950-00030

SST : 09950-40011

09957-04010

SST : 09950-60020

09951-00710

65. REMOVE NO. 3 BRAKE PISTON

(a) Place SST on the brake piston return spring and compress the brake piston return spring with a press.





SST : 09387-00070

(b) Using a screwdriver, remove the snap ring from the transaxle case.

(c) Remove the brake piston return spring from the transaxle case.





Text in Illustration





(d) Remove the No. 3 brake piston from the transaxle case.





Text in Illustration





(e) Using a screwdriver, remove the 2 O-rings from the No. 3 brake piston.





66. INSPECT NO. 3 BRAKE PISTON RETURN SPRING SUB-ASSEMBLY Transaxle Unit

67. REMOVE MANUAL DETENT SPRING SUB-ASSEMBLY

(a) Remove the bolt, manual detent spring cover and manual detent spring from the transaxle case.





68. REMOVE PARKING LOCK ROD SUB-ASSEMBLY

(a) Remove the parking lock rod from the manual valve lever shaft.





HINT
Align the slot with the notches on the manual valve lever shaft to remove the parking lock rod.

69. REMOVE MANUAL VALVE LEVER SHAFT SUB-ASSEMBLY

(a) Using needle-nose pliers, remove the manual valve lever shaft retainer spring from the transaxle case.





(b) Remove the manual valve lever shaft from the transaxle case.





70. REMOVE MANUAL VALVE LEVER SHAFT OIL SEAL

(a) Using a screwdriver, remove the manual valve lever shaft oil seal from the transaxle case.





Text in Illustration





NOTICE:
Be careful not to damage the transaxle case.

HINT
Wrap the tip of the screwdriver with the tape.