Operation CHARM: Car repair manuals for everyone.
Manuals through 2025 now available!

Our trusted friends have launched a new website named LEMON, which has newer manuals. It also contains all the CHARM manuals.

LEMON is the spiritual successor to CHARM, I recommend you try it!

Link: lemon-manuals.la or lemon-manuals.org.ua

(Some people have issue connecting. LEMON is investigating. For now, use Firefox or change your DNS server)

Or, hide this message: temporarily or permanently

Installation





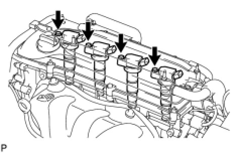
2AZ-FE IGNITION: IGNITION COIL AND SPARK PLUG: INSTALLATION

1. INSTALL SPARK PLUG





(a) Install the 4 spark plugs.

Torque : 19 Nm (194 kgf-cm, 14 ft-lbf)

2. INSTALL IGNITION COIL ASSEMBLY





(a) Install the 4 ignition coils with the 4 bolts.

Torque : 9.0 Nm (92 kgf-cm, 80 in-lbf)

(b) Connect the 4 ignition coil connectors.

3. INSPECT IGNITION TIMING On-Vehicle Inspection

4. INSTALL NO. 1 ENGINE COVER SUB-ASSEMBLY





(a) Install the engine cover with the 2 nuts.

Torque : 9.0 Nm (92 kgf-cm, 80 in-lbf)