Operation CHARM: Car repair manuals for everyone.
Manuals through 2025 now available!

Our trusted friends have launched a new website named LEMON, which has newer manuals. It also contains all the CHARM manuals.

LEMON is the spiritual successor to CHARM, I recommend you try it!

Link: lemon-manuals.la or lemon-manuals.org.ua

(Some people have issue connecting. LEMON is investigating. For now, use Firefox or change your DNS server)

Or, hide this message: temporarily or permanently

Ignition Relay: Testing and Inspection





2AZ-FE ENGINE CONTROL SYSTEM: IGNITION RELAY NO. 1: ON-VEHICLE INSPECTION

1. REMOVE INSTRUMENT PANEL FINISH LOWER PANEL SUB-ASSEMBLY Removal

2. REMOVE NO. 1 IGNITION RELAY





(a) Remove the No. 1 ignition relay.

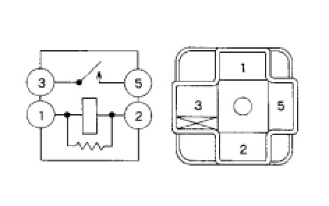
3. INSPECT NO. 1 IGNITION RELAY

(a) Measure resistance of the No. 1 ignition relay.





Standard resistance:





If the result is not as specified, replace the relay.

4. INSTALL NO. 1 IGNITION RELAY

(a) Install the No. 1 ignition relay.

5. INSTALL INSTRUMENT PANEL FINISH LOWER PANEL SUB-ASSEMBLY Installation